Vítejte na Elektro Bastlírn?
Nuke - Elektro Bastlirna
  Vytvořit účet Hlavní · Fórum · DDump · Profil · Zprávy · Hledat na fóru · Příspěvky na provoz EB

Vlákno na téma KORONAVIRUS - nutná registrace


Nuke - Elektro Bastlirna: Diskuzní fórum

 FAQFAQ   HledatHledat   Uživatelské skupinyUživatelské skupiny   ProfilProfil   Soukromé zprávySoukromé zprávy   PřihlášeníPřihlášení 

Otočný volič 110/220V Tesla

 
Přidat nové téma   Zaslat odpověď       Obsah fóra Diskuzní fórum Elektro Bastlírny -> Poradna
Zobrazit předchozí téma :: Zobrazit následující téma  
Autor Zpráva
Celeron



Založen: Apr 02, 2011
Příspěvky: 20126
Bydliště: Nový Bydžov

PříspěvekZaslal: st únor 28 2024, 0:27    Předmět: Otočný volič 110/220V Tesla Citovat

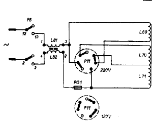
Mám tady Teslácký trafo na C a vícecívkovým primárem. Určitě to mělo kdysi otočnej volič 110/220V. Princip je jasnej, na 110V jsou cívky primáru paralelně a na 220V sériově. Jenže to trafo má jednu samostatnou cívku a druhá má odbočku na 4/5 celkovýho odporu. Jak se tohle zapojí, když navíc není jasnej počátek a konec vinutí? Odporově ani indukčností ty cívky moc podobný nejsou. Nechci obnovovat ten volič, jen propojit na 230V.
Už jsem se s něčím podobným potýkal, tam to bylo mnohem složitější, asi pro volič na několik napětí. Jedna cívka měla odbočku a druhá dokonce odbočky dvě. Ale bylo to popsaný číslama s indexama, tak se daly snadno vysledovat počátky a konce cívek. Tam jsem zapojení vykoumal napájením střídavinou přes sekundár.
Ale tady u toho to nejde, na trafu je z obou stran přímo na vývody připájená deska plošáku s usměrněním, filtrací, pojistkama a tyristorovejma vyhazovačema pojistek a dalším smetím. No a když na primáru zapojím něco blbě, tak bude na těch plošákách nejspíš z něčeho odcházet čmoud.

_________________
Jirka

Proč mi nemůže všechno chodit hned ?!!
Návrat nahoru
Zobrazit informace o autorovi Odeslat soukromou zprávu
Zaky



Založen: Oct 30, 2010
Příspěvky: 6985
Bydliště: Praha

PříspěvekZaslal: st únor 28 2024, 1:09    Předmět: Citovat

Vezmi si nějaké jiné tráfko, vytáhni z něj nějaké malé AC napětí, omez ho žárovkou, pusť ho do nějakého vinutí toho tvého trafa, neznámá vinutí propojuj a měř. Až dojdeš k pravděpodobně správnému řešení, připoj to zase přes žárovku, lépe to najeď řegulačním trafem, nemáš-li, tak holt rovnou na síť. I tak to v případě omylu ta žárovka velmi pravděpodobně zahořet nenechá.
_________________
Krátce před tím, než se to rozbilo, tak to ještě fungovalo...
Návrat nahoru
Zobrazit informace o autorovi Odeslat soukromou zprávu
barnodaj



Založen: Apr 16, 2011
Příspěvky: 976
Bydliště: Vodňansko

PříspěvekZaslal: st únor 28 2024, 8:49    Předmět: Citovat

Volič byl pravděpodobně 120/220/237V, odpor každého vinutí i když jsou na stejné napětí, bude jiný, cívka blíže ke střednímu sloupku má menší délku závitů a tudíž i menší celkovou délku vodiče a tím i menší odpor. A s indukčností to bude podobné.

Možností je více:



Volič.png
 Komentář:
 Velikost:  7.33 kB
 Zobrazeno:  62 krát

Volič.png


Návrat nahoru
Zobrazit informace o autorovi Odeslat soukromou zprávu
Celeron



Založen: Apr 02, 2011
Příspěvky: 20126
Bydliště: Nový Bydžov

PříspěvekZaslal: st únor 28 2024, 10:03    Předmět: Citovat

Zaky napsal(a):
Vezmi si nějaké jiné tráfko, vytáhni z něj nějaké malé AC napětí...

Jasně, takhle jsem to dělal u toho složitějšího trafa se sedmi vývody. Jenže jak jsem psal, tady u toho je přímo na vývodní kolíky cívek primáru a sekundáru napájenej plošák s kupou polovodičů. A kdybych chtěl ten plošák sundat, tak odpájet kupu přívodů k cívkám a odvrtat nejty za který to drží.
Snad to dám podle barnodaj malůvky dohromady.
Ještě k těm počátkům a koncům primáru. Předpokládám, že by se indukčnost při správným zapojení cívek do série měla sčítat, ano nebo ne?
Ta žárovka to jistí.
Díky!

_________________
Jirka

Proč mi nemůže všechno chodit hned ?!!
Návrat nahoru
Zobrazit informace o autorovi Odeslat soukromou zprávu
Celeron



Založen: Apr 02, 2011
Příspěvky: 20126
Bydliště: Nový Bydžov

PříspěvekZaslal: st únor 28 2024, 10:18    Předmět: Citovat

barnodaj napsal(a):
Volič byl pravděpodobně 120/220/237V

Jo, už je to jasný. Pokud to je trafo 120/220V, tak na 120V mají obě cívky stejnej počet závitů. A aby bylo při přepnutí na 220V na sekundáru stejný napětí, tak se muselo na jedný cívce odbočkou 20V ubrat. Dnes, když je skoro všude 235-240V, už je to zbytečný, takže zapojit obě cívky v sérii a odbočku zrušit.

_________________
Jirka

Proč mi nemůže všechno chodit hned ?!!
Návrat nahoru
Zobrazit informace o autorovi Odeslat soukromou zprávu
Zaky



Založen: Oct 30, 2010
Příspěvky: 6985
Bydliště: Praha

PříspěvekZaslal: st únor 28 2024, 10:20    Předmět: Citovat

Když tam pustíš malé napětí, tak je nějaká deska s polovodiči šumafuk, klidně ji tam nechej a měř s ní. Napětí pusť prostě do vinutí, ke kterému se dostaneš.
_________________
Krátce před tím, než se to rozbilo, tak to ještě fungovalo...
Návrat nahoru
Zobrazit informace o autorovi Odeslat soukromou zprávu
barnodaj



Založen: Apr 16, 2011
Příspěvky: 976
Bydliště: Vodňansko

PříspěvekZaslal: st únor 28 2024, 10:24    Předmět: Citovat

Dvě cívky na stejném jádře, se stejnou indukčností, budou mít při zapojení do série (samozřejmě správně - začátky a konce) čtyřnásobnou indukčnost!

(Ověřil jsem si to právě - měřením - na dvojité odrušovací tlumivce Tesla WN 682 18 2x2,5mH.)
Návrat nahoru
Zobrazit informace o autorovi Odeslat soukromou zprávu
samponek



Založen: May 11, 2015
Příspěvky: 3907

PříspěvekZaslal: st únor 28 2024, 11:30    Předmět: Citovat

Protože indukčnost je vždycky Al x N2 a tím se každým zdvojnásobením závitů zvětší 4x a se zdvonásobením jádra se zvětší jenom 2x.
Návrat nahoru
Zobrazit informace o autorovi Odeslat soukromou zprávu
danhard



Založen: Mar 05, 2007
Příspěvky: 6461
Bydliště: Jesenice u Prahy

PříspěvekZaslal: st únor 28 2024, 12:57    Předmět: Citovat

Proč do toho motáte indukčnost ?
Návrat nahoru
Zobrazit informace o autorovi Odeslat soukromou zprávu Odeslat e-mail
barnodaj



Založen: Apr 16, 2011
Příspěvky: 976
Bydliště: Vodňansko

PříspěvekZaslal: st únor 28 2024, 13:03    Předmět: Citovat

Když si přečteš celý první i druhý příspěvek tazatele, tak na to přijdeš možná sám a bez cizí pomoci?!!!
Návrat nahoru
Zobrazit informace o autorovi Odeslat soukromou zprávu
danhard



Založen: Mar 05, 2007
Příspěvky: 6461
Bydliště: Jesenice u Prahy

PříspěvekZaslal: st únor 28 2024, 13:48    Předmět: Citovat

A když zapojíš ty cívky do serie a jednu obráceně orientovanou, tak to má indukčnost rozptylovou.
Na to ale nepotřebuje nic měřit, na to mu stačí síťová žárovka do serie, která pak svítí na plno.

Kdybyste tomu trochu rozuměli, tak nepíšete nejasný nesmysly :roll

samponek napsal(a):
Protože indukčnost je vždycky Al x N2 a tím se každým zdvojnásobením závitů zvětší 4x a se zdvonásobením jádra se zvětší jenom 2x.
Návrat nahoru
Zobrazit informace o autorovi Odeslat soukromou zprávu Odeslat e-mail
BOBOBO
Doporučuje se dohled moderátorů


Založen: Feb 25, 2008
Příspěvky: 20531
Bydliště: Rychnovsko

PříspěvekZaslal: st únor 28 2024, 16:09    Předmět: Citovat

Jo , jak píše danhard . Vůbec netuším tu vědu . Jistě žě se vše dobře zapojené sečte i odečte . Rolling Eyes
Návrat nahoru
Zobrazit informace o autorovi Odeslat soukromou zprávu
samponek



Založen: May 11, 2015
Příspěvky: 3907

PříspěvekZaslal: st únor 28 2024, 18:52    Předmět: Citovat

Stejně se indukčnost zdvojnásobením závitů zvětší 4x, protože ALxN2.
Návrat nahoru
Zobrazit informace o autorovi Odeslat soukromou zprávu
BOBOBO
Doporučuje se dohled moderátorů


Založen: Feb 25, 2008
Příspěvky: 20531
Bydliště: Rychnovsko

PříspěvekZaslal: st únor 28 2024, 19:52    Předmět: Citovat

Ale šampí , zde jde o trafo .
Návrat nahoru
Zobrazit informace o autorovi Odeslat soukromou zprávu
samponek



Založen: May 11, 2015
Příspěvky: 3907

PříspěvekZaslal: st únor 28 2024, 20:22    Předmět: Citovat

Celeron napsal(a):

Předpokládám, že by se indukčnost při správným zapojení cívek do série měla sčítat, ano nebo ne?
Díky!


Nesčítá, ale zvětšuje 4x když mají cívky stejně závitů, nebo narůstá s druhou mocnimou závitů, když má trafo například 2 vinutí po 110V a každé má třeba 1H, tak při zapojení do série mají 4H.
Ani neodčítá, vždycky platí AL x N2 a to co zbyde je rozptylová.
Návrat nahoru
Zobrazit informace o autorovi Odeslat soukromou zprávu
Zobrazit příspěvky z předchozích:   
Přidat nové téma   Zaslat odpověď       Obsah fóra Diskuzní fórum Elektro Bastlírny -> Poradna Časy uváděny v GMT + 1 hodina
Strana 1 z 1

 
Přejdi na:  
Nemůžete odesílat nové téma do tohoto fóra.
Nemůžete odpovídat na témata v tomto fóru.
Nemůžete upravovat své příspěvky v tomto fóru.
Nemůžete mazat své příspěvky v tomto fóru.
Nemůžete hlasovat v tomto fóru.
Nemůžete připojovat soubory k příspěvkům
Můžete stahovat a prohlížet přiložené soubory

Powered by phpBB © 2001, 2005 phpBB Group
Forums ©
Nuke - Elektro Bastlirna

Informace na portálu Elektro bastlírny jsou prezentovány za účelem vzdělání čtenářů a rozšíření zájmu o elektroniku. Autoři článků na serveru neberou žádnou zodpovědnost za škody vzniklé těmito zapojeními. Rovněž neberou žádnou odpovědnost za případnou újmu na zdraví vzniklou úrazem elektrickým proudem. Autoři a správci těchto stránek nepřejímají záruku za správnost zveřejněných materiálů. Předkládané informace a zapojení jsou zveřejněny bez ohledu na případné patenty třetích osob. Nároky na odškodnění na základě změn, chyb nebo vynechání jsou zásadně vyloučeny. Všechny registrované nebo jiné obchodní známky zde použité jsou majetkem jejich vlastníků. Uvedením nejsou zpochybněna z toho vyplývající vlastnická práva. Použití konstrukcí v rozporu se zákonem je přísně zakázáno. Vzhledem k tomu, že původ předkládaných materiálů nelze žádným způsobem dohledat, nelze je použít pro komerční účely! Tento nekomerční server nemá z uvedených zapojení či konstrukcí žádný zisk. Nezodpovídáme za pravost předkládaných materiálů třetími osobami a jejich původ. V případě, že zjistíte porušení autorského práva či jiné nesrovnalosti, kontaktujte administrátory na diskuzním fóru EB.


PHP-Nuke Copyright © 2005 by Francisco Burzi. This is free software, and you may redistribute it under the GPL. PHP-Nuke comes with absolutely no warranty, for details, see the license.
Čas potřebný ke zpracování stránky 0.16 sekund