Vítejte na Elektro Bastlírn?
Nuke - Elektro Bastlirna
  Vytvořit účet Hlavní · Fórum · DDump · Profil · Zprávy · Hledat na fóru · Příspěvky na provoz EB

Vlákno na téma KORONAVIRUS - nutná registrace


Nuke - Elektro Bastlirna: Diskuzní fórum

 FAQFAQ   HledatHledat   Uživatelské skupinyUživatelské skupiny   ProfilProfil   Soukromé zprávySoukromé zprávy   PřihlášeníPřihlášení 

Triakový regulátor, úprava súčiastok
Jdi na stránku Předchozí  1, 2, 3, 4, 5, 6
 
Přidat nové téma   Zaslat odpověď       Obsah fóra Diskuzní fórum Elektro Bastlírny -> Řešení problémů s různými konstrukcemi
Zobrazit předchozí téma :: Zobrazit následující téma  
Autor Zpráva
780529



Založen: Sep 11, 2007
Příspěvky: 131

PříspěvekZaslal: po leden 23 2012, 6:38    Předmět: Citovat

Robil som to podľa priloženej schémy a nerobí to nič, len elektromotor, alebo žiarovka idú stále naplno. Triaky KT 728/600-800V som skúšal asi 4 a stále nič.


triakový regulator.jpg
 Komentář:

Stáhnout
 Soubor:  triakový regulator.jpg
 Velikost:  105.58 kB
 Staženo:  193 krát

Návrat nahoru
Zobrazit informace o autorovi Odeslat soukromou zprávu
Atlan



Založen: May 10, 2004
Příspěvky: 4514
Bydliště: Košice

PříspěvekZaslal: po leden 23 2012, 6:47    Předmět: Citovat

Blbo opajcovane 100n ma ist na vyvod 6 vyhlsdenie napajania..... Ach jo. Pozri datasheet. Nejake schematko regulacie cez trafo je tu. http://hellweb.loose.cz/index.php?page=school&subpage=elt_plus&id=5
Návrat nahoru
Zobrazit informace o autorovi Odeslat soukromou zprávu
masar



Založen: Dec 03, 2005
Příspěvky: 13853

PříspěvekZaslal: po leden 23 2012, 9:45    Předmět: Citovat

Ano, špatně nakreslené schema. Kondenzátor č.2 přepoj z pinu 3 na pin 6. Wink
>Atlan - vyhlazení napájení není účelem tohoto kondenzátoru, ale shromáždění dostatečného náboje pro otevírací impulzy. Wink
Návrat nahoru
Zobrazit informace o autorovi Odeslat soukromou zprávu Odeslat e-mail
milan222



Založen: Jul 20, 2009
Příspěvky: 1460
Bydliště: trutnov

PříspěvekZaslal: po leden 23 2012, 9:53    Předmět: Citovat

masar napsal(a):
Ano, špatně nakreslené schema. Kondenzátor č.2 přepoj z pinu 3 na pin 6. Wink
>Atlan - vyhlazení napájení není účelem tohoto kondenzátoru, ale shromáždění dostatečného náboje pro otevírací impulzy. Wink

no jánto hodil na vývod 6 a funguje to. to schema v originále jsem nezkoušel

_________________
bez elektronek se neobejdu!
muj lampovej zesik: http://www.youtube.com/watch?v=KxOvbN_5xiY
Návrat nahoru
Zobrazit informace o autorovi Odeslat soukromou zprávu
Atlan



Založen: May 10, 2004
Příspěvky: 4514
Bydliště: Košice

PříspěvekZaslal: po leden 23 2012, 11:06    Předmět: Citovat

Embarassed jj mas pravdu.
Návrat nahoru
Zobrazit informace o autorovi Odeslat soukromou zprávu
zvaty



Založen: Nov 08, 2006
Příspěvky: 1223
Bydliště: Šumperk

PříspěvekZaslal: po prosinec 30 2024, 19:27    Předmět: Citovat

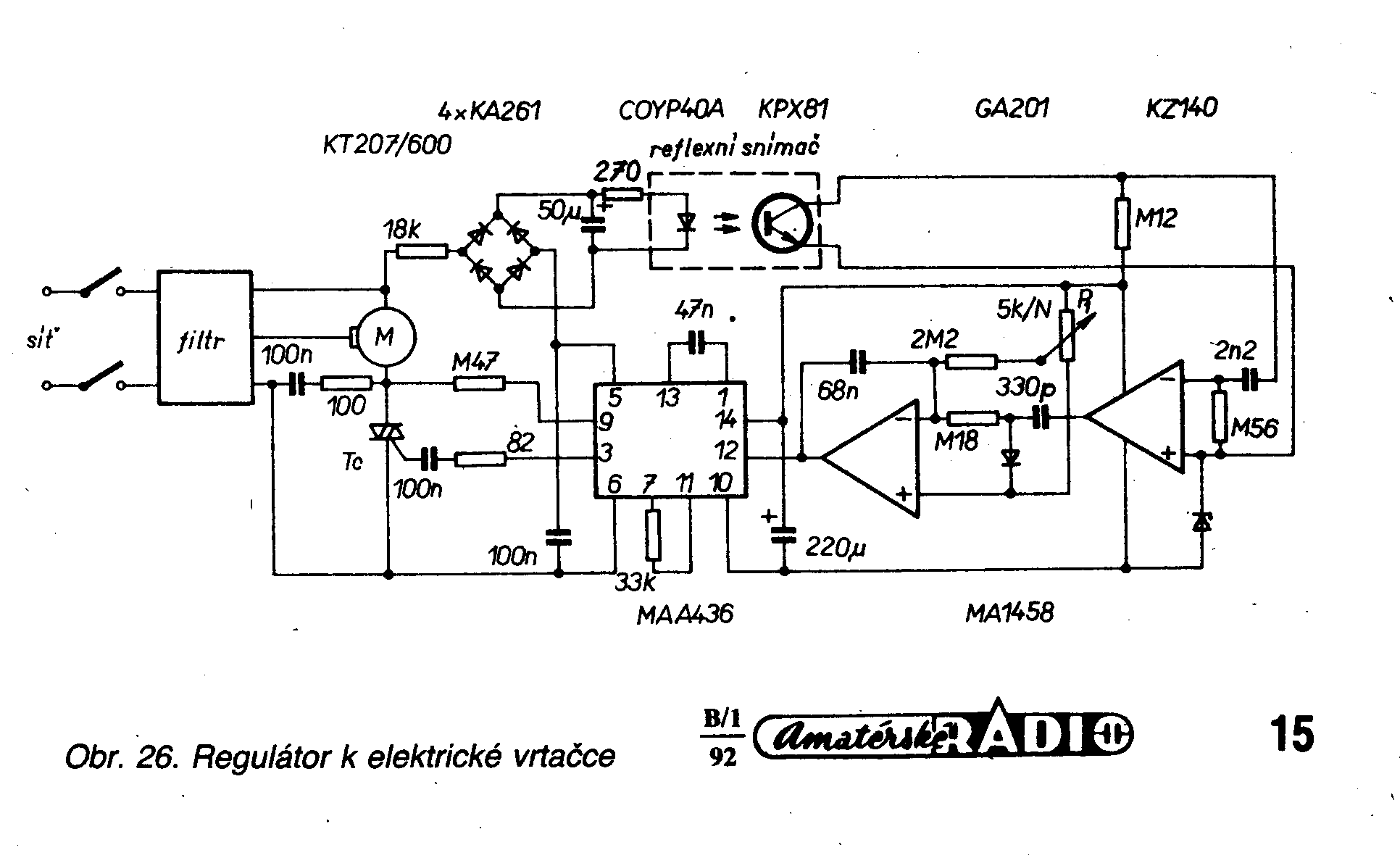
Zdravím, nemáte někdo zapojení triakové regulace s MAA436 -ale se zpětnou vazbou. Potřebuji univerzální (seriový) motor z pračky provozovat na stálých otáčkách při změně zátěže/momentu. Motor je vybaven snímačem, který s rostoucí rychlostí generuje pulzy o vyšší frekvenci. Mirně narústá i napětí, ale nemyslím si, že snímač je tachodynamo. díky
Návrat nahoru
Zobrazit informace o autorovi Odeslat soukromou zprávu Odeslat e-mail
EKKAR



Založen: Mar 16, 2005
Příspěvky: 34786
Bydliště: Česká Třebová, JN89FW21

PříspěvekZaslal: po prosinec 30 2024, 23:16    Předmět: Citovat

Tohle bylo v jednom Amáru někdy z 80.let - regulátor vrtačky pro stálý otáčky i při změně zatížení. Ale už si z hlavy nevybavím, jestli tam byl triak nebo tyristor a čím to bylo řízený, jestli MAA436 nebo nějakýma diskrétně poskládanýma obvodama. Snímání otáček ze sklíčidla ale bylo tutově bezkontaktní = optikou, odrazným snímačem s kouskem lesklý nálepky na sklíčidle.
_________________
Nasliněný prst na svorkovnici domovního rozvaděče: Jó, paninko, máte tam ty Voltíky všecky...
A kutilmile - nelituju tě Mr. Green Mr. Green !!!
Návrat nahoru
Zobrazit informace o autorovi Odeslat soukromou zprávu Odeslat e-mail
BOBOBO
Doporučuje se dohled moderátorů


Založen: Feb 25, 2008
Příspěvky: 20489
Bydliště: Rychnovsko

PříspěvekZaslal: út prosinec 31 2024, 7:24    Předmět: Citovat

Tohle lze nalézt rychle , je to na obálce modrého , ale jestli je to 436ka netuším , myslím , že ne .
Návrat nahoru
Zobrazit informace o autorovi Odeslat soukromou zprávu
patrikvarga



Založen: Apr 24, 2007
Příspěvky: 1270

PříspěvekZaslal: út prosinec 31 2024, 8:04    Předmět: Citovat

AR 08/84. Bolo aj niečo podobné len miesto tranzistorov bol MAA1458.


AR 08 84.gif
 Komentář:
 Velikost:  94.56 kB
 Zobrazeno:  80 krát

AR 08 84.gif



REG1.gif
 Komentář:
 Velikost:  51.43 kB
 Zobrazeno:  51 krát

REG1.gif



REG2.gif
 Komentář:
 Velikost:  34.77 kB
 Zobrazeno:  56 krát

REG2.gif


Návrat nahoru
Zobrazit informace o autorovi Odeslat soukromou zprávu
zvaty



Založen: Nov 08, 2006
Příspěvky: 1223
Bydliště: Šumperk

PříspěvekZaslal: út prosinec 31 2024, 9:58    Předmět: Citovat

Snímání s optikou jsem našel, ale potřebuji využít snímač na motoru. Ten je s PMG
Návrat nahoru
Zobrazit informace o autorovi Odeslat soukromou zprávu Odeslat e-mail
patrikvarga



Založen: Apr 24, 2007
Příspěvky: 1270

PříspěvekZaslal: út prosinec 31 2024, 10:35    Předmět: Citovat

Upraviť si to už musíš sam. napr. namiesto optotranzistora zapoj výstup z PMG.
Návrat nahoru
Zobrazit informace o autorovi Odeslat soukromou zprávu
Zobrazit příspěvky z předchozích:   
Přidat nové téma   Zaslat odpověď       Obsah fóra Diskuzní fórum Elektro Bastlírny -> Řešení problémů s různými konstrukcemi Časy uváděny v GMT + 1 hodina
Jdi na stránku Předchozí  1, 2, 3, 4, 5, 6
Strana 6 z 6

 
Přejdi na:  
Nemůžete odesílat nové téma do tohoto fóra.
Nemůžete odpovídat na témata v tomto fóru.
Nemůžete upravovat své příspěvky v tomto fóru.
Nemůžete mazat své příspěvky v tomto fóru.
Nemůžete hlasovat v tomto fóru.
Nemůžete připojovat soubory k příspěvkům
Můžete stahovat a prohlížet přiložené soubory

Powered by phpBB © 2001, 2005 phpBB Group
Forums ©
Nuke - Elektro Bastlirna

Informace na portálu Elektro bastlírny jsou prezentovány za účelem vzdělání čtenářů a rozšíření zájmu o elektroniku. Autoři článků na serveru neberou žádnou zodpovědnost za škody vzniklé těmito zapojeními. Rovněž neberou žádnou odpovědnost za případnou újmu na zdraví vzniklou úrazem elektrickým proudem. Autoři a správci těchto stránek nepřejímají záruku za správnost zveřejněných materiálů. Předkládané informace a zapojení jsou zveřejněny bez ohledu na případné patenty třetích osob. Nároky na odškodnění na základě změn, chyb nebo vynechání jsou zásadně vyloučeny. Všechny registrované nebo jiné obchodní známky zde použité jsou majetkem jejich vlastníků. Uvedením nejsou zpochybněna z toho vyplývající vlastnická práva. Použití konstrukcí v rozporu se zákonem je přísně zakázáno. Vzhledem k tomu, že původ předkládaných materiálů nelze žádným způsobem dohledat, nelze je použít pro komerční účely! Tento nekomerční server nemá z uvedených zapojení či konstrukcí žádný zisk. Nezodpovídáme za pravost předkládaných materiálů třetími osobami a jejich původ. V případě, že zjistíte porušení autorského práva či jiné nesrovnalosti, kontaktujte administrátory na diskuzním fóru EB.


PHP-Nuke Copyright © 2005 by Francisco Burzi. This is free software, and you may redistribute it under the GPL. PHP-Nuke comes with absolutely no warranty, for details, see the license.
Čas potřebný ke zpracování stránky 0.35 sekund