Vítejte na Elektro Bastlírn?
Nuke - Elektro Bastlirna
  Vytvořit účet Hlavní · Fórum · DDump · Profil · Zprávy · Hledat na fóru · Příspěvky na provoz EB

Vlákno na téma KORONAVIRUS - nutná registrace


Nuke - Elektro Bastlirna: Diskuzní fórum

 FAQFAQ   HledatHledat   Uživatelské skupinyUživatelské skupiny   ProfilProfil   Soukromé zprávySoukromé zprávy   PřihlášeníPřihlášení 

Blbne stereodekodér UL1611 (Tesla synkopa)
Jdi na stránku 1, 2  Další
 
Přidat nové téma   Zaslat odpověď       Obsah fóra Diskuzní fórum Elektro Bastlírny -> Audiotechnika
Zobrazit předchozí téma :: Zobrazit následující téma  
Autor Zpráva
Osmdesat



Založen: Jan 19, 2016
Příspěvky: 1536
Bydliště: Liberecko

PříspěvekZaslal: so listopad 27 2021, 20:32    Předmět: Blbne stereodekodér UL1611 (Tesla synkopa) Citovat

Zničehožnic mi zeslábl pravý kanál. Zjistil jsem, že slabé to leze už z pinu 6 UL1611. Slabý je při monu i stereu. Je IO vadný, nebo je možné, že se něco porouchalo v pasivních součástkách okolo IO?
(Ty odpory R159/161 jsou zpětná vazba ovlivňující zesílení výstupu? Treba je chyba tam...)



synkopa.png
 Komentář:
 Velikost:  22.71 kB
 Zobrazeno:  231 krát

synkopa.png


Návrat nahoru
Zobrazit informace o autorovi Odeslat soukromou zprávu
Hill
Administrátor


Založen: Sep 10, 2004
Příspěvky: 20950
Bydliště: Jičín, Český ráj

PříspěvekZaslal: so listopad 27 2021, 20:52    Předmět: Citovat

Na to stačí vysokoimpedanční sluchátka, jestli nemáš sledovač dignálu, a zjistit, jak je to s úrovněmi na pinech 6 a 8 UL1611.
A pak postupovat v porovnávání úrovní mezi levým a pravým kanálem přes MPX-filtr k přepínači.
Návrat nahoru
Zobrazit informace o autorovi Odeslat soukromou zprávu
Osmdesat



Založen: Jan 19, 2016
Příspěvky: 1536
Bydliště: Liberecko

PříspěvekZaslal: so listopad 27 2021, 20:54    Předmět: Citovat

Ano, z pinu 6 je to slabší. Z výstupu dekodéru (piny 10 a 11) jde z obou kanálů stejně silný signál, takže zesilovač pravého kanálu z nějakého důvodu nezesiluje.
Návrat nahoru
Zobrazit informace o autorovi Odeslat soukromou zprávu
jardafiala



Založen: Jun 20, 2010
Příspěvky: 2453
Bydliště: Česká Lípa

PříspěvekZaslal: so listopad 27 2021, 22:31    Předmět: Citovat

Kdybys ho potřeboval tak ho odněkud demontuju (nebo možná najdu nepoužitý)
Návrat nahoru
Zobrazit informace o autorovi Odeslat soukromou zprávu Odeslat e-mail
lubos1961



Založen: Jul 20, 2010
Příspěvky: 447
Bydliště: Nový Jičín

PříspěvekZaslal: so listopad 27 2021, 22:40    Předmět: Citovat

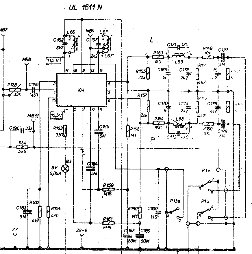
Jdi dále po cestě signálu, z vývodu 10 to jde přes kondenzátor 5M (C164) na vývod 5. Může být vadný ten kondenzátor, nebo vada u předpětí R151, R160 a C 165. Nejlépe porovnat a s druhým kanálem. Možná je to ještě i zapojeno odlišně dle změnového listu, pokud ne, doporučuji to zapojení zrovna i upravit.


UL 1611N.png
 Komentář:
 Velikost:  42.72 kB
 Zobrazeno:  197 krát

UL 1611N.png



Datasheet UL 1611N.png
 Komentář:
 Velikost:  33.57 kB
 Zobrazeno:  148 krát

Datasheet UL 1611N.png


Návrat nahoru
Zobrazit informace o autorovi Odeslat soukromou zprávu
Osmdesat



Založen: Jan 19, 2016
Příspěvky: 1536
Bydliště: Liberecko

PříspěvekZaslal: so listopad 27 2021, 23:05    Předmět: Citovat

Byl chcíplý C164, díky. Vím, že tyhle vazebáky odcházejí, ale stejně chybu hledám na méně pravděpodobných místech.
Jo, ta zpětná vazba byla zapojená podle změnového listu.
Návrat nahoru
Zobrazit informace o autorovi Odeslat soukromou zprávu
EKKAR



Založen: Mar 16, 2005
Příspěvky: 34895
Bydliště: Česká Třebová, JN89FW21

PříspěvekZaslal: so listopad 27 2021, 23:05    Předmět: Citovat

jardafiala napsal(a):
Kdybys ho potřeboval tak ho odněkud demontuju (nebo možná najdu nepoužitý)
Taky bych nějakej měl mít v zásobách - snad dokonce nepoužitej, takže by nebylo potřeba ho kuchat z fungujícího aparátu.
_________________
Nasliněný prst na svorkovnici domovního rozvaděče: Jó, paninko, máte tam ty Voltíky všecky...
A kutilmile - nelituju tě Mr. Green Mr. Green !!!
Návrat nahoru
Zobrazit informace o autorovi Odeslat soukromou zprávu Odeslat e-mail
Osmdesat



Založen: Jan 19, 2016
Příspěvky: 1536
Bydliště: Liberecko

PříspěvekZaslal: so listopad 27 2021, 23:37    Předmět: Citovat

Mají ho i ešopy, levně. Říkám si, že bych si jich pár pořídil. Chtěl bych si zkusit zabudovat stereo do nějakého mono tranzistoráku (:
Návrat nahoru
Zobrazit informace o autorovi Odeslat soukromou zprávu
ok1hga



Založen: Nov 28, 2006
Příspěvky: 12587
Bydliště: Česká Třebová

PříspěvekZaslal: ne listopad 28 2021, 4:03    Předmět: Citovat

Osmdesat napsal(a):
Chtěl bych si zkusit zabudovat stereo do nějakého mono tranzistoráku (:

taky zajímavý obvod z RVHP je A290D . . .
zapojení je jednodušší, dobře realizovatelné a neobsahuje cívky.
také se i dnes dá sehnat za lacino.
https://www.radiokus.cz/A290D-integrovany-obvod-d1587.htm



A290D.png
 Komentář:
 Velikost:  97.03 kB
 Zobrazeno:  181 krát

A290D.png


Návrat nahoru
Zobrazit informace o autorovi Odeslat soukromou zprávu
MiraSt



Založen: Apr 19, 2008
Příspěvky: 1775
Bydliště: Fryčovice

PříspěvekZaslal: ne listopad 28 2021, 8:05    Předmět: Citovat

A funguje dobře. Vestavěl jsem si ho do Avanti a budil s ním dva mono zesilovače.
_________________
Posílal jsem elektřinu horníkům. Už dofárali. Důl Staříč - Paskov. Demolice běží naplno.
Návrat nahoru
Zobrazit informace o autorovi Odeslat soukromou zprávu Odeslat e-mail
Hill
Administrátor


Založen: Sep 10, 2004
Příspěvky: 20950
Bydliště: Jičín, Český ráj

PříspěvekZaslal: ne listopad 28 2021, 8:10    Předmět: Citovat

Osmdesat napsal(a):
(Ty odpory R159/161 jsou zpětná vazba ovlivňující zesílení výstupu? Treba je chyba tam...)

Ty odpory jsou jen stejnosměrná zpětná vazba (z pinu 8 na pin 7 a z pinu 6 na pin 5, střídavá složka je filtrovaná vždy kapacitou 50 µF), je to stabilizace pracovního bodu výstupních zesilovačů.
Na zesílení nemají pozorovatelný vliv v poměrně širokém rozsahu hodnot.

Když porovnám UL1611N s A290D, tak ten A290D je přesnější, má menší přeslechy. Je velmi vhodnou náhradou za jakýkoli jiný dekodér, zvlášť, když nemáš generátor měřicích signálů pro jeho naladění. Při příjmu stereofonně vysílající stanice mu jen trimrem najdeš dvě polohy, v nichž kontrolka zhasne, a pak nastavíš běžec mezi ně.
Návrat nahoru
Zobrazit informace o autorovi Odeslat soukromou zprávu
EKKAR



Založen: Mar 16, 2005
Příspěvky: 34895
Bydliště: Česká Třebová, JN89FW21

PříspěvekZaslal: ne listopad 28 2021, 9:34    Předmět: Citovat

Hill napsal(a):
...
Když porovnám UL1611N s A290D, tak ten A290D je přesnější, má menší přeslechy. Je velmi vhodnou náhradou za jakýkoli jiný dekodér, zvlášť, když nemáš generátor měřicích signálů pro jeho naladění. Při příjmu stereofonně vysílající stanice mu jen trimrem najdeš dvě polohy, v nichž kontrolka zhasne, a pak nastavíš běžec mezi ně.
To taky bude tím, že A290D je "doslovnej opajc" švába RCA CA1310 respektive Motorola MC1310 (nedokážu posoudit, kterej je "originálnější") ...
_________________
Nasliněný prst na svorkovnici domovního rozvaděče: Jó, paninko, máte tam ty Voltíky všecky...
A kutilmile - nelituju tě Mr. Green Mr. Green !!!
Návrat nahoru
Zobrazit informace o autorovi Odeslat soukromou zprávu Odeslat e-mail
Hill
Administrátor


Založen: Sep 10, 2004
Příspěvky: 20950
Bydliště: Jičín, Český ráj

PříspěvekZaslal: ne listopad 28 2021, 13:42    Předmět: Citovat

To je skutečně otázka: soudruhům z NDR se podařilo udělat ten dekodér A290D s větším rozsahem zachycení smyčky PLL (oscilátor může volnoběžně kmitat na kmitočtech v rozsahu 72 - 79,5 kHz, aby se zasynchronizoval). To je na jednu stranu výhoda, ale příliš velká odchylka volnoběžné frekvence od zasynchronizovaného stavu zhoršuje přeslechy mezi kanály. Potlačení pilotního signálu 19 kHz na výstupu má jen o 33 dB a pomocné nosné 38 kHz jen o 35 dB.
Motorola u MC1310P naproti tomu zaručuje rozsah zachycení jen 73,5 - 78,5 kHz (což asi bude pravda, po náhradě MC1310P dekodérem A290D se dal trimr ladění volnoběžné frekvence protočit na obě strany podstatně dál, než původně, aniž by dekodér vypadl z funkce). Nevím, jak to udělali, když vnitřní zapojení vypadá stejné, ale MC1310P má lepší potlačení pilotního signálu (o 34,5 dB) i pomocné nosné (o 45 dB).
Přímých náhrad je víc, například ULN3809, ULN2210, BA1310, SN76115N HA1156W a další, třeba i pinově nekompatibilní, ty kopie Motoroly dělal kdekdo.
Ty rozdíly ale může úplně smazat (samozřejmě zhoršením vlastností) nevhodný mezifrekvenční zesilovač celkem bez ohledu na použitý typ detektoru, například příliš zvlněným průběhem skupinového zpoždění nebo nedostatečnou šířkou pásma. Ale to platí pro každý stereodekodér.
Návrat nahoru
Zobrazit informace o autorovi Odeslat soukromou zprávu
xsc



Založen: Sep 25, 2014
Příspěvky: 8402

PříspěvekZaslal: ne listopad 28 2021, 20:50    Předmět: Citovat

Hill napsal(a):
Nevím, jak to udělali, když vnitřní zapojení vypadá stejné, ale MC1310P má lepší potlačení pilotního signálu (o 34,5 dB) i pomocné nosné (o 45 dB).
Podle mě je to jen lepší zaručenou tolerancí součástek uvnitř IO. Tyhle synchronní AM demodulátory jsou značně závislé na symetrii zapojení a vyloučení fázových chyb. Je klidně možné, že povedená A290 bude mít stejné parametry, ale vzhledem k odchylkám ve výrobě je nedokázali zaručit.
Návrat nahoru
Zobrazit informace o autorovi Odeslat soukromou zprávu
EKKAR



Založen: Mar 16, 2005
Příspěvky: 34895
Bydliště: Česká Třebová, JN89FW21

PříspěvekZaslal: ne listopad 28 2021, 21:32    Předmět: Citovat

K tomu by se dalo i přiklonit, stačí si porovnat parametry texasácký řady j-FETovejch operáků TL06x/07x/08x s dederónskýma opajcovanýma B06x/07x/08x nebo výkonovej operák TDA2030 s dederónem A2030D a je to skoro jasný ...
_________________
Nasliněný prst na svorkovnici domovního rozvaděče: Jó, paninko, máte tam ty Voltíky všecky...
A kutilmile - nelituju tě Mr. Green Mr. Green !!!
Návrat nahoru
Zobrazit informace o autorovi Odeslat soukromou zprávu Odeslat e-mail
Zobrazit příspěvky z předchozích:   
Přidat nové téma   Zaslat odpověď       Obsah fóra Diskuzní fórum Elektro Bastlírny -> Audiotechnika Časy uváděny v GMT + 1 hodina
Jdi na stránku 1, 2  Další
Strana 1 z 2

 
Přejdi na:  
Nemůžete odesílat nové téma do tohoto fóra.
Nemůžete odpovídat na témata v tomto fóru.
Nemůžete upravovat své příspěvky v tomto fóru.
Nemůžete mazat své příspěvky v tomto fóru.
Nemůžete hlasovat v tomto fóru.
Nemůžete připojovat soubory k příspěvkům
Můžete stahovat a prohlížet přiložené soubory

Powered by phpBB © 2001, 2005 phpBB Group
Forums ©
Nuke - Elektro Bastlirna

Informace na portálu Elektro bastlírny jsou prezentovány za účelem vzdělání čtenářů a rozšíření zájmu o elektroniku. Autoři článků na serveru neberou žádnou zodpovědnost za škody vzniklé těmito zapojeními. Rovněž neberou žádnou odpovědnost za případnou újmu na zdraví vzniklou úrazem elektrickým proudem. Autoři a správci těchto stránek nepřejímají záruku za správnost zveřejněných materiálů. Předkládané informace a zapojení jsou zveřejněny bez ohledu na případné patenty třetích osob. Nároky na odškodnění na základě změn, chyb nebo vynechání jsou zásadně vyloučeny. Všechny registrované nebo jiné obchodní známky zde použité jsou majetkem jejich vlastníků. Uvedením nejsou zpochybněna z toho vyplývající vlastnická práva. Použití konstrukcí v rozporu se zákonem je přísně zakázáno. Vzhledem k tomu, že původ předkládaných materiálů nelze žádným způsobem dohledat, nelze je použít pro komerční účely! Tento nekomerční server nemá z uvedených zapojení či konstrukcí žádný zisk. Nezodpovídáme za pravost předkládaných materiálů třetími osobami a jejich původ. V případě, že zjistíte porušení autorského práva či jiné nesrovnalosti, kontaktujte administrátory na diskuzním fóru EB.


PHP-Nuke Copyright © 2005 by Francisco Burzi. This is free software, and you may redistribute it under the GPL. PHP-Nuke comes with absolutely no warranty, for details, see the license.
Čas potřebný ke zpracování stránky 0.21 sekund