Vítejte na Elektro Bastlírn?
Nuke - Elektro Bastlirna
  Vytvořit účet Hlavní · Fórum · DDump · Profil · Zprávy · Hledat na fóru · Příspěvky na provoz EB

Vlákno na téma KORONAVIRUS - nutná registrace


Nuke - Elektro Bastlirna: Diskuzní fórum

 FAQFAQ   HledatHledat   Uživatelské skupinyUživatelské skupiny   ProfilProfil   Soukromé zprávySoukromé zprávy   PřihlášeníPřihlášení 

Schema el. Ohradníku.
Jdi na stránku 1, 2, 3, 4  Další
 
Přidat nové téma   Zaslat odpověď       Obsah fóra Diskuzní fórum Elektro Bastlírny -> Poradna
Zobrazit předchozí téma :: Zobrazit následující téma  
Autor Zpráva
kutilmil
Pod dozorem moderátorů


Založen: Nov 01, 2008
Příspěvky: 4297
Bydliště: Skalica

PříspěvekZaslal: pá květen 05 2023, 21:08    Předmět: Schema el. Ohradníku. Citovat

Ajojte kluci. Máte niekto zarucenu schemu na ohradnik proti srnam? Ps: minuly rok mi zozrali 90percent repy. Teraz neni co chľastať.
Návrat nahoru
Zobrazit informace o autorovi Odeslat soukromou zprávu
Valdano



Založen: Jan 01, 2023
Příspěvky: 2804
Bydliště: Česká Lípa

PříspěvekZaslal: so květen 06 2023, 0:56    Předmět: Citovat

Na ochranu úrody doporučuji pořízení osvědčeného ohradníku kompletně v profi provedení.
Sada elektrického ohradníku, ochrana úrody před lesní zvěří, jelen, srnka

Níže je rozpis jednotlivých komponentů z odkazované sady.

Generátor elektrického ohradníku (hotové profi provedení)
Popis generátoru včetně návodu na instalaci
a k němu:
- zemnící tyč
- dle pozemku vhodný počet plastových sloupků
- a pro ohradníky určenou vodivou pásku (páska je lépe viditelná než drát a neřeže).

Pro inspiraci 10 zásad pro správnou funkčnost ohradníku.

Amatérské schéma generátoru ohradníku viz tento odkaz ("bez záruky pouze na vlastní nebezpečí").
Návrat nahoru
Zobrazit informace o autorovi Odeslat soukromou zprávu
jardafiala



Založen: Jun 20, 2010
Příspěvky: 2442
Bydliště: Česká Lípa

PříspěvekZaslal: so květen 06 2023, 8:41    Předmět: Citovat

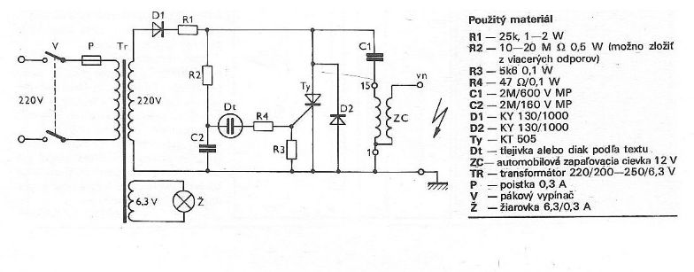
SE zapalovací cívkou a pár součástkama se dá udělat funkční zdroj pulsujícího VN. Kdysi jsem to vyrobil známému a nedávno jsem ho potkal a prý to funguje dodnes. Viz třeba https://www.mylms.cz/elektricky-ohradnik/ to je na 12V. Já jsem dělal něco takového jako je na obrázku, pro získání oddělených 220V jsem použil dvě trafa 220/24V, (ty malý v plastu pro žárovky na 24V). Za půl šichty bylo hotovo, nejvíc práce bylo, jako obvykle s krabičkou. Kondíky ze zářivek, diody a tyristor co se kde našlo, a myslím, že jsem pro zapálení tyristoru použil nějakou nalezenou doutnavku...


ohradník.jpg
 Komentář:
 Velikost:  42.63 kB
 Zobrazeno:  186 krát

ohradník.jpg


Návrat nahoru
Zobrazit informace o autorovi Odeslat soukromou zprávu Odeslat e-mail
kutilmil
Pod dozorem moderátorů


Založen: Nov 01, 2008
Příspěvky: 4297
Bydliště: Skalica

PříspěvekZaslal: so květen 06 2023, 8:59    Předmět: Citovat

Ja rozmýšlam, že by som to veľmi lahko vyrobil použitím indukčnej cievky a zapalovacieho modulu z favorita + ako generátor impulzov akýkolvek MKO
Návrat nahoru
Zobrazit informace o autorovi Odeslat soukromou zprávu
ZdenekHQ
Administrátor


Založen: Jul 21, 2006
Příspěvky: 25741
Bydliště: skoro Brno

PříspěvekZaslal: so květen 06 2023, 13:19    Předmět: Citovat

Dokud jsem neměl pořádnej plot do lesa, tak ty potvory žraly i poupata z růží před domem.

Mizely třeba listy z kedluben, z toho jsem původně podezíral dědu, že to tam v rámci spořivosti chodí "těžit". On si ode mě nikdy nic z jídla nevzal (kromě svátků), byl na to příliš hrdej, když jsem mu to chtěl opravdu dát, tak jsem prostě řekl, že to vyhodím.

_________________
Pro moje oslovení klidně použijte jméno Zdeněk
Správně navržené zapojení je jako recept na dobré jídlo.
Můžete vynechat půlku ingrediencí, nebo přidat jiné,
ale jste si jistí, že vám to bude chutnat[?
]
Návrat nahoru
Zobrazit informace o autorovi Odeslat soukromou zprávu Zobrazit autorovy WWW stránky
Sandal



Založen: May 22, 2006
Příspěvky: 2838
Bydliště: Posázaví (JN79LT)

PříspěvekZaslal: so květen 06 2023, 16:09    Předmět: Citovat

Jardafiala: To schéma je mi nějak povědomý. Že je to z časáku Urob-Udělej si sám? Mám dojem, že jsem to vyráběl někdy začátkem 90tých let.
_________________
Lepší jednou ukázat, než desetkrát vysvětlovat Smile
Návrat nahoru
Zobrazit informace o autorovi Odeslat soukromou zprávu
sis2



Založen: Oct 07, 2012
Příspěvky: 1462
Bydliště: JN89GF

PříspěvekZaslal: so květen 06 2023, 19:58    Předmět: Citovat

Všechny bastly ohradníků se zapalovací cívkou namísto pořádného pulsního vn trafa stojí za prd, protože výstupní energie pulsu ze zapalovací cívky je malá, stačí tak na pár metrů ohrazení, ne na desítky a už vůbec ne na stovky metrů obvodu. A nesmí být mokro a nesmí tam být vysoká tráva apod. svody...
Už se to tu mockrát řešilo, stačí hledat.
Návrat nahoru
Zobrazit informace o autorovi Odeslat soukromou zprávu
kutilmil
Pod dozorem moderátorů


Založen: Nov 01, 2008
Příspěvky: 4297
Bydliště: Skalica

PříspěvekZaslal: so květen 06 2023, 20:57    Předmět: Citovat

No, niesom si celkom istý, či taká kondučka z trabanta má nižšiu energiu impulzu ako čínsky ohradník, kde je ako vn trafo použité obyčajné sieťové trafo otočené naruby. Toto som osobne videl.
Návrat nahoru
Zobrazit informace o autorovi Odeslat soukromou zprávu
sis2



Založen: Oct 07, 2012
Příspěvky: 1462
Bydliště: JN89GF

PříspěvekZaslal: ne květen 07 2023, 9:10    Předmět: Citovat

Jo, klidně si porovnávej jeden drek s jiným, když ti to pomůže při řešení problému...
Návrat nahoru
Zobrazit informace o autorovi Odeslat soukromou zprávu
kutilmil
Pod dozorem moderátorů


Založen: Nov 01, 2008
Příspěvky: 4297
Bydliště: Skalica

PříspěvekZaslal: ne květen 07 2023, 12:00    Předmět: Citovat

Ako sa da zistit resp zmerať energia iskry?
Návrat nahoru
Zobrazit informace o autorovi Odeslat soukromou zprávu
kutilmil
Pod dozorem moderátorů


Založen: Nov 01, 2008
Příspěvky: 4297
Bydliště: Skalica

PříspěvekZaslal: ne květen 07 2023, 12:20    Předmět: Citovat

Zrejme dat na vystup konduč nejsky zatazovaci rezistor a pamäťovym škopkom zmerať priebeh a nejakym integrovanim plochy pod funkciou spocitat vykon výboja. Ma este niekto lepsi napad?
Návrat nahoru
Zobrazit informace o autorovi Odeslat soukromou zprávu
Bernard



Založen: May 27, 2005
Příspěvky: 3655

PříspěvekZaslal: ne květen 07 2023, 13:00    Předmět: Citovat

https://sk.wikipedia.org/wiki/Zapa%C4%BEovanie_(spa%C4%BEovac%C3%AD_motor)
Návrat nahoru
Zobrazit informace o autorovi Odeslat soukromou zprávu
nixdorf



Založen: May 06, 2017
Příspěvky: 570

PříspěvekZaslal: ne květen 07 2023, 13:34    Předmět: Citovat

@kutilmil: napríklad aj teplotou oblúka. Studené oblúky sú napríklad fialovomodré - prúd do pár jednotiek mA. Postupne narastajú na šírke a žltnú, od nejakých 5-8mA. Toť:


Clipboard01.jpg
 Komentář:
 Velikost:  128.72 kB
 Zobrazeno:  82 krát

Clipboard01.jpg


Návrat nahoru
Zobrazit informace o autorovi Odeslat soukromou zprávu
kutilmil
Pod dozorem moderátorů


Založen: Nov 01, 2008
Příspěvky: 4297
Bydliště: Skalica

PříspěvekZaslal: ne květen 07 2023, 14:31    Předmět: Citovat

Nejsky napad na zmeranie energie iskry?
Návrat nahoru
Zobrazit informace o autorovi Odeslat soukromou zprávu
Kremik



Založen: Mar 30, 2012
Příspěvky: 3645
Bydliště: Havířov

PříspěvekZaslal: ne květen 07 2023, 15:17    Předmět: Citovat

Kruci, kdysi jsem si taky takhle podobně hrával, ale takhle hezký výboj jsem z VN tráfka asi nedostal. Asi jsem z nich netahal takový výkon a i tak se to spínacím tranzistorům moc nelíbilo.

Ovšem povedlo se mi, v mých začátcích, nechtěně, takže vůbec nevím jak, vykouzlit v Lilii_2 nádherné modré blesky, které doprovázely opravdu řachy. Už víckrát jsem nad tím přemýšlel a neumím to zopakovat. Jediný rozdíl oproti jiným TV byl v tom, že obrazovka neměla aqadak ukostřený lankem jak je obvyklé, ale plechovým hřebínkem v její spodní části. Myslím, že ty blesky vycházely odtam.
Návrat nahoru
Zobrazit informace o autorovi Odeslat soukromou zprávu Odeslat e-mail
Zobrazit příspěvky z předchozích:   
Přidat nové téma   Zaslat odpověď       Obsah fóra Diskuzní fórum Elektro Bastlírny -> Poradna Časy uváděny v GMT + 1 hodina
Jdi na stránku 1, 2, 3, 4  Další
Strana 1 z 4

 
Přejdi na:  
Nemůžete odesílat nové téma do tohoto fóra.
Nemůžete odpovídat na témata v tomto fóru.
Nemůžete upravovat své příspěvky v tomto fóru.
Nemůžete mazat své příspěvky v tomto fóru.
Nemůžete hlasovat v tomto fóru.
Nemůžete připojovat soubory k příspěvkům
Můžete stahovat a prohlížet přiložené soubory

Powered by phpBB © 2001, 2005 phpBB Group
Forums ©
Nuke - Elektro Bastlirna

Informace na portálu Elektro bastlírny jsou prezentovány za účelem vzdělání čtenářů a rozšíření zájmu o elektroniku. Autoři článků na serveru neberou žádnou zodpovědnost za škody vzniklé těmito zapojeními. Rovněž neberou žádnou odpovědnost za případnou újmu na zdraví vzniklou úrazem elektrickým proudem. Autoři a správci těchto stránek nepřejímají záruku za správnost zveřejněných materiálů. Předkládané informace a zapojení jsou zveřejněny bez ohledu na případné patenty třetích osob. Nároky na odškodnění na základě změn, chyb nebo vynechání jsou zásadně vyloučeny. Všechny registrované nebo jiné obchodní známky zde použité jsou majetkem jejich vlastníků. Uvedením nejsou zpochybněna z toho vyplývající vlastnická práva. Použití konstrukcí v rozporu se zákonem je přísně zakázáno. Vzhledem k tomu, že původ předkládaných materiálů nelze žádným způsobem dohledat, nelze je použít pro komerční účely! Tento nekomerční server nemá z uvedených zapojení či konstrukcí žádný zisk. Nezodpovídáme za pravost předkládaných materiálů třetími osobami a jejich původ. V případě, že zjistíte porušení autorského práva či jiné nesrovnalosti, kontaktujte administrátory na diskuzním fóru EB.


PHP-Nuke Copyright © 2005 by Francisco Burzi. This is free software, and you may redistribute it under the GPL. PHP-Nuke comes with absolutely no warranty, for details, see the license.
Čas potřebný ke zpracování stránky 0.20 sekund