Vítejte na Elektro Bastlírn?
Nuke - Elektro Bastlirna
  Vytvořit účet Hlavní · Fórum · DDump · Profil · Zprávy · Hledat na fóru · Příspěvky na provoz EB

Vlákno na téma KORONAVIRUS - nutná registrace


Nuke - Elektro Bastlirna: Diskuzní fórum

 FAQFAQ   HledatHledat   Uživatelské skupinyUživatelské skupiny   ProfilProfil   Soukromé zprávySoukromé zprávy   PřihlášeníPřihlášení 

Priamozosilnujuci prijmač AM
Jdi na stránku 1, 2, 3, 4, 5, 6  Další
 
Přidat nové téma   Zaslat odpověď       Obsah fóra Diskuzní fórum Elektro Bastlírny -> Řešení problémů s různými konstrukcemi
Zobrazit předchozí téma :: Zobrazit následující téma  
Autor Zpráva
lietadlo



Založen: Dec 14, 2017
Příspěvky: 55

PříspěvekZaslal: so březen 10 2018, 7:24    Předmět: Priamozosilnujuci prijmač AM Citovat

Dobre rano.
Nedavno ma zaujala jedna schema v ARA10/99 na vstupe bol použity darlington kde potenciometrom v kolektore sa regulovala spatna vazba...aj vinutie feritky použivalo iba jedno vinutie...autor tvrdil že aj to čo ine nie Cool
tak mi to nedalo a spravil si ho...ide OK a je fakt citlive akurat trebalo odtienit feritku od elektroniky..
Mna ale zaujima využitie tlmiviek...napajane je to z 3V dalsie dva stupne su so spolocnym emitorom v kolektore maju R 2k2..tak ma napadlo zaradit tam tlmivky..2,5mH ? taku hodnotu som občas videl u AM..lenže kam.. Question
medzi kolektor a jeho odpor čo ide na plus..a ich spoj blokovat kondikom M1 ?
alebo až za odporom tu prerušit spoj na plus a vložit tlmivku .. ?
či to nema vyznam a odpory su dost velke a straty VF minimalne..
.
Návrat nahoru
Zobrazit informace o autorovi Odeslat soukromou zprávu
Hill
Administrátor


Založen: Sep 10, 2004
Příspěvky: 21015
Bydliště: Jičín, Český ráj

PříspěvekZaslal: so březen 10 2018, 8:10    Předmět: Citovat

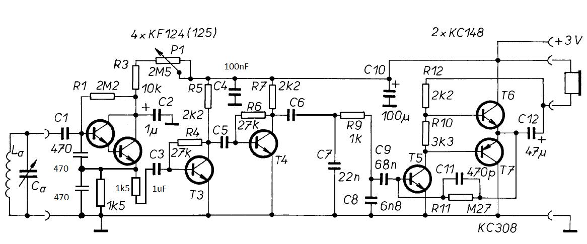
Myslíš asi Novotného konstrukci z PE10/99 na straně 32 (v ARA10/99 totiž nic takového není).
Když nahradíš odpory tlumivkami, možná to nějak bude hrát, nakonec i T3 a T4 by to měly vydržet (mají dovolený Ic<30 mA, přičemž by jimi měl téci proudy maximálně do 20 mA), to záleží na tom, jak tvrdým zdrojem to napájíš.
Odpory R5 a R7 jsou tam nutné, protože úbytek napětí na nich stabilizuje pracovní body tranzistorů T3 a T4. Jednoduše: stoupne napětí na kolektoru, odporem R4 (pro R6 to platí taky) poteče do báze větší proud, tedy poteče větší proud i kolektorem a v důsledku vyššího úbytku na kolektorovém odporu to napětí opět klesne.
Ty odpory stabilizují kolektorové proudy těsně kolem 1 mA
Jenomže tlumivka má ohmický odpor podstatně nižší! Odpory R5 a R6 jsou najednou napájené přímo z baterky a proud báze je víceméně konstantní bez ohledu na proud kolektoru, což je nežádoucí stav.
Porovnej si už jen spotřebu, tedy jako to, že ty dva tranzistory se podílí na celkovém odběru 2 mA, zatímco, když nahradíš ty odpory tlumivkami, přidají každý zbytečný odběr až 20 mA, a to je rozdíl rovný ruskému tranzistoráku hrajícímu poměrně dost hlasitě.
Nech tam ty odpory.
Jestli chceš zkusit zvýšení zisku s tlumivkami, dej jednu k R5 do série. Tím se ti zvětší pro střídavou složku zatěžovací impedance na asi 8k na dolním konci pásma SV, čili teoreticky stoupne i citlivost, i když zdaleka ne 4x, odhaduji skutečné zvýšení citlivosti na sotva 2x, zato stoupne náchylnost na rozkmitání.
Když totéž uděláš i u T4, bude to kmitat celkem spolehlivě, ale hrát už moc ne.
Ale stejnosměrné poměry se pozorovatelně nezmění.

_________________
Těm, kdo si nevybírají odpovědi na soukromé zprávy, už příště neodpovím. Tak.
Návrat nahoru
Zobrazit informace o autorovi Odeslat soukromou zprávu
ok1hga



Založen: Nov 28, 2006
Příspěvky: 12603
Bydliště: Česká Třebová

PříspěvekZaslal: so březen 10 2018, 8:54    Předmět: Citovat

určitě tam nech jen ty odpory, jinak to bude nekontrolovatelně kmitat . . .
. . . a aby i ostatní věděli o čem se bavíme, dám sem schéma a popis.



prijimac_AM_text.jpg
 Komentář:

Stáhnout
 Soubor:  prijimac_AM_text.jpg
 Velikost:  261.17 kB
 Staženo:  379 krát


prijimac_AM.jpg
 Komentář:

Stáhnout
 Soubor:  prijimac_AM.jpg
 Velikost:  167.12 kB
 Staženo:  500 krát

Návrat nahoru
Zobrazit informace o autorovi Odeslat soukromou zprávu
ok1hga



Založen: Nov 28, 2006
Příspěvky: 12603
Bydliště: Česká Třebová

PříspěvekZaslal: so březen 10 2018, 9:43    Předmět: Citovat

na konci 90-tých let jsem tohle rádio stavěl se synem mého kamaráda a dokonce malou změnou v zapojení, nám to poslouchalo i CW a SSB signály na krátkých vlnách . . .
. . . samozřejmě s venkovní anténou.
Vstupní obvod byl přepínaný na několik amatérských pásem.

Už si to přesně nepamatuji, ale takhle nějak to bylo . . .



prijimac_CW_SSB_schema.jpg
 Komentář:

Stáhnout
 Soubor:  prijimac_CW_SSB_schema.jpg
 Velikost:  67.77 kB
 Staženo:  343 krát

Návrat nahoru
Zobrazit informace o autorovi Odeslat soukromou zprávu
lietadlo



Založen: Dec 14, 2017
Příspěvky: 55

PříspěvekZaslal: so březen 10 2018, 10:02    Předmět: Citovat

Nie nie..nepochopili ste ma..ja tie odpory nechcem vyhadzovat je mi jasne ze urcuju kolektorovy prud ..len mi islo o to či ich dat
pred alebo za odpor do serie..
ale čitam tu že nema to vyznam žeby to kmitalo...takže odpoved som dostal ..diki Wink
len som myslel že tym nejake tie percenta vf energie doostanem navyše..
vyriešene.
Návrat nahoru
Zobrazit informace o autorovi Odeslat soukromou zprávu
ok1hga



Založen: Nov 28, 2006
Příspěvky: 12603
Bydliště: Česká Třebová

PříspěvekZaslal: so březen 10 2018, 10:15    Předmět: Citovat

nějaké procento signálu možná ano, ale za cenu nestability a divokého kmitání . . .

ono to i v originálním zapojení také zakmitává a tím to vlastně zvyšuje citlivost přijímače.
Nastavením právě před bod nasazení oscilací má tento typ přijímače největší citlivost na AM.
"přetažením" zesílení za hranici vzniku oscilací vzniká možnost příjmu i signálů bez nosné, tedy signálů CW a SSB.
V původním zapojení je kmitání dáno kapacitními vazbami mezi spoji kolem toho darlingtonova zapojení tranzistorů a stabilita je dost mizerná.
Proto jsem tehdy vymýšlel "co s tím" . . . a napadlo mě použít zapojení oscilátoru s poměrně tvrdým kapacitním děličem mezi bází a emitorem tranzistorů . . . pak už to bylo poměrně stabilní a "vazba" nasazovala skokově a vždy ve stejném místě potenciometru.
Návrat nahoru
Zobrazit informace o autorovi Odeslat soukromou zprávu
Hill
Administrátor


Založen: Sep 10, 2004
Příspěvky: 21015
Bydliště: Jičín, Český ráj

PříspěvekZaslal: so březen 10 2018, 11:57    Předmět: Citovat

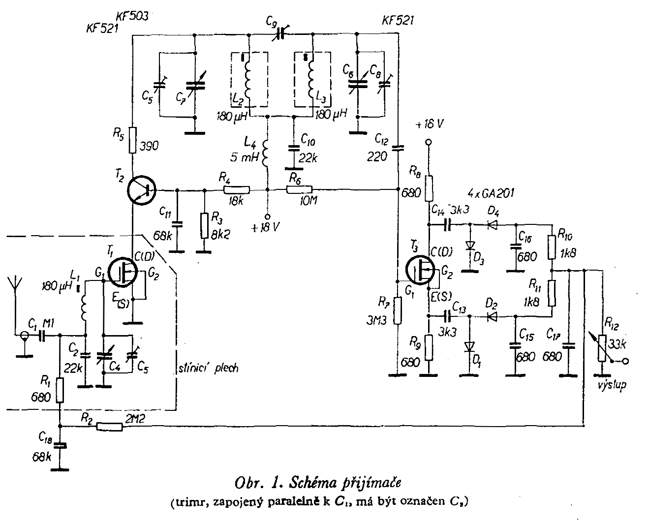
Audiony jsem se kdysi zabýval ještě s elektronkami 1F33 a RL2,4P2.
Později s tranzistory už jsem si hrál s reflexním zapojením (inu - cena tranzistorů nepříjemně vysoká, tak se musely využít dvakrát, tam přidání tlumivky mezi kolektor a zatěžovací odpor dokázalo zvednout citlivost dost podstatně). Pak jsem se věnoval spíše FM přijímačům, i když občas jsem si s AM ještě pohrál, zejména, když jsem kdesi na burze záskal triál 3x500 pF. Ale to už jsem se reflexnímu zapojení i zpětným vazbám vyhnul.
Poslední AM přijímač, který jsem stavěl, vycházel ze zapojení uvedeného zde.
Pravda, bylo kolem toho trochu víc plechařiny na odstínění MAA661 od vstupního dílu, on docela "svítí", ale hrálo to skutečně nejlíp, i když, samozřejmě, tak nízkou spotřebu, jako to Novotného zapojení, to nikdy nemělo.
Hlavní výhodou byla možnost nastavení šířky pásma pouze změnou mezní frekvence dolní propusti na výstupu (nejjednodušší verze přepínáním kapacity na pinu 1 MAA661 není kdovíjak učínná, tak jsem ji nahradil aktivním filtrem až na výstupu), protože synchrodetektor přeložil veškeré nesynchronní signály sousedních stanic o rastrovou rozteč nahoru, takže stačilo strměji potlačit frekvence vyšší, než....

Nakonec jsem tím jen doplnil zapojení podle AR12/74 laděné triálem na vstupu, které zajišťovalo velmi dobrou selektivitu samo o sobě, a mělo jen málo se měnící šířku pásma, ale na vstupu byla feritová anténa. Sígnál pro detektor s MAA661 jsem odebíral přes kapacitní dělič z emitoru T3, původní detektor zůstal jen ve funkci usměrňovače pro AVC.



AM_rec1.png
 Komentář:

Stáhnout
 Soubor:  AM_rec1.png
 Velikost:  124.69 kB
 Staženo:  394 krát


_________________
Těm, kdo si nevybírají odpovědi na soukromé zprávy, už příště neodpovím. Tak.
Návrat nahoru
Zobrazit informace o autorovi Odeslat soukromou zprávu
ZdenekHQ
Administrátor


Založen: Jul 21, 2006
Příspěvky: 25741
Bydliště: skoro Brno

PříspěvekZaslal: so březen 10 2018, 13:51    Předmět: Citovat

@ok1hga - a když to nasadilo oscilace, soused taky všechno slyšel, nebo měl kdesi na pásmu podivnou nosnou? Laughing
_________________
Pro moje oslovení klidně použijte jméno Zdeněk
Správně navržené zapojení je jako recept na dobré jídlo.
Můžete vynechat půlku ingrediencí, nebo přidat jiné,
ale jste si jistí, že vám to bude chutnat[?
]
Návrat nahoru
Zobrazit informace o autorovi Odeslat soukromou zprávu Zobrazit autorovy WWW stránky
sinclair



Založen: Feb 02, 2005
Příspěvky: 9923
Bydliště: Luhačovice

PříspěvekZaslal: so březen 10 2018, 15:08    Předmět: Citovat

Jo, ze mě celá čtvrť musela mít na SV radost. Moje první a taky poslední pokusy s audionama se konaly s elektronkama. A když už, tak docela výkonnýma. Plus k tomu určitě přes 30m dlouhá a vysoká anténa.
První byl určitě s ECH21 a druhej myslím s ECH81. Ten loktál, to byla moje první lampa.
Já si totiž usmyslel, že i přes to všeobecný zahlušení Topolnou, budu zkoušet střední vlny..
To byla taková doba, kdy Topolná jela megawattem. Tady u nás hrál přímo dráťákový reprák, jen s paralelní diodou, uzemněný a s pár metry drátu.
Když se to s tím drátem přehnalo, muselo se to aspoň trochu odzemnit, aby to tak neřvalo. Chytřejší uličníci měli paralelní potenciometr ze starého TV Very Happy
Tady byly potřeba zesilovače až později, na bigbítový rámus, ale na rádio skoro ne Very Happy
Návrat nahoru
Zobrazit informace o autorovi Odeslat soukromou zprávu Odeslat e-mail
EKKAR



Založen: Mar 16, 2005
Příspěvky: 34999
Bydliště: Česká Třebová, JN89FW21

PříspěvekZaslal: so březen 10 2018, 16:16    Předmět: Citovat

Já si pamatuju, jak jsem co by janek sotva po první třídě čuměl jak puk z nory na noční osvětlení strejce z Pohodlí u Litomyšle. Měl na žebřiňáku nataženej drát dokola a v něm sériově zapojený 2 červený žárovičky 6V/50mA - a šlus, žádná baterka nebo dynamko. Když jel večer z pole, svítilo mu to i bez baterky...

Pro méně znalý - Pohodlí se tenkrát ještě vyznačovalo několika SV a KV vysílacíma anténníma polema, ze kterejch příslušný výkonový stupně chrlily desítky kW výkonu jednak Interprogramu - Rádia Praha, druhak rušivýho bublání proti Svobodný Evropě vysílaný na území Velký Země. Stačila smyčka drátu, lehce doladit kapacitu a už to svítilo... V samotný vsi hrály nahlas vokapy po dešti, kovový ploty i svodidla u silnice... A ploty kopaly občas taky docela solidně...

_________________
Nasliněný prst na svorkovnici domovního rozvaděče: Jó, paninko, máte tam ty Voltíky všecky...
A kutilmile - nelituju tě Mr. Green Mr. Green !!!
Návrat nahoru
Zobrazit informace o autorovi Odeslat soukromou zprávu Odeslat e-mail
masar



Založen: Dec 03, 2005
Příspěvky: 13973

PříspěvekZaslal: so březen 10 2018, 18:32    Předmět: Citovat

EKKAR napsal(a):
...Stačila smyčka drátu, lehce doladit kapacitu a už to svítilo... V samotný vsi hrály nahlas vokapy po dešti, kovový ploty i svodidla u silnice... A ploty kopaly občas taky docela solidně...
Jasně a k rybníku jsme se chodili dívat na velryby.
No já jsem měl rušičku pár kilometrů od domu. Energii její nosné jsem používal v pomocném laděném obvodu krystalky pro napájení tranzistoru v druhém laděném obvodu téže krystalky.
Wink
Návrat nahoru
Zobrazit informace o autorovi Odeslat soukromou zprávu Odeslat e-mail
danhard



Založen: Mar 05, 2007
Příspěvky: 6546
Bydliště: Jesenice u Prahy

PříspěvekZaslal: so březen 10 2018, 19:10    Předmět: Citovat

V Praze na Strahově, vš koleje blok 11, měli rušičku hned za barákem, asi 100m daleko a žádný žárovky jim tam nesvítily.
Návrat nahoru
Zobrazit informace o autorovi Odeslat soukromou zprávu Odeslat e-mail
decmen



Založen: Sep 25, 2013
Příspěvky: 677
Bydliště: Chlumec n.C.

PříspěvekZaslal: so březen 10 2018, 20:07    Předmět: Citovat

Jó Strahov, blok 11, 1982-85........to byly časy !
Návrat nahoru
Zobrazit informace o autorovi Odeslat soukromou zprávu
EKKAR



Založen: Mar 16, 2005
Příspěvky: 34999
Bydliště: Česká Třebová, JN89FW21

PříspěvekZaslal: so březen 10 2018, 22:41    Předmět: Citovat

masar napsal(a):
EKKAR napsal(a):
...Stačila smyčka drátu, lehce doladit kapacitu a už to svítilo... V samotný vsi hrály nahlas vokapy po dešti, kovový ploty i svodidla u silnice... A ploty kopaly občas taky docela solidně...
Jasně a k rybníku jsme se chodili dívat na velryby.
No já jsem měl rušičku pár kilometrů od domu. Energii její nosné jsem používal v pomocném laděném obvodu krystalky pro napájení tranzistoru v druhém laděném obvodu téže krystalky.
Wink
Podívej se na tuhle MAPU. Ty rušicí vysílače byly po obou stranách vyznačený silnice, vzdálenost od samotný obce Pohodlí si odměř sám. To co je tam dneska vyznačený východně od vesnice je SV vysílač, ze kterýho právě "šel do éteru" Interprogram a potom Svobodná Evropa - 1230 a něco k tomu kHz (1238?). Ty rušičky na KV ("žbla-žbla-žbla-žbla...") měly plošný anténní pole a výkony odstupňovaný od 50kW nahoru ... Vysílaly odrazem od ionosféry nad území SSSR tak, aby nad ním "překrejvaly" KV signál RFE vysílanej v tý době od Mnichova... Takže pokud jel záhumenkář s žebřiňákem po tý silnici, byl doslova v blízkým poli všech těch vysílaček. Nejbližší prvky těch anténních polí byly tenkrát pár desítek metrů od silnice.
_________________
Nasliněný prst na svorkovnici domovního rozvaděče: Jó, paninko, máte tam ty Voltíky všecky...
A kutilmile - nelituju tě Mr. Green Mr. Green !!!
Návrat nahoru
Zobrazit informace o autorovi Odeslat soukromou zprávu Odeslat e-mail
masar



Založen: Dec 03, 2005
Příspěvky: 13973

PříspěvekZaslal: ne březen 11 2018, 0:19    Předmět: Citovat

No hlavně že hrály ty vokapy a kopaly ploty... Wink
Návrat nahoru
Zobrazit informace o autorovi Odeslat soukromou zprávu Odeslat e-mail
Zobrazit příspěvky z předchozích:   
Přidat nové téma   Zaslat odpověď       Obsah fóra Diskuzní fórum Elektro Bastlírny -> Řešení problémů s různými konstrukcemi Časy uváděny v GMT + 1 hodina
Jdi na stránku 1, 2, 3, 4, 5, 6  Další
Strana 1 z 6

 
Přejdi na:  
Nemůžete odesílat nové téma do tohoto fóra.
Nemůžete odpovídat na témata v tomto fóru.
Nemůžete upravovat své příspěvky v tomto fóru.
Nemůžete mazat své příspěvky v tomto fóru.
Nemůžete hlasovat v tomto fóru.
Nemůžete připojovat soubory k příspěvkům
Můžete stahovat a prohlížet přiložené soubory

Powered by phpBB © 2001, 2005 phpBB Group
Forums ©
Nuke - Elektro Bastlirna

Informace na portálu Elektro bastlírny jsou prezentovány za účelem vzdělání čtenářů a rozšíření zájmu o elektroniku. Autoři článků na serveru neberou žádnou zodpovědnost za škody vzniklé těmito zapojeními. Rovněž neberou žádnou odpovědnost za případnou újmu na zdraví vzniklou úrazem elektrickým proudem. Autoři a správci těchto stránek nepřejímají záruku za správnost zveřejněných materiálů. Předkládané informace a zapojení jsou zveřejněny bez ohledu na případné patenty třetích osob. Nároky na odškodnění na základě změn, chyb nebo vynechání jsou zásadně vyloučeny. Všechny registrované nebo jiné obchodní známky zde použité jsou majetkem jejich vlastníků. Uvedením nejsou zpochybněna z toho vyplývající vlastnická práva. Použití konstrukcí v rozporu se zákonem je přísně zakázáno. Vzhledem k tomu, že původ předkládaných materiálů nelze žádným způsobem dohledat, nelze je použít pro komerční účely! Tento nekomerční server nemá z uvedených zapojení či konstrukcí žádný zisk. Nezodpovídáme za pravost předkládaných materiálů třetími osobami a jejich původ. V případě, že zjistíte porušení autorského práva či jiné nesrovnalosti, kontaktujte administrátory na diskuzním fóru EB.


PHP-Nuke Copyright © 2005 by Francisco Burzi. This is free software, and you may redistribute it under the GPL. PHP-Nuke comes with absolutely no warranty, for details, see the license.
Čas potřebný ke zpracování stránky 0.26 sekund