Vítejte na Elektro Bastlírn?
Nuke - Elektro Bastlirna
  Vytvořit účet
Hlavní · Fórum · DDump · Profil · Zprávy · Hledat na fóru


Nuke - Elektro Bastlirna: Diskuzní fórum

 FAQFAQ   HledatHledat   Uživatelské skupinyUživatelské skupiny   ProfilProfil   Soukromé zprávySoukromé zprávy   PřihlášeníPřihlášení 

Magnetofon B43, po chvilce provozu "chcípne"
Jdi na stránku 1, 2, 3, 4, 5  Další
 
Přidat nové téma   Zaslat odpověď       Obsah fóra Diskuzní fórum Elektro Bastlírny -> Audiotechnika
Zobrazit předchozí téma :: Zobrazit následující téma  
Autor Zpráva
jihra



Založen: Sep 20, 2004
Příspěvky: 33
Bydliště: Ostrava

PříspěvekZaslal: pá duben 07 2017, 12:28    Předmět: Magnetofon B43, po chvilce provozu "chcípne" Citovat

Zdravím lidičky.
Dnes jsem si za pěkných 350 Kč přivezl vzhledově velice zachovalý magič B43. Celkem funguje, ale zarazila mne jedna věc. Magnetofon zapnu, kontrolky svítí, přehrává, ale po chvilce (cca půl minuty) se svit kontrolek zeslabuje až kontrolky skoro nesvítí a magnetofon přestává fungovat, "netočí" se. Prostě "chcípne". Když magnetofon úplně vypnu a znovu jej po chvilce zapnu, tak zas chvilku jede a pak po chvilce zase "chcípne". Že by elyty ve zdroji? Poraďte, ať nemusím složitě pátrat. Díky.

PS: Asi bude stejně dobré všechny elyty a případně i svitkové kondíky vyměnit, že jo.
Návrat nahoru
Zobrazit informace o autorovi Odeslat soukromou zprávu Odeslat e-mail
MiroH



Založen: Jan 28, 2011
Příspěvky: 56
Bydliště: Nitra

PříspěvekZaslal: pá duben 07 2017, 12:36    Předmět: Citovat

jihra napsal(a):

PS: Asi bude stejně dobré všechny elyty a případně i svitkové kondíky vyměnit, že jo.


Bingo !

Skor tie elyty, svitkace by mali byt v pohode, ak neboli navlhnute.


Naposledy upravil MiroH dne pá duben 07 2017, 12:37, celkově upraveno 1 krát.
Návrat nahoru
Zobrazit informace o autorovi Odeslat soukromou zprávu
Lukas-Peca



Založen: May 06, 2007
Příspěvky: 4442
Bydliště: Zlín

PříspěvekZaslal: pá duben 07 2017, 12:36    Předmět: Citovat

Špatný kontakt v držácích pojistek, taky jsem se s tím u mé B43 dost vyvztekal. Elyty ve zdroji s tím nemají nic společného, motor je na síťové napájení. Kondy preventivně neměň, pokud to funguje, tak do toho nehrabej. Když ty elyty vydržely padesát let, tak jsou asi dost kvalitní. Nějaká nová čína může po dvou letech odejít.
Návrat nahoru
Zobrazit informace o autorovi Odeslat soukromou zprávu Zobrazit autorovy WWW stránky
sinclair



Založen: Feb 02, 2005
Příspěvky: 9923
Bydliště: Luhačovice

PříspěvekZaslal: pá duben 07 2017, 13:12    Předmět: Citovat

Je vadný ten krabičák u motoru. Nahradit nejlíp stejným typem, ale s minimálním svodem.
Návrat nahoru
Zobrazit informace o autorovi Odeslat soukromou zprávu Odeslat e-mail
Lukas-Peca



Založen: May 06, 2007
Příspěvky: 4442
Bydliště: Zlín

PříspěvekZaslal: pá duben 07 2017, 13:50    Předmět: Citovat

Krabicák u motoru by rozhodně nezpůsobil zhasnutí kontrolek.

EDIT: Beru zpět, mohl by, ale to by se snad měla spálit síťová pojistka...
Návrat nahoru
Zobrazit informace o autorovi Odeslat soukromou zprávu Zobrazit autorovy WWW stránky
elektrosvit



Založen: Jun 27, 2016
Příspěvky: 2515

PříspěvekZaslal: pá duben 07 2017, 14:29    Předmět: Citovat

Původně jsem tipoval poruchu v obvodu toho referenčního zdrojíčku. Ale jestli se zastaví i motor, tak to asi bude tím krabičákem. Pojistky můžou být klidně prodrátované, s tím jsem se v magičích této řady setkal několikrát.

EDIT: Krabičák jsem měnil u tří kusů. Vždycky se projevil poklesem otáček motorku cca 15 minut od zapnutí. Na funkci obvodů napájených ze sekundárů neměl vliv. V tomto případě by musel mít svod jak prase.
Návrat nahoru
Zobrazit informace o autorovi Odeslat soukromou zprávu
masar



Založen: Dec 03, 2005
Příspěvky: 14011

PříspěvekZaslal: pá duben 07 2017, 15:12    Předmět: Citovat

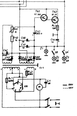
Krabicovým kondenzátorem jen těžko. Podívej se na schema. Napětí zdroje (i pro žárovičky) dodává stabilizátor s OC26. Ten (jeho součásti) je zodpovědný za kolaps. Zkontroloval bych hlavně elyt C42 a další součásti tohoto stabilizovaného zdroje (spíše jen řízeného).
Wink



zdroj.png
 Komentář:

Stáhnout
 Soubor:  zdroj.png
 Velikost:  19.79 kB
 Staženo:  216 krát

Návrat nahoru
Zobrazit informace o autorovi Odeslat soukromou zprávu Odeslat e-mail
elektrosvit



Založen: Jun 27, 2016
Příspěvky: 2515

PříspěvekZaslal: pá duben 07 2017, 15:38    Předmět: Citovat

Taky bych řekl, že bude chyba zde. Ale tazatel psal, že "se netočí". Teď je otázka, jestli jen vlivem sníženého nebo žádného napětí nepřitáhne elektromagnet přítlačnou kladku, nebo jestli se zastavuje motor.
Návrat nahoru
Zobrazit informace o autorovi Odeslat soukromou zprávu
masar



Založen: Dec 03, 2005
Příspěvky: 14011

PříspěvekZaslal: pá duben 07 2017, 15:46    Předmět: Citovat

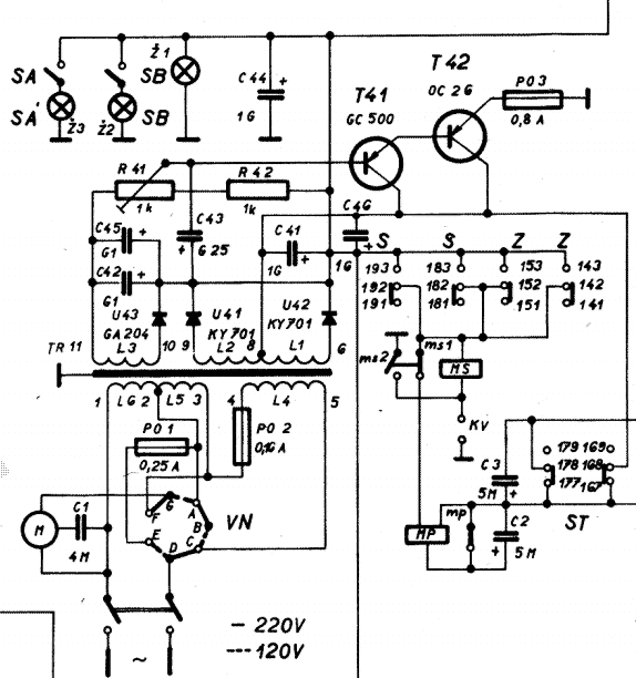
Ještě jiné schema zdroje, trochu čitelnější. K C42 je připojen ještě C45. Možná pochopili jeho důležitost. Navíc je tu ještě jedna změna - dioda GA204 v referenčním zdroji. Té bych věřil jako Kalouskovi...
Wink



zdroj2.png
 Komentář:

Stáhnout
 Soubor:  zdroj2.png
 Velikost:  34.23 kB
 Staženo:  203 krát

Návrat nahoru
Zobrazit informace o autorovi Odeslat soukromou zprávu Odeslat e-mail
jihra



Založen: Sep 20, 2004
Příspěvky: 33
Bydliště: Ostrava

PříspěvekZaslal: pá duben 07 2017, 22:59    Předmět: Citovat

Lidičky, dík za rady, určitě zužitkuji.
Tak jsem z toho trochu jelen. Teď jsem dorazil domů. Magič ležel půlden v teple a ejhle - už nechcípá. Než jsem jej koupil, tak ležel 3 dny v nevytopené dřevěné boudě, tudíž byl fest prochladlý. Že by mechanické odpory v prochladlém mechanismu byly tak velké, že "zastavily" magič? Kdoví.
Každopádně mechanicky jede - až tedy na převíjení doprava. Ještě jsem zjistil, že se nějak zaseknul přepínač rychlostí, ale to asi půjde opravit. Elektricky je to horší, asi velké přechodové odpory v přepínačích atd. Levý kanál skoro nehraje, pravý jakž takž. No rozeberu, vypucuju, elyty asi poměním. Snad to pojede.



B43_mensi.jpg
 Komentář:

Stáhnout
 Soubor:  B43_mensi.jpg
 Velikost:  244.54 kB
 Staženo:  220 krát

Návrat nahoru
Zobrazit informace o autorovi Odeslat soukromou zprávu Odeslat e-mail
elektrosvit



Založen: Jun 27, 2016
Příspěvky: 2515

PříspěvekZaslal: pá duben 07 2017, 23:19    Předmět: Citovat

Přepínač rychlostí je při zapnutém magnetofonu blokován, pozor na to. Rovněž některá tlačítka na levé straně jsou mechanicky svázaná s tlačítky na pravé straně. Častým zdrojem problémů jsou přepínače, dají se však vyčistit. Bezhlavou výměnu kondenzátorů nedoporučuji, chce to měřit a vyměnit jen ty skutečně vadné.

Servisní návod
Návod k obsluze
Návrat nahoru
Zobrazit informace o autorovi Odeslat soukromou zprávu
Pikofarad



Založen: Dec 02, 2007
Příspěvky: 1615

PříspěvekZaslal: so duben 08 2017, 8:23    Předmět: Citovat

Pěkný,zachovalý kousek.A už i s funkcí self repair.Dobře jsi koupil Wink
Návrat nahoru
Zobrazit informace o autorovi Odeslat soukromou zprávu
jihra



Založen: Sep 20, 2004
Příspěvky: 33
Bydliště: Ostrava

PříspěvekZaslal: so duben 08 2017, 9:12    Předmět: Citovat

elektrosvit napsal(a):
Přepínač rychlostí je při zapnutém magnetofonu blokován, pozor na to. Rovněž některá tlačítka na levé straně jsou mechanicky svázaná s tlačítky na pravé straně. Častým zdrojem problémů jsou přepínače, dají se však vyčistit. Bezhlavou výměnu kondenzátorů nedoporučuji, chce to měřit a vyměnit jen ty skutečně vadné.

Servisní návod
Návod k obsluze


Na měření elytů přímo v plošňáku tuším existuje nějaký přípravek nebo měřák, ale teď si nevzpomenu, co to je zač. Máš s tím zkušenosti? Jo a dík za dokumentaci.
Návrat nahoru
Zobrazit informace o autorovi Odeslat soukromou zprávu Odeslat e-mail
breta1



Založen: Sep 09, 2005
Příspěvky: 3500

PříspěvekZaslal: so duben 08 2017, 9:31    Předmět: Citovat

http://www.zajic.cz/esr/esr.htm
Návrat nahoru
Zobrazit informace o autorovi Odeslat soukromou zprávu
jihra



Založen: Sep 20, 2004
Příspěvky: 33
Bydliště: Ostrava

PříspěvekZaslal: so duben 08 2017, 9:44    Předmět: Citovat

Super, dík, prostuduju.
Návrat nahoru
Zobrazit informace o autorovi Odeslat soukromou zprávu Odeslat e-mail
Zobrazit příspěvky z předchozích:   
Přidat nové téma   Zaslat odpověď       Obsah fóra Diskuzní fórum Elektro Bastlírny -> Audiotechnika Časy uváděny v GMT + 1 hodina
Jdi na stránku 1, 2, 3, 4, 5  Další
Strana 1 z 5

 
Přejdi na:  
Nemůžete odesílat nové téma do tohoto fóra.
Nemůžete odpovídat na témata v tomto fóru.
Nemůžete upravovat své příspěvky v tomto fóru.
Nemůžete mazat své příspěvky v tomto fóru.
Nemůžete hlasovat v tomto fóru.
Nemůžete připojovat soubory k příspěvkům
Můžete stahovat a prohlížet přiložené soubory

Powered by phpBB © 2001, 2005 phpBB Group
Forums ©
Nuke - Elektro Bastlirna

Informace na portálu Elektro bastlírny jsou prezentovány za účelem vzdělání čtenářů a rozšíření zájmu o elektroniku. Autoři článků na serveru neberou žádnou zodpovědnost za škody vzniklé těmito zapojeními. Rovněž neberou žádnou odpovědnost za případnou újmu na zdraví vzniklou úrazem elektrickým proudem. Autoři a správci těchto stránek nepřejímají záruku za správnost zveřejněných materiálů. Předkládané informace a zapojení jsou zveřejněny bez ohledu na případné patenty třetích osob. Nároky na odškodnění na základě změn, chyb nebo vynechání jsou zásadně vyloučeny. Všechny registrované nebo jiné obchodní známky zde použité jsou majetkem jejich vlastníků. Uvedením nejsou zpochybněna z toho vyplývající vlastnická práva. Použití konstrukcí v rozporu se zákonem je přísně zakázáno. Vzhledem k tomu, že původ předkládaných materiálů nelze žádným způsobem dohledat, nelze je použít pro komerční účely! Tento nekomerční server nemá z uvedených zapojení či konstrukcí žádný zisk. Nezodpovídáme za pravost předkládaných materiálů třetími osobami a jejich původ. V případě, že zjistíte porušení autorského práva či jiné nesrovnalosti, kontaktujte administrátory na diskuzním fóru EB.


PHP-Nuke Copyright © 2005 by Francisco Burzi. This is free software, and you may redistribute it under the GPL. PHP-Nuke comes with absolutely no warranty, for details, see the license.
Čas potřebný ke zpracování stránky 0.15 sekund