Vítejte na Elektro Bastlírn?
Nuke - Elektro Bastlirna
  Vytvořit účet
Hlavní · Fórum · DDump · Profil · Zprávy · Hledat na fóru


Nuke - Elektro Bastlirna: Diskuzní fórum

 FAQFAQ   HledatHledat   Uživatelské skupinyUživatelské skupiny   ProfilProfil   Soukromé zprávySoukromé zprávy   PřihlášeníPřihlášení 

Zapojení zvukového vstupu do Tesly Merkuru
Jdi na stránku 1, 2  Další
 
Přidat nové téma   Zaslat odpověď       Obsah fóra Diskuzní fórum Elektro Bastlírny -> Televizory, monitory a projektory - PORADNA pro amatéry a začátečníky
Zobrazit předchozí téma :: Zobrazit následující téma  
Autor Zpráva
105l



Založen: Oct 20, 2025
Příspěvky: 360
Bydliště: Ostrava

PříspěvekZaslal: út prosinec 23 2025, 16:07    Předmět: Zapojení zvukového vstupu do Tesly Merkuru Citovat

Dobrý den, dostal jsem další blbý nápad. Není možné nějak rozpojit spoj mezi přijímačem zvuku a zesilovačem v Merkuru? Někdo mi tam totiž zapojil video vstup, budu ho předělávat na cinch, tak mě napadlo, jestli bych si nemohl zapojit i zvuk. Na přepínání televize/vstup je takový ten kulatý páčkový přepínač, ale který má využitou pouze jednu stranu, napadlo mě že tam bych si mohl doprostřed zapojil vstup do zesilovače, na jeden boční pin zvuk z televize (nedovedu si představit jak to je tam zapojené) a na druhý bych zapojil ten cinch.
Už jsem si tam úspěšně udělal výstup zvuku na externí reproduktor.
Návrat nahoru
Zobrazit informace o autorovi Odeslat soukromou zprávu
rampage



Založen: Jan 12, 2025
Příspěvky: 363

PříspěvekZaslal: út prosinec 23 2025, 16:22    Předmět: Citovat

Tu
Návrat nahoru
Zobrazit informace o autorovi Odeslat soukromou zprávu
105l



Založen: Oct 20, 2025
Příspěvky: 360
Bydliště: Ostrava

PříspěvekZaslal: út prosinec 23 2025, 16:27    Předmět: Citovat

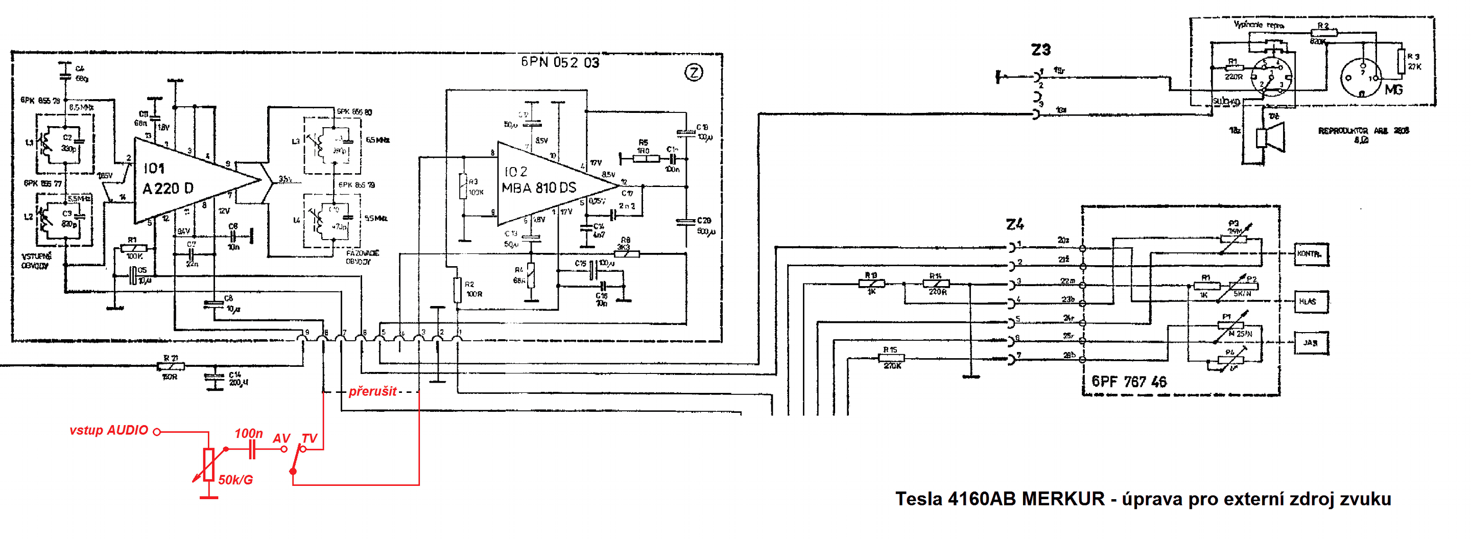
Děkuju, ale teda když bych nedal pryč ten R21 tak tak budu mít na pozadí šum jaký je když bych neměl naladěnou stanici? Já bych chtěl ať to zůstane funkční i na normální televizní signál.
Mám teda připojit na jeden krajní vývod přepínače C8, na prostředek ten pin 3 modulu Z a na druhý krajní vývod vstup? (předpokládám že ten pin 3 je na tom modulu Z hned napojený na ten C8, teď to nemám rozdělané) A zem zvuku (nevím jestli to teď nazývám správně, vedlejší drát z cinche) taky na pin 2 modulu Z?

Nechtěl bych si totiž to nechávat jedině na vstup, protože se mi občas když to mám na něho zapojené obraz různě divně deformuje, tak abych si to případné mohl zapojit zpátky na modulátor
Návrat nahoru
Zobrazit informace o autorovi Odeslat soukromou zprávu
Hill
Administrátor


Založen: Sep 10, 2004
Příspěvky: 21322
Bydliště: Jičín, Český ráj

PříspěvekZaslal: út prosinec 23 2025, 18:05    Předmět: Citovat

Máš k dispozici jediný přepínací kontakt, tak ti nezbude, než přidat potenciometr hlasitosti pro vnější zdroj signálu. A, aby tam nelezl z vf dílu šum, ubrat hlasitost původním potenciometrem. Ideální by bylo, tento pin spojit odporem do 1k na kostru, tím umlčíš výstup z detektoru.

V originál zapojení se totiž hlasitost řídí napětím na pinu 6 konektoru modulu Z (přesněji odporem, který svádí proud z tohoto pinu na zem).
Propojkou z pinu Z8 na pin Z3 normálně jde už nf signál s nastavenou hlasitostí. A před ten elektronický regulátor v A220D ho není, kam přivést.
Jenomže do pinu Z3 potřebuješ přivést signál s už nastavitelnou hlasitostí, tak ti nezbude, než přidat další potenciometr, kterým budeš řídit hlasitost pouze z AV vstupu.

A deformace obrazu při určitých signálech? Nejčastěji vznikají příliš velkou amplitudou jasového signálu na vstupu, přičemž dojde nejen k oříznutí synchronizačních impulsů, ale televize interpretuje černou, jako synchronizační signál. K tomu dochází, jestli vstup televize nezatěžuje zdroj signálu jmenovitou impedancí 75 Ω.



ts4160_modZ_Merkur.png
 Komentář:
 Velikost:  234.55 kB
 Zobrazeno:  130 krát

ts4160_modZ_Merkur.png


Návrat nahoru
Zobrazit informace o autorovi Odeslat soukromou zprávu
105l



Založen: Oct 20, 2025
Příspěvky: 360
Bydliště: Ostrava

PříspěvekZaslal: út prosinec 23 2025, 18:19    Předmět: Citovat

Teoreticky bych to mohl zkusit předělat ještě na pětikontaktový přepínač co tu mám, jenom nevím jak bych ho tam přichytil. Nebo bych udělal samostatné přepínače na zvuk a obraz.
Nebo v podstatě, na setopboxu to regulovat jde, takže by to ani moc nevadilo, kdybych ten zvuk měl na merkuru na trvalo na stejné hlasitosti.
Zkusím to nějak zapojit a potom napíšu (cinchový konektor ještě nemám, zatím si to připojím asi na pětikolík na rádio)
Návrat nahoru
Zobrazit informace o autorovi Odeslat soukromou zprávu
105l



Založen: Oct 20, 2025
Příspěvky: 360
Bydliště: Ostrava

PříspěvekZaslal: út prosinec 23 2025, 18:38    Předmět: Citovat

Jo už vidím to propojení, S4, to teda přestřihnu a z pinu 3 to dám na prostředek přepínače a z 8 na jeden kraj
Návrat nahoru
Zobrazit informace o autorovi Odeslat soukromou zprávu
105l



Založen: Oct 20, 2025
Příspěvky: 360
Bydliště: Ostrava

PříspěvekZaslal: út prosinec 23 2025, 21:02    Předmět: Citovat

Kromě kablu se vstupem zvuku to mám zapojené
Návrat nahoru
Zobrazit informace o autorovi Odeslat soukromou zprávu
samec



Založen: Dec 19, 2017
Příspěvky: 6604

PříspěvekZaslal: út prosinec 23 2025, 21:28    Předmět: Citovat

Nešlo by audio signál zaviesť na niektorý pin A220D a niektorý iný pin prizemniť?
https://www-user.tu-chemnitz.de/~heha/basteln/Konsumg%C3%BCter/DDR-Halbleiter/a220.gif
Návrat nahoru
Zobrazit informace o autorovi Odeslat soukromou zprávu
105l



Založen: Oct 20, 2025
Příspěvky: 360
Bydliště: Ostrava

PříspěvekZaslal: út prosinec 23 2025, 21:40    Předmět: Citovat

Já jsem stejně už si udělal díru na potenciometr, tak je to jedno.
Je to nějaký SP3-9a, 9F68, 47k20%, napsané azbukou, snad je tam použitelný.


Naposledy upravil 105l dne út prosinec 23 2025, 21:54, celkově upraveno 1 krát.
Návrat nahoru
Zobrazit informace o autorovi Odeslat soukromou zprávu
105l



Založen: Oct 20, 2025
Příspěvky: 360
Bydliště: Ostrava

PříspěvekZaslal: út prosinec 23 2025, 21:49    Předmět: Citovat

Asi to zatím nechám rozpojené a dokončím to až mi dojdou konektory, zjistil jsem že pětikolí se mi moc zapojovat nechce a konec jacku jsem někde ztratil, navíc bych to musel akorát potom zase odpojovat.
Návrat nahoru
Zobrazit informace o autorovi Odeslat soukromou zprávu
xsc



Založen: Sep 25, 2014
Příspěvky: 8698

PříspěvekZaslal: út prosinec 23 2025, 23:38    Předmět: Citovat

samec napsal(a):
Nešlo by audio signál zaviesť na niektorý pin A220D a niektorý iný pin prizemniť?
https://www-user.tu-chemnitz.de/~heha/basteln/Konsumg%C3%BCter/DDR-Halbleiter/a220.gif
Na tohle je přímo až A223D, jinak TBA120U. Ta má externí vstup přepínaný napětím. V Merkuru2 už je použitá, ale audiovstup zapojený nemá.
Návrat nahoru
Zobrazit informace o autorovi Odeslat soukromou zprávu
warp



Založen: Sep 23, 2004
Příspěvky: 1253
Bydliště: Praha-Sobín

PříspěvekZaslal: út prosinec 23 2025, 23:51    Předmět: Citovat

Co tam dát tam dvojitý poťák TPxxx, ale musel by se složit ze dvou 50k/G a původní dráha. Otázka bude ovšem v sehnání ...
Návrat nahoru
Zobrazit informace o autorovi Odeslat soukromou zprávu Odeslat e-mail
105l



Založen: Oct 20, 2025
Příspěvky: 360
Bydliště: Ostrava

PříspěvekZaslal: st prosinec 24 2025, 8:23    Předmět: Citovat

Mám tu nějaký dvojitý, u kterého jsem zjistil, že maximální odpor je 100, v polovině rozsahuju je to pořád ale 90, to bude asi ten lineární ne?
Návrat nahoru
Zobrazit informace o autorovi Odeslat soukromou zprávu
xsc



Založen: Sep 25, 2014
Příspěvky: 8698

PříspěvekZaslal: st prosinec 24 2025, 8:26    Předmět: Citovat

Když je v polovině rozsahu 90, tak zjevně lineární není. To by bylo 50, to je přece polovina ze 100.
Návrat nahoru
Zobrazit informace o autorovi Odeslat soukromou zprávu
Hill
Administrátor


Založen: Sep 10, 2004
Příspěvky: 21322
Bydliště: Jičín, Český ráj

PříspěvekZaslal: st prosinec 24 2025, 10:03    Předmět: Citovat

warp napsal(a):
Co tam dát tam dvojitý poťák TPxxx, ale musel by se složit ze dvou 50k/G a původní dráha. Otázka bude ovšem v sehnání ...

Asi by to šlo, dát tam tandemák TP163 47k/G a jednu dráhu mu vyměnit za 5k/N (lineární, o logaritmickou regulaci se postará obvod v A220 - s vyšší hodnotou odporu to většinu otáčky řve a teprve na dolním konci začne regulace něco dělat).
Ono by také šlo vyměnit modul Z za modul 6PN 053 74 z Mánesa 4431A, a na pin Z4 přivést přes kondík nf signál zvenčí, stejně je tento pin v Merkuru nevyužitý. A na kontakt vyvedený na desce (blokování) přivést nebo nepřivést potenciál kostry. Ukostřením tohoto pinu se totiž přepne do režimu VCR, aktivuje nf vstup a zablokuje mezifrekvenci s detektorem.
Nakonec by to šlo předělat i na A223D, ale zásahy do základní desky i do desky modulu Z už tak prosté nejsou a je jich víc.
Návrat nahoru
Zobrazit informace o autorovi Odeslat soukromou zprávu
Zobrazit příspěvky z předchozích:   
Přidat nové téma   Zaslat odpověď       Obsah fóra Diskuzní fórum Elektro Bastlírny -> Televizory, monitory a projektory - PORADNA pro amatéry a začátečníky Časy uváděny v GMT + 1 hodina
Jdi na stránku 1, 2  Další
Strana 1 z 2

 
Přejdi na:  
Nemůžete odesílat nové téma do tohoto fóra.
Nemůžete odpovídat na témata v tomto fóru.
Nemůžete upravovat své příspěvky v tomto fóru.
Nemůžete mazat své příspěvky v tomto fóru.
Nemůžete hlasovat v tomto fóru.
Nemůžete připojovat soubory k příspěvkům
Můžete stahovat a prohlížet přiložené soubory

Powered by phpBB © 2001, 2005 phpBB Group
Forums ©
Nuke - Elektro Bastlirna

Informace na portálu Elektro bastlírny jsou prezentovány za účelem vzdělání čtenářů a rozšíření zájmu o elektroniku. Autoři článků na serveru neberou žádnou zodpovědnost za škody vzniklé těmito zapojeními. Rovněž neberou žádnou odpovědnost za případnou újmu na zdraví vzniklou úrazem elektrickým proudem. Autoři a správci těchto stránek nepřejímají záruku za správnost zveřejněných materiálů. Předkládané informace a zapojení jsou zveřejněny bez ohledu na případné patenty třetích osob. Nároky na odškodnění na základě změn, chyb nebo vynechání jsou zásadně vyloučeny. Všechny registrované nebo jiné obchodní známky zde použité jsou majetkem jejich vlastníků. Uvedením nejsou zpochybněna z toho vyplývající vlastnická práva. Použití konstrukcí v rozporu se zákonem je přísně zakázáno. Vzhledem k tomu, že původ předkládaných materiálů nelze žádným způsobem dohledat, nelze je použít pro komerční účely! Tento nekomerční server nemá z uvedených zapojení či konstrukcí žádný zisk. Nezodpovídáme za pravost předkládaných materiálů třetími osobami a jejich původ. V případě, že zjistíte porušení autorského práva či jiné nesrovnalosti, kontaktujte administrátory na diskuzním fóru EB.


PHP-Nuke Copyright © 2005 by Francisco Burzi. This is free software, and you may redistribute it under the GPL. PHP-Nuke comes with absolutely no warranty, for details, see the license.
Čas potřebný ke zpracování stránky 0.17 sekund