Vítejte na Elektro Bastlírn?
Nuke - Elektro Bastlirna
  Vytvořit účet Hlavní · Fórum · DDump · Profil · Zprávy · Hledat na fóru · Příspěvky na provoz EB

Vlákno na téma KORONAVIRUS - nutná registrace


Nuke - Elektro Bastlirna: Diskuzní fórum

 FAQFAQ   HledatHledat   Uživatelské skupinyUživatelské skupiny   ProfilProfil   Soukromé zprávySoukromé zprávy   PřihlášeníPřihlášení 

Regulace otáček motoru 1f bezkomutátoru
Jdi na stránku 1, 2, 3  Další
 
Přidat nové téma   Zaslat odpověď       Obsah fóra Diskuzní fórum Elektro Bastlírny -> Poradna
Zobrazit předchozí téma :: Zobrazit následující téma  
Autor Zpráva
PCmaniac99



Založen: Feb 07, 2008
Příspěvky: 886
Bydliště: Jablonec nad Nisou

PříspěvekZaslal: po září 09 2024, 9:28    Předmět: Regulace otáček motoru 1f bezkomutátoru Citovat

Ahoj, prosím poraďtě mi čím regulovat otáčky 30w 1f motorku. Je to vodní čerpadlo, rotor je magnetický váleček, stator je zalité vinutí. Nechci omezovat průtok vody mechanicky ale chci snížit spotřebu el. energie za cenu nižšího průtoku vody.
Návrat nahoru
Zobrazit informace o autorovi Odeslat soukromou zprávu Odeslat e-mail
barnodaj



Založen: Apr 16, 2011
Příspěvky: 968
Bydliště: Vodňansko

PříspěvekZaslal: po září 09 2024, 9:48    Předmět: Citovat

Snížit kmitočet a napětí tak, aby při nižším kmitočtu nebyl překročen jmenovitý proud vinutím motorku. Tedy regulovat frekvenčním měničem.
Návrat nahoru
Zobrazit informace o autorovi Odeslat soukromou zprávu
samec



Založen: Dec 19, 2017
Příspěvky: 5915

PříspěvekZaslal: po září 09 2024, 10:07    Předmět: Citovat

Znížením prietoku sa zníži aj výkon. Čerpadlo nečerpá, nekoná prácu. Voda sa krúti naprázdno vnútri čerpadla.
Návrat nahoru
Zobrazit informace o autorovi Odeslat soukromou zprávu
jezevec
Hlavní moderátor


Založen: Jun 13, 2004
Příspěvky: 6087
Bydliště: Břeclavsko

PříspěvekZaslal: po září 09 2024, 10:09    Předmět: Citovat

A o kolik si myslíš, že snížíš spotřebu? Když započteš příkon frekvenčního měniče tak ji naopak zvýšíš plus náklady na měnič.
Takže ušetřím, ať to stojí co to stojí...
Návrat nahoru
Zobrazit informace o autorovi Odeslat soukromou zprávu Zobrazit autorovy WWW stránky
Olchor



Založen: Nov 18, 2009
Příspěvky: 1765
Bydliště: Blansko

PříspěvekZaslal: po září 09 2024, 10:58    Předmět: Citovat

Jde o synchronní motor, tedy otáčky odpovídají frekvenci sítě. Tady opravdu pomůže jen frekvenční měnič. Ovšem za tu cenu můžeš koupit jiné čerpadlo.
Jestli by nevadil přerušovaný provoz, můžeš snížit spotřebu intervalovým spínáním čerpadla, třeba 5s běží, 5 s klid.
Návrat nahoru
Zobrazit informace o autorovi Odeslat soukromou zprávu
PCmaniac99



Založen: Feb 07, 2008
Příspěvky: 886
Bydliště: Jablonec nad Nisou

PříspěvekZaslal: po září 09 2024, 11:30    Předmět: Citovat

Jezevec - to opravdu odpovídáš na můj dotaz?

Dík za reakce, s frekvenčním měničem to postrádá smysl protože je drahý. Nechám to tak jak to je. Je to akvarijní filtrace s velkou filtrační nádobou ale trošku zbytečným průtokem vody, stačil by mi i menší průtok proto jsem chtěl snížit spotřebu energie - provoz 24/7.

Samec - když elektromotor zatížím na hřídeli tak se zvýší jeho odběr energie. Když přiškrtím výstup čerpadla tak je to to samé ne? Mám wattmetr tak udělám pokus..
Návrat nahoru
Zobrazit informace o autorovi Odeslat soukromou zprávu Odeslat e-mail
samponek



Založen: May 11, 2015
Příspěvky: 3907

PříspěvekZaslal: po září 09 2024, 11:33    Předmět: Citovat

Kondenzátor.
Návrat nahoru
Zobrazit informace o autorovi Odeslat soukromou zprávu
pepik9



Založen: Aug 31, 2010
Příspěvky: 2488

PříspěvekZaslal: po září 09 2024, 11:58    Předmět: Citovat

Regulovaný obtok - z výtlaku čerpadla do sání.
Návrat nahoru
Zobrazit informace o autorovi Odeslat soukromou zprávu
rnbw



Založen: Mar 21, 2006
Příspěvky: 36836
Bydliště: Bratislava

PříspěvekZaslal: po září 09 2024, 12:01    Předmět: Citovat

Kup slabsie cerpadlo.
Návrat nahoru
Zobrazit informace o autorovi Odeslat soukromou zprávu
Hape



Založen: Feb 08, 2010
Příspěvky: 756
Bydliště: Dolní Cerekev, Česko (Czechia)

PříspěvekZaslal: po září 09 2024, 14:18    Předmět: Citovat

PCmaniac99 napsal(a):
...když elektromotor zatížím na hřídeli tak se zvýší jeho odběr energie. Když přiškrtím výstup čerpadla tak je to to samé ne? Mám wattmetr tak udělám pokus..
Ne, to opravdu není to samé, i když se to tak může zdát. U odstředivého čerpadla snížením průtoku, nebo jeho zastavením ve skutečnosti elektromotor odlehčíš. Ovšem u čerpadla, které má malý rozdíl mezi sací a výtlačnou výškou a malý litrový výkon nebude odlehčení asi moc výrazné.
Návrat nahoru
Zobrazit informace o autorovi Odeslat soukromou zprávu Zobrazit autorovy WWW stránky
Olchor



Založen: Nov 18, 2009
Příspěvky: 1765
Bydliště: Blansko

PříspěvekZaslal: po září 09 2024, 14:55    Předmět: Citovat

Tak zrovna u té filtrace by snad intervalové spínání nemuselo vadit, pár součástek a je to. Možná by šel koupit i nějaký hotový modul.
Návrat nahoru
Zobrazit informace o autorovi Odeslat soukromou zprávu
Artaban001



Založen: Apr 01, 2004
Příspěvky: 10064
Bydliště: Pendrov

PříspěvekZaslal: po září 09 2024, 16:07    Předmět: Citovat

Čerpadlo je synchronní motor z autorozběhem ( směr rotace je dán nesymetrickým tvarem pólových nádstavců, rozběh se usnadňuje vůlí mezi magnetem a vrtulkou cca 3/4 otáčky. Regulace motorku jedině frekvenční měnič, nebo, jak se využívá u fontánek - nastavitelný bypass. Část vody se vrací do sání, zbytek jde ven. Poměr bypass/výtok se nastavuje šoupátkem, nebo nějakým jiným štelovátkem. Čerpadlo z pračky jsem kdysi převinul na 12 V a narouboval jsem na něj Hallswitch a spínací elektroniku z nějakého DC ventilátoru. Nějak to fungovalo, ale žralo to jak Zil.
Návrat nahoru
Zobrazit informace o autorovi Odeslat soukromou zprávu Odeslat e-mail
PCmaniac99



Založen: Feb 07, 2008
Příspěvky: 886
Bydliště: Jablonec nad Nisou

PříspěvekZaslal: út září 10 2024, 7:50    Předmět: Citovat

Čerpadlo nelze vyměnit, leda s celou čerpací hlavou a nevím jestli dělaj slabší. Je to kanystrový filtr SUNSUN 703B. Řešení by mohl být bypass mezi vstupní a výstupní hadicí pomocí 2x T kusu a ventilu. Děkuji za vaše odpovědi.
Návrat nahoru
Zobrazit informace o autorovi Odeslat soukromou zprávu Odeslat e-mail
Olchor



Založen: Nov 18, 2009
Příspěvky: 1765
Bydliště: Blansko

PříspěvekZaslal: út září 10 2024, 9:37    Předmět: Citovat

Jo, ale jestli ti jde hlavně o spotřebu, ta tím bypassem moc neklesne. Ostatně to jde snadno změřit.
Návrat nahoru
Zobrazit informace o autorovi Odeslat soukromou zprávu
barnodaj



Založen: Apr 16, 2011
Příspěvky: 968
Bydliště: Vodňansko

PříspěvekZaslal: út září 10 2024, 9:46    Předmět: Citovat

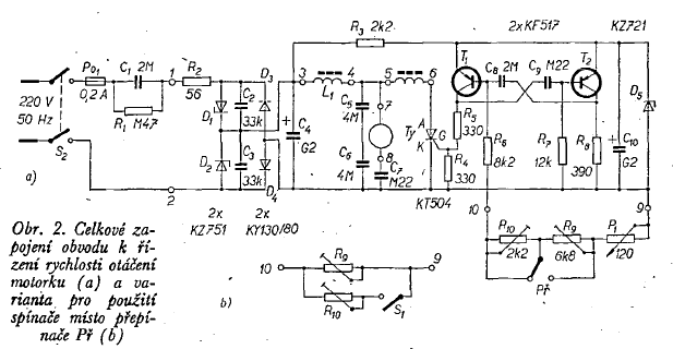
V AR10/74 vyšlo řízení otáček synchronního motorku pro gramofon, možná by tudy vedla cesta?
Součástky se dají koupit i dnes u vetešníků jako Hadex a další...



z_ot.png
 Komentář:
 Velikost:  33.67 kB
 Zobrazeno:  68 krát

z_ot.png



lánek.png
 Komentář:
 Velikost:  223.16 kB
 Zobrazeno:  75 krát

lánek.png


Návrat nahoru
Zobrazit informace o autorovi Odeslat soukromou zprávu
Zobrazit příspěvky z předchozích:   
Přidat nové téma   Zaslat odpověď       Obsah fóra Diskuzní fórum Elektro Bastlírny -> Poradna Časy uváděny v GMT + 1 hodina
Jdi na stránku 1, 2, 3  Další
Strana 1 z 3

 
Přejdi na:  
Nemůžete odesílat nové téma do tohoto fóra.
Nemůžete odpovídat na témata v tomto fóru.
Nemůžete upravovat své příspěvky v tomto fóru.
Nemůžete mazat své příspěvky v tomto fóru.
Nemůžete hlasovat v tomto fóru.
Nemůžete připojovat soubory k příspěvkům
Můžete stahovat a prohlížet přiložené soubory

Powered by phpBB © 2001, 2005 phpBB Group
Forums ©
Nuke - Elektro Bastlirna

Informace na portálu Elektro bastlírny jsou prezentovány za účelem vzdělání čtenářů a rozšíření zájmu o elektroniku. Autoři článků na serveru neberou žádnou zodpovědnost za škody vzniklé těmito zapojeními. Rovněž neberou žádnou odpovědnost za případnou újmu na zdraví vzniklou úrazem elektrickým proudem. Autoři a správci těchto stránek nepřejímají záruku za správnost zveřejněných materiálů. Předkládané informace a zapojení jsou zveřejněny bez ohledu na případné patenty třetích osob. Nároky na odškodnění na základě změn, chyb nebo vynechání jsou zásadně vyloučeny. Všechny registrované nebo jiné obchodní známky zde použité jsou majetkem jejich vlastníků. Uvedením nejsou zpochybněna z toho vyplývající vlastnická práva. Použití konstrukcí v rozporu se zákonem je přísně zakázáno. Vzhledem k tomu, že původ předkládaných materiálů nelze žádným způsobem dohledat, nelze je použít pro komerční účely! Tento nekomerční server nemá z uvedených zapojení či konstrukcí žádný zisk. Nezodpovídáme za pravost předkládaných materiálů třetími osobami a jejich původ. V případě, že zjistíte porušení autorského práva či jiné nesrovnalosti, kontaktujte administrátory na diskuzním fóru EB.


PHP-Nuke Copyright © 2005 by Francisco Burzi. This is free software, and you may redistribute it under the GPL. PHP-Nuke comes with absolutely no warranty, for details, see the license.
Čas potřebný ke zpracování stránky 0.28 sekund