Vítejte na Elektro Bastlírn?
Nuke - Elektro Bastlirna
  Vytvořit účet Hlavní · Fórum · DDump · Profil · Zprávy · Hledat na fóru · Příspěvky na provoz EB

Vlákno na téma KORONAVIRUS - nutná registrace


Nuke - Elektro Bastlirna: Diskuzní fórum

 FAQFAQ   HledatHledat   Uživatelské skupinyUživatelské skupiny   ProfilProfil   Soukromé zprávySoukromé zprávy   PřihlášeníPřihlášení 

Zdroj BK127 porucha, chyba je to BK125 Vyřešeno
Jdi na stránku 1, 2  Další
 
Přidat nové téma   Zaslat odpověď       Obsah fóra Diskuzní fórum Elektro Bastlírny -> Svářečky, UPS, nabíječe, měniče, zdroje, trafa a další
Zobrazit předchozí téma :: Zobrazit následující téma  
Autor Zpráva
samponek



Založen: May 11, 2015
Příspěvky: 3907

PříspěvekZaslal: so leden 21 2023, 6:38    Předmět: Zdroj BK127 porucha, chyba je to BK125 Vyřešeno Citovat

Zajiskřilo se a odpráskl jsem to velkou cívkou 1.5H. Vyměnil všechny stabilizátory, napětí dává správné, ale stále mírně svítí červené diody přetížení + - 15V naprázdno.

Naposledy upravil samponek dne ne leden 22 2023, 19:37, celkově upraveno 2 krát.
Návrat nahoru
Zobrazit informace o autorovi Odeslat soukromou zprávu
ok1hga



Založen: Nov 28, 2006
Příspěvky: 12588
Bydliště: Česká Třebová

PříspěvekZaslal: so leden 21 2023, 8:56    Předmět: Citovat

to se chlubíš ?
nebo nevíš co s tím ?
a je to vůbec BK127 ?
. . . ten totiž nemá +/- 15V, ale jen 0-20 V/ 0-1 A . . .
zdroj BK127

navíc se tady ten zdroj už několikrát řešil . . .
BK127 - 2015
BK127 - 2017
BK127 - 2021



BK127 ARB1-1985.jpg
 Komentář:
 Velikost:  153.84 kB
 Zobrazeno:  184 krát

BK127 ARB1-1985.jpg


Návrat nahoru
Zobrazit informace o autorovi Odeslat soukromou zprávu
samponek



Založen: May 11, 2015
Příspěvky: 3907

PříspěvekZaslal: so leden 21 2023, 19:16    Předmět: Citovat

Chyba, je to BK125, omlouvám se, nevím proč svítí ty diody, když trazistory u těch ledek se zdají být v pořádku.
A než jsem připojil tu jiskřivou cívku, tak indikace nadproudu normálně fungovala. Jestli někdo neřešil stejnou poruchu indikace nadproudu, ale asi jinak, než velikou cívkou se zdroj odprásknout nedá.
Návrat nahoru
Zobrazit informace o autorovi Odeslat soukromou zprávu
ok1hga



Založen: Nov 28, 2006
Příspěvky: 12588
Bydliště: Česká Třebová

PříspěvekZaslal: so leden 21 2023, 20:11    Předmět: Citovat

a nastavit to znovu jsi zkoušel ??


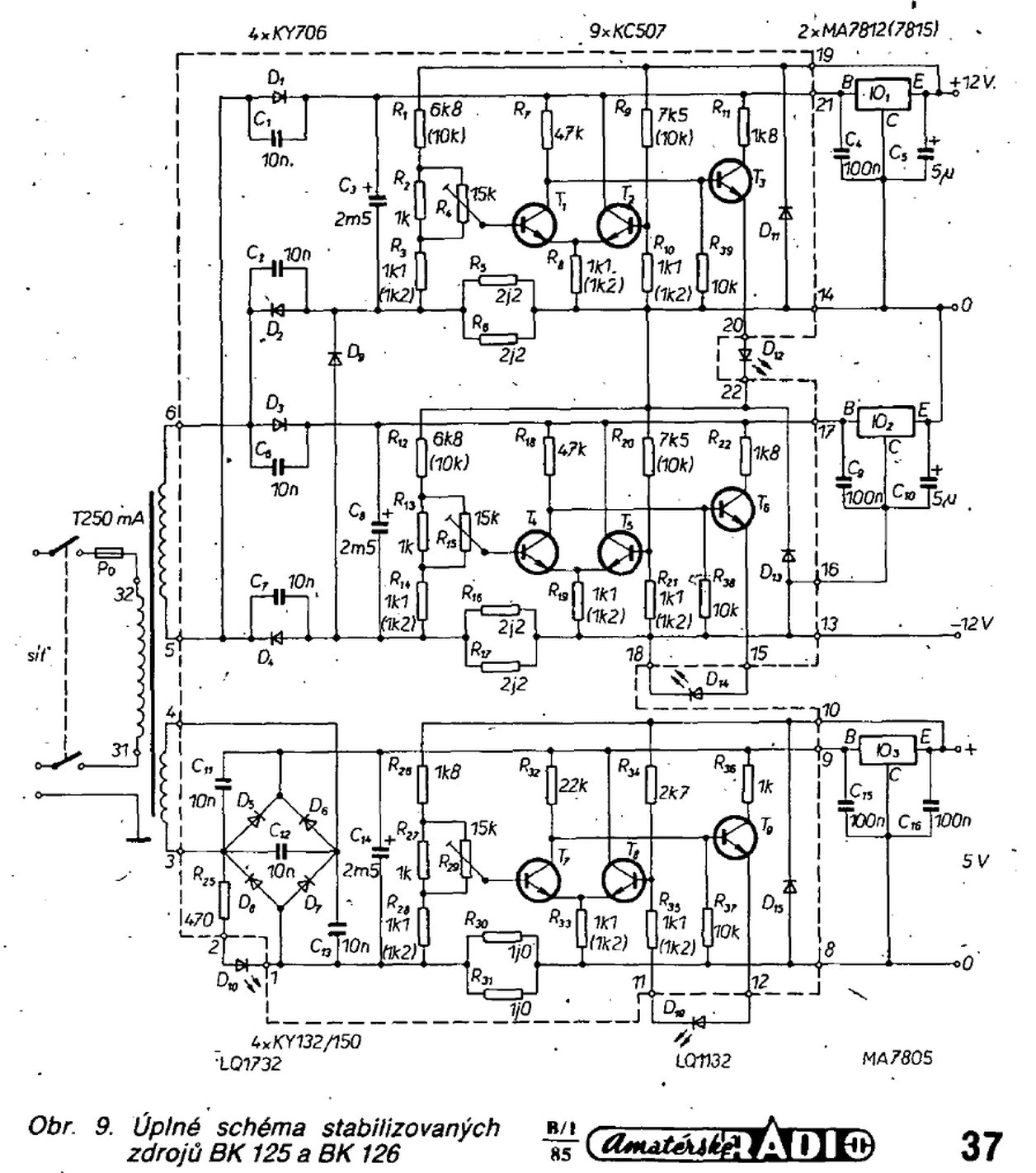
BK125-126 ARB1-1985.jpg
 Komentář:
 Velikost:  250.94 kB
 Zobrazeno:  208 krát

BK125-126 ARB1-1985.jpg


Návrat nahoru
Zobrazit informace o autorovi Odeslat soukromou zprávu
Kremik



Založen: Mar 30, 2012
Příspěvky: 3653
Bydliště: Havířov

PříspěvekZaslal: so leden 21 2023, 20:16    Předmět: Citovat

samponek napsal(a):
když trazistory u těch ledek se zdají být v pořádku.

No jestli jsi je testoval jiskrovou metodou jako kdysi KD503... Laughing
Jinak ta tvá terminologie je opravdu úžasná. Jiskřivou cívku si honem budu muset taky opatřit Smile Možná byla málo zhubněná, proto odpálila zdroj Smile
Jinak, kdo je schopen postavit zeslík nějakej ten kW v D, k tomu patřičně upravit počítačové zdroje, ten určitě i snadno zjistí, proč mu mžourá LEDka.
Návrat nahoru
Zobrazit informace o autorovi Odeslat soukromou zprávu Odeslat e-mail
samponek



Založen: May 11, 2015
Příspěvky: 3907

PříspěvekZaslal: so leden 21 2023, 21:10    Předmět: Citovat

Máš pravdu, já jen jestli někdo neřešil stejnou poruchu Very Happy
S ničím jsem netočil, když ledky před odprásknutím normálně fungovaly.
Návrat nahoru
Zobrazit informace o autorovi Odeslat soukromou zprávu
ok1hga



Založen: Nov 28, 2006
Příspěvky: 12588
Bydliště: Česká Třebová

PříspěvekZaslal: so leden 21 2023, 22:21    Předmět: Citovat

samponek napsal(a):
Vyměnil všechny stabilizátory, napětí dává správné, ale stále mírně svítí červené diody přetížení + - 15V naprázdno.

a proudy to dá správné ???
kontroloval jsi bočníky ? (můžou být načuzené a mít větší odpor)
funguje nastavení prahu rozsvícení LED při 300mA ???
Návrat nahoru
Zobrazit informace o autorovi Odeslat soukromou zprávu
samponek



Založen: May 11, 2015
Příspěvky: 3907

PříspěvekZaslal: ne leden 22 2023, 19:36    Předmět: Citovat

Opraveno, vyměnil jsem KC507 a jede to, přece jen byly poškozený, děkuji Smile
Návrat nahoru
Zobrazit informace o autorovi Odeslat soukromou zprávu
ok1hga



Založen: Nov 28, 2006
Příspěvky: 12588
Bydliště: Česká Třebová

PříspěvekZaslal: ne leden 22 2023, 20:10    Předmět: Citovat

samponek napsal(a):
Opraveno, vyměnil jsem KC507 a jede to Smile

na který pozici ?
Návrat nahoru
Zobrazit informace o autorovi Odeslat soukromou zprávu
EKKAR



Založen: Mar 16, 2005
Příspěvky: 34918
Bydliště: Česká Třebová, JN89FW21

PříspěvekZaslal: ne leden 22 2023, 21:01    Předmět: Citovat

Pravděpodobně na místě těch posledních, co spínají ty kontrolkový LEDky - T3, T6 a T9 ... Protože ty jsou zapojený jako spínače, spínají k LEDkám kladný napětí proti zápornějšímu bodu zapojení a jestli byly "načnutý", tak klidně mohly částečně vést ...
_________________
Nasliněný prst na svorkovnici domovního rozvaděče: Jó, paninko, máte tam ty Voltíky všecky...
A kutilmile - nelituju tě Mr. Green Mr. Green !!!
Návrat nahoru
Zobrazit informace o autorovi Odeslat soukromou zprávu Odeslat e-mail
samponek



Založen: May 11, 2015
Příspěvky: 3907

PříspěvekZaslal: po leden 23 2023, 14:03    Předmět: Citovat

Ano, je to přesně jak píše EKKAR.
V tišťáku se zdály v pořádku, ale nebyly.
Návrat nahoru
Zobrazit informace o autorovi Odeslat soukromou zprávu
mi-ro



Založen: Feb 08, 2005
Příspěvky: 8645
Bydliště: rovina u Kolína

PříspěvekZaslal: po leden 23 2023, 16:20    Předmět: Citovat

Polovodič nemusí být jen dobrý nebo vadný. Už se mi stalo mockrát že nějakou peckou změnil hodnoty zesílení, svod nebo jiné. Kdo kdysi vyráběl UHF zesilovače s dvoubázovými FETy, ví dobře jak se dá trand poloodpráskout.
_________________
..to bude jen ňákej odpůrek
Návrat nahoru
Zobrazit informace o autorovi Odeslat soukromou zprávu Odeslat e-mail
kutilmil
Pod dozorem moderátorů


Založen: Nov 01, 2008
Příspěvky: 4297
Bydliště: Skalica

PříspěvekZaslal: po leden 23 2023, 16:47    Předmět: Citovat

Ja sa len čudujem, že to súdruzi neurobili tak, že by to vedelo prúd aj limitovať a nie len zobrazovať prekročenie maxima.....
Návrat nahoru
Zobrazit informace o autorovi Odeslat soukromou zprávu
rnbw



Založen: Mar 21, 2006
Příspěvky: 36958
Bydliště: Bratislava

PříspěvekZaslal: po leden 23 2023, 17:52    Předmět: Citovat

Prud limituje samotny stabilizator.
Návrat nahoru
Zobrazit informace o autorovi Odeslat soukromou zprávu
kutilmil
Pod dozorem moderátorů


Založen: Nov 01, 2008
Příspěvky: 4297
Bydliště: Skalica

PříspěvekZaslal: po leden 23 2023, 18:28    Předmět: Citovat

To vím ale príde mi to také zvlášte.....
Návrat nahoru
Zobrazit informace o autorovi Odeslat soukromou zprávu
Zobrazit příspěvky z předchozích:   
Přidat nové téma   Zaslat odpověď       Obsah fóra Diskuzní fórum Elektro Bastlírny -> Svářečky, UPS, nabíječe, měniče, zdroje, trafa a další Časy uváděny v GMT + 1 hodina
Jdi na stránku 1, 2  Další
Strana 1 z 2

 
Přejdi na:  
Nemůžete odesílat nové téma do tohoto fóra.
Nemůžete odpovídat na témata v tomto fóru.
Nemůžete upravovat své příspěvky v tomto fóru.
Nemůžete mazat své příspěvky v tomto fóru.
Nemůžete hlasovat v tomto fóru.
Nemůžete připojovat soubory k příspěvkům
Můžete stahovat a prohlížet přiložené soubory

Powered by phpBB © 2001, 2005 phpBB Group
Forums ©
Nuke - Elektro Bastlirna

Informace na portálu Elektro bastlírny jsou prezentovány za účelem vzdělání čtenářů a rozšíření zájmu o elektroniku. Autoři článků na serveru neberou žádnou zodpovědnost za škody vzniklé těmito zapojeními. Rovněž neberou žádnou odpovědnost za případnou újmu na zdraví vzniklou úrazem elektrickým proudem. Autoři a správci těchto stránek nepřejímají záruku za správnost zveřejněných materiálů. Předkládané informace a zapojení jsou zveřejněny bez ohledu na případné patenty třetích osob. Nároky na odškodnění na základě změn, chyb nebo vynechání jsou zásadně vyloučeny. Všechny registrované nebo jiné obchodní známky zde použité jsou majetkem jejich vlastníků. Uvedením nejsou zpochybněna z toho vyplývající vlastnická práva. Použití konstrukcí v rozporu se zákonem je přísně zakázáno. Vzhledem k tomu, že původ předkládaných materiálů nelze žádným způsobem dohledat, nelze je použít pro komerční účely! Tento nekomerční server nemá z uvedených zapojení či konstrukcí žádný zisk. Nezodpovídáme za pravost předkládaných materiálů třetími osobami a jejich původ. V případě, že zjistíte porušení autorského práva či jiné nesrovnalosti, kontaktujte administrátory na diskuzním fóru EB.


PHP-Nuke Copyright © 2005 by Francisco Burzi. This is free software, and you may redistribute it under the GPL. PHP-Nuke comes with absolutely no warranty, for details, see the license.
Čas potřebný ke zpracování stránky 0.18 sekund