Vítejte na Elektro Bastlírn?
Nuke - Elektro Bastlirna
  Vytvořit účet
Hlavní · Fórum · DDump · Profil · Zprávy · Hledat na fóru


Nuke - Elektro Bastlirna: Diskuzní fórum

 FAQFAQ   HledatHledat   Uživatelské skupinyUživatelské skupiny   ProfilProfil   Soukromé zprávySoukromé zprávy   PřihlášeníPřihlášení 

Světelná relé RS-02a a RS-03, výrobce JZD Ježov

 
Přidat nové téma   Zaslat odpověď       Obsah fóra Diskuzní fórum Elektro Bastlírny -> Opravy a restaurování starých elektropřístrojů
Zobrazit předchozí téma :: Zobrazit následující téma  
Autor Zpráva
eleferner



Založen: Jun 04, 2016
Příspěvky: 888
Bydliště: Brno

PříspěvekZaslal: čt prosinec 22 2022, 10:53    Předmět: Světelná relé RS-02a a RS-03, výrobce JZD Ježov Citovat

Prodal jsem nejake veci z tohoto 6 let stareho threadu, mimo jine i nepouzita svetelna rele RS-02a a RS-03 z byvaleho JZD Jezov. Nez jsem je poslal, tak jsem se ze zvedavosti podival dovnitr. Zvlaste u novejsiho RS-03 jsem byl prekvapeny, jak "ciste" je uvnitr udelane, dokonce ma i servisni potisk na DPS. Prislo mi to jako hezky (i kdyz obskurni) kus ceskoslovenske elektro historie, takze jsem obe rele nafotil a nascanoval jejich navody. Zmensene navody prikladam nize, v plne kvalite i s fotkami jsou zde, treba se budou nekomu hodit:

https://mega.nz/file/5y5EzbLC#9LSQZ5CWGtdDqUzvwL-1HZlPDLsbtrQMX75Q05fXiag

Ve starsim RS-02a je primitivni dvoustupnovy zesilovac, hystereze je podle vseho jen elektro-mechanicka ve spinacim rele. Dokonce pouziva germaniove tranzistory, i kdyz muj kus byl vyroben/vyskladnen v roce 1986. Soudruzi se tak snazili vyuzit stare neprodane polovodice? Ve schematu nejsou hodnoty soucastek, ty nejdulezitejsi jsou:

T1 GC521
T2 4NU72
D1 5NZ70
D2 KY722
P1 330R/M TP680 11E
fotoodpor WK 650 36

Spinaci rele nema zadne oznaceni, vypada skoro jako kdyby si ho v tom JZD vyrabeli sami. Zaujala mne na nem jedna vec: ma dva kontakty, jeden na medenem pasku, druhy na zeleznem. Pri sepnuti jako prvni dolehne ten medeny, az pak ten zelezny. Nevite proc to tak je? Take je trochu neobvykle, ze cele sasi rele vcetne jadra civky je na fazovam napeti (proto jsou vyvody z civky v tak tlustych buzirkach).

Mimochodem, ty vakuove fotoodpory primo k temto rele nekdo prodava na Sbazaru:

https://www.sbazar.cz/enzo133/detail/100565551-fotoodpor-ve-sklenene-bance-5ks



RS-02a v krabici.JPG
 Komentář:
 Velikost:  161.34 kB
 Zobrazeno:  99 krát

RS-02a v krabici.JPG



RS-02a nahled.JPG
 Komentář:
 Velikost:  263.1 kB
 Zobrazeno:  111 krát

RS-02a nahled.JPG



RS-02a schema.png
 Komentář:
 Velikost:  33.63 kB
 Zobrazeno:  113 krát

RS-02a schema.png



RS-02a spinaci rele detail.JPG
 Komentář:
 Velikost:  244.89 kB
 Zobrazeno:  91 krát

RS-02a spinaci rele detail.JPG



RS-02a navod OCR zmenseny.pdf
 Komentář:

Stáhnout
 Soubor:  RS-02a navod OCR zmenseny.pdf
 Velikost:  157.63 kB
 Staženo:  104 krát



Naposledy upravil eleferner dne čt prosinec 22 2022, 11:04, celkově upraveno 2 krát.
Návrat nahoru
Zobrazit informace o autorovi Odeslat soukromou zprávu
eleferner



Založen: Jun 04, 2016
Příspěvky: 888
Bydliště: Brno

PříspěvekZaslal: čt prosinec 22 2022, 10:54    Předmět: Citovat

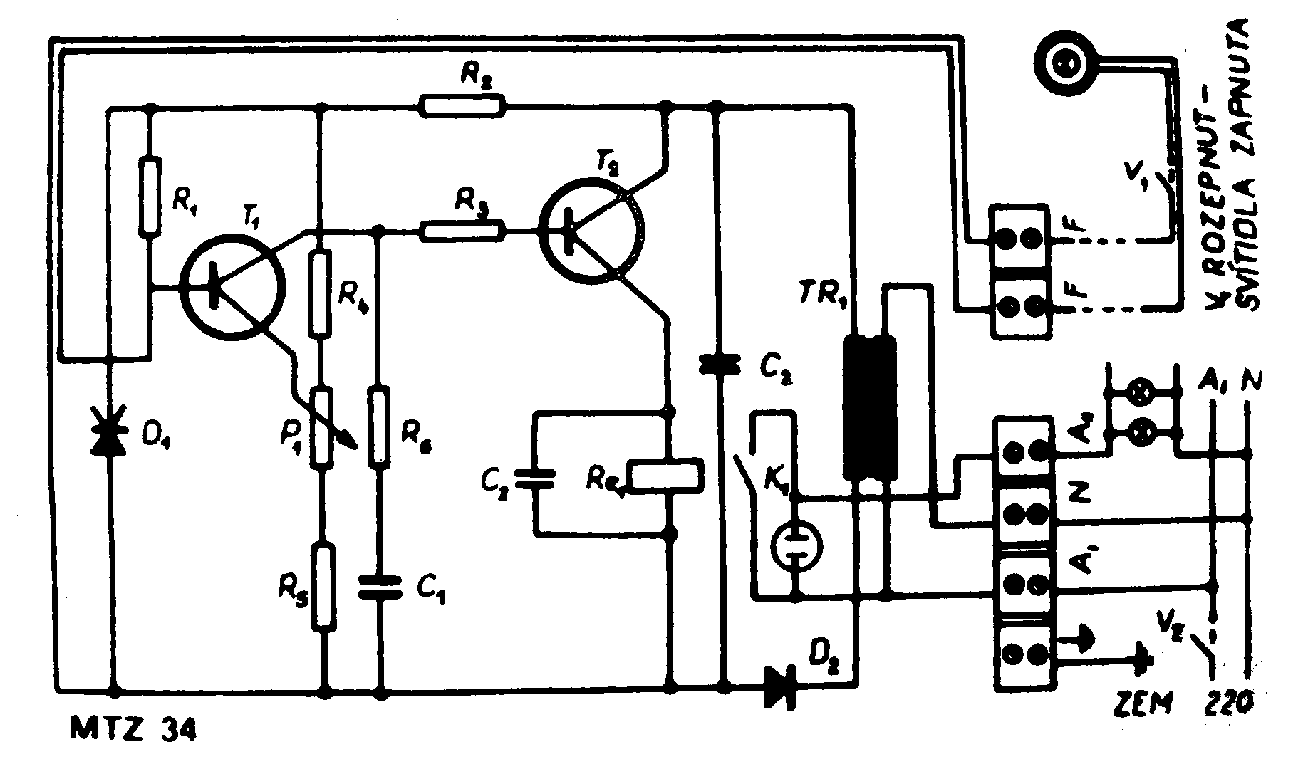
Novejsi RS-03 je oproti RS-02a hotova kosmicka technika, ma plnotucny okenkovy komparator se dvema OZ a nastavitelnou hysterezi. Opet jsem opsal nejdulezitejsi prvky:

operaky MAA741
T1 KD335
T2 KF507
T3 KC307B
potaky opet 330R/M TP680 11E
C3 68n
radialni C4 je Iskra 220u
spinaci rele podle navodu ma byt RP 701, ale v realu ma oznaceni 454012.01
fotoodpor opet WK 650 36

Trochu mne udivilo, ze tam opet jsou potaky s tak malym odporem. Asi tam dali ty dratove, aby byly spolehlivejsi pri venkovnim nasazeni?

Zajimalo by mne, za kolik se ta rele v tech 80. letech prodavala... Jinak JZD Jezov dopadlo neslavne a dnes vypada takto:

https://www.brownfieldy-jmk.cz/detail/?id=5225



RS-03 v krabici.JPG
 Komentář:
 Velikost:  253.03 kB
 Zobrazeno:  103 krát

RS-03 v krabici.JPG



RS-03 nahled.JPG
 Komentář:
 Velikost:  251.93 kB
 Zobrazeno:  123 krát

RS-03 nahled.JPG



RS-03 schema.png
 Komentář:
 Velikost:  49.16 kB
 Zobrazeno:  132 krát

RS-03 schema.png



RS-03 navod OCR zmenseny.pdf
 Komentář:

Stáhnout
 Soubor:  RS-03 navod OCR zmenseny.pdf
 Velikost:  255.88 kB
 Staženo:  117 krát

Návrat nahoru
Zobrazit informace o autorovi Odeslat soukromou zprávu
MiraSt



Založen: Apr 19, 2008
Příspěvky: 1806
Bydliště: Fryčovice

PříspěvekZaslal: čt prosinec 22 2022, 15:18    Předmět: Citovat

To RS3 používám jako automat na dvířka kurníku. Akorát tu fotobuňku mám jinou. Funguje to už hoodně dlouho a spolehlivě.
_________________
Posílal jsem elektřinu horníkům. Už dofárali. Důl Staříč - Paskov. Demolice běží naplno.
Návrat nahoru
Zobrazit informace o autorovi Odeslat soukromou zprávu Odeslat e-mail
Achab



Založen: Nov 05, 2010
Příspěvky: 6138
Bydliště: okr. Vyškov

PříspěvekZaslal: čt prosinec 22 2022, 16:27    Předmět: Citovat

Na veřejném osvětlení se tyto spínače ještě vyskytují. RS-03 stály v 90. letech asi 8 - 9 stovek, ale možná už šlo o výprodej.
Železný kontakt relé v RS-02 funguje zároveň jako mechanický doraz. Typ byl pravděpodobně vyráběný pro jiné účely.
Návrat nahoru
Zobrazit informace o autorovi Odeslat soukromou zprávu
eleferner



Založen: Jun 04, 2016
Příspěvky: 888
Bydliště: Brno

PříspěvekZaslal: čt prosinec 22 2022, 19:22    Předmět: Citovat

I tak to byla celkem palba, dnes by tomu odpovidalo cca 10 tis. Kc. Jinak to JZD Jezov pry vyrabelo i tyto zkusebni panely zarovek a baterii do prodejen elektro:

https://aukro.cz/jzd-jezov-rudy-rijen-zkusebni-panel-zk-2-7005244686

V jednom mistnim zelezarstvi ho jeste porad pouzivaji.
Návrat nahoru
Zobrazit informace o autorovi Odeslat soukromou zprávu
foxrider



Založen: Sep 28, 2013
Příspěvky: 917
Bydliště: Praha- východ

PříspěvekZaslal: so prosinec 31 2022, 19:39    Předmět: Citovat

eleferner: Tenhle zkušební panel mám doma, ale oproti tomu v odkazu je kompletní - má i dvě patice na kabelech pro zkoušení zářivkových trubic.
Návrat nahoru
Zobrazit informace o autorovi Odeslat soukromou zprávu
Zobrazit příspěvky z předchozích:   
Přidat nové téma   Zaslat odpověď       Obsah fóra Diskuzní fórum Elektro Bastlírny -> Opravy a restaurování starých elektropřístrojů Časy uváděny v GMT + 1 hodina
Strana 1 z 1

 
Přejdi na:  
Nemůžete odesílat nové téma do tohoto fóra.
Nemůžete odpovídat na témata v tomto fóru.
Nemůžete upravovat své příspěvky v tomto fóru.
Nemůžete mazat své příspěvky v tomto fóru.
Nemůžete hlasovat v tomto fóru.
Nemůžete připojovat soubory k příspěvkům
Můžete stahovat a prohlížet přiložené soubory

Powered by phpBB © 2001, 2005 phpBB Group
Forums ©
Nuke - Elektro Bastlirna

Informace na portálu Elektro bastlírny jsou prezentovány za účelem vzdělání čtenářů a rozšíření zájmu o elektroniku. Autoři článků na serveru neberou žádnou zodpovědnost za škody vzniklé těmito zapojeními. Rovněž neberou žádnou odpovědnost za případnou újmu na zdraví vzniklou úrazem elektrickým proudem. Autoři a správci těchto stránek nepřejímají záruku za správnost zveřejněných materiálů. Předkládané informace a zapojení jsou zveřejněny bez ohledu na případné patenty třetích osob. Nároky na odškodnění na základě změn, chyb nebo vynechání jsou zásadně vyloučeny. Všechny registrované nebo jiné obchodní známky zde použité jsou majetkem jejich vlastníků. Uvedením nejsou zpochybněna z toho vyplývající vlastnická práva. Použití konstrukcí v rozporu se zákonem je přísně zakázáno. Vzhledem k tomu, že původ předkládaných materiálů nelze žádným způsobem dohledat, nelze je použít pro komerční účely! Tento nekomerční server nemá z uvedených zapojení či konstrukcí žádný zisk. Nezodpovídáme za pravost předkládaných materiálů třetími osobami a jejich původ. V případě, že zjistíte porušení autorského práva či jiné nesrovnalosti, kontaktujte administrátory na diskuzním fóru EB.


PHP-Nuke Copyright © 2005 by Francisco Burzi. This is free software, and you may redistribute it under the GPL. PHP-Nuke comes with absolutely no warranty, for details, see the license.
Čas potřebný ke zpracování stránky 0.16 sekund