Vítejte na Elektro Bastlírn?
Nuke - Elektro Bastlirna
  Vytvořit účet Hlavní · Fórum · DDump · Profil · Zprávy · Hledat na fóru · Příspěvky na provoz EB

Vlákno na téma KORONAVIRUS - nutná registrace


Nuke - Elektro Bastlirna: Diskuzní fórum

 FAQFAQ   HledatHledat   Uživatelské skupinyUživatelské skupiny   ProfilProfil   Soukromé zprávySoukromé zprávy   PřihlášeníPřihlášení 

KD 607/617
Jdi na stránku Předchozí  1, 2, 3
 
Přidat nové téma   Toto téma je zamknuto, nemůžete zde přidávat odpovědi ani upravovat své příspěvky!       Obsah fóra Diskuzní fórum Elektro Bastlírny -> Na vyzkoušení
Zobrazit předchozí téma :: Zobrazit následující téma  
Autor Zpráva
serviceman



Založen: Jul 09, 2013
Příspěvky: 4102

PříspěvekZaslal: čt prosinec 24 2015, 13:01    Předmět: Citovat

Mluvíte o tomto?


2015-12-24_12-59-16.jpg
 Komentář:

Stáhnout
 Soubor:  2015-12-24_12-59-16.jpg
 Velikost:  217.46 kB
 Staženo:  455 krát


_________________
Nebojte se skloňovat (i cizí slova).
Návrat nahoru
Zobrazit informace o autorovi Odeslat soukromou zprávu
samponek



Založen: May 11, 2015
Příspěvky: 3907

PříspěvekZaslal: čt prosinec 24 2015, 13:10    Předmět: Citovat

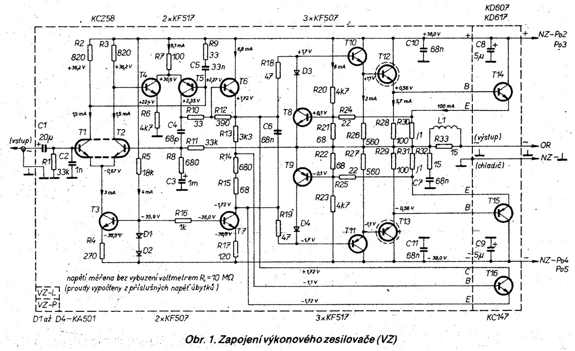
Osazovka i schéma se shoduje. Jaké propojení máš na mysli ?
Návrat nahoru
Zobrazit informace o autorovi Odeslat soukromou zprávu
CZJKP1



Založen: Nov 26, 2008
Příspěvky: 2996
Bydliště: ČR-Praha 5

PříspěvekZaslal: čt prosinec 24 2015, 13:17    Předmět: Citovat

...

Naposledy upravil CZJKP1 dne čt prosinec 24 2015, 14:43, celkově upraveno 1 krát.
Návrat nahoru
Zobrazit informace o autorovi Odeslat soukromou zprávu Odeslat e-mail
samponek



Založen: May 11, 2015
Příspěvky: 3907

PříspěvekZaslal: čt prosinec 24 2015, 13:55    Předmět: Citovat

Jde to otevřít, zapojení se liší.
V osazováku i na DPS je odpor 390Ω spojený s emitorem T6. Rolling Eyes
Návrat nahoru
Zobrazit informace o autorovi Odeslat soukromou zprávu
CZJKP1



Založen: Nov 26, 2008
Příspěvky: 2996
Bydliště: ČR-Praha 5

PříspěvekZaslal: čt prosinec 24 2015, 14:27    Předmět: Citovat

Tak už se to objasnilo

To schéma, na které jsem původně odkazoval na google, jsem kdysi obkreslil (rozuměj poupravil) podle osazovacího plánu z KP, jenže se nyní ukázalo, že právě v osazovacím plánu je chyba.

Tebou zveřejněný osazovací plán tu chybu ovšem nemá, nemá ji ani DPS a ani schéma, asi jsi tu chybu na zveřejněné desce opravil, proto jí teď nemůžeš najít a tím, že já koukám do KP a ty na desku opravenou "tak se nemůžeme domluvit"...

Čili chyba je v osazovacím plánu z KP, DPS a schéma bude v pořádku, a já to svém schématu nagoogle naopak kdysi "zmršil"...
I tak se to alespoň objasnilo.

Trochu jsem to zeditoval od svých spekulací, které by mohly někoho dalšího zmást



osaz.png
 Komentář:

Stáhnout
 Soubor:  osaz.png
 Velikost:  32.03 kB
 Staženo:  381 krát


osaz2.png
 Komentář:

Stáhnout
 Soubor:  osaz2.png
 Velikost:  113.77 kB
 Staženo:  423 krát



Naposledy upravil CZJKP1 dne čt prosinec 24 2015, 14:54, celkově upraveno 5 krát.
Návrat nahoru
Zobrazit informace o autorovi Odeslat soukromou zprávu Odeslat e-mail
samponek



Založen: May 11, 2015
Příspěvky: 3907

PříspěvekZaslal: čt prosinec 24 2015, 14:33    Předmět: Citovat

Teď Ti nerozumím Rolling Eyes
EDIT : už chápu, kdybys to zapojil podle tvého překresleného zapojení, tak by T16 nemohl škrtit, protože by šel přes 390Ω a tranzistory by se prorazily.

Toto už nesouvisí z diskuzí : V původním zapojení doporučuji C1 zmenšit na 3µ3 a dát do série odpor 2k2.
Návrat nahoru
Zobrazit informace o autorovi Odeslat soukromou zprávu
CZJKP1



Založen: Nov 26, 2008
Příspěvky: 2996
Bydliště: ČR-Praha 5

PříspěvekZaslal: čt prosinec 24 2015, 15:09    Předmět: Citovat

jj. Nechal jsem se kdysi zmást. Podle cestiček osazovacího plánu jsem poupravoval schéma, nenapadlo mě, že by mezi předlohou pro DPS a šedým osazovacím plánem mohl být rozdíl (chyba).Dám si to tu navěky dopořádku. Chceme ještě postavit několik kusů, hraje to dobře a je to nezničitelný. Pošlu Ti do emailu odkaz, co jsme s tím dělaly za chujoviny a přesto, že to mělo 80 stupňů, tak to hrálo v pohodě dál a nic neshořelo Laughing ...

Chtěl bych připojit ještě jednu paralelní dvojici 607/617 Předpokládám, že by měli být vybrané na stejné zesílení, ale jak to provedu z emitorovými odpory? V Originálním zapojení jsou emitorové odpory 0R1, které zároveň slouží i jako bočníky pro proudovou ochranu, ale když chci přidat další pár, přibydou i další dva emitoráky že, a jak to pak bude s proudovou ochranou? Budu sledovat pouze na jednom páru?? protože nemohu to přeci ještě před těmi emitoráky zase spojit mezi sebou, to by neměli ty další dva odpory význam. Anebo se přidá do báze tranzistorů proudové ochrany (T8+T9) další odpor, pro sledování toho druhého páru?
Návrat nahoru
Zobrazit informace o autorovi Odeslat soukromou zprávu Odeslat e-mail
samponek



Založen: May 11, 2015
Příspěvky: 3907

PříspěvekZaslal: čt prosinec 24 2015, 15:24    Předmět: Citovat

Mám to udělaný trochu jinak a je to neslučitelné se zdrojem typu trafo.
V každém konci mám 12 kádéček, emitoráky všechny 0.22Ω, budiče jsou taky kádéčka, napájím to spínaným zdrojem s TL494 do kterého vede vstup i výstup zesilovače a při zkratu na výstupu přestane dávat proud a čeká až zkrat odpojíš.
Proudovou ochranu dělá zpětná vazba ve zdroji.
T8 a T9 jsou ze zapojení vypuštěny. Výhoda je, že můžeš do zesilovače za provozu strkat šroubovák a nelítají jiskry.
Původně jsem to měl v originálu a ještě s trafem, ale plechy bručely a třema reprákama paralelně mě to vyhořelo. Potom jsem to předělal na TL494 a na zbylé místo po kondech a trafu přidal kádéčka.
Návrat nahoru
Zobrazit informace o autorovi Odeslat soukromou zprávu
CZJKP1



Založen: Nov 26, 2008
Příspěvky: 2996
Bydliště: ČR-Praha 5

PříspěvekZaslal: čt prosinec 24 2015, 15:51    Předmět: Citovat

jj, četl jsem, já bych ale rád zachoval původní topologii, pouze doplnil jednu dvojici. Ze sběrných surovin jsem si před pár lety přivezl chladič z AUJ637, který má právě čtyři pozice, mám představu 2x607 2x617, do budiče KD139/KD140 do teplotní kompenzace BD135-16 (musí mít vysoké zesílení). Ještě bych rád sehnal jeden chladič z AUJ637 i pro druhý kus, nebo i celou AUJ637 na provoz ale nechce se mi dávat tolik peněz, za kolik se mnohdy nabízejí. Když už něco dělám, nechávám si záležet aby to bylo precizně a vypadalo to dobře, pro "bastly" mám pochopení když je to na testování a časem se ton zase rozebere.

Viděl jsi poslední email využití Andrlíka "v praxi" Very Happy
Návrat nahoru
Zobrazit informace o autorovi Odeslat soukromou zprávu Odeslat e-mail
samponek



Založen: May 11, 2015
Příspěvky: 3907

PříspěvekZaslal: čt prosinec 24 2015, 16:26    Předmět: Citovat

Viděl Very Happy
Když nemáš KD617, dá se to zprasit použitím NPN KD607 nebo KD503 paralelně všude a nemusíš je z chladiče AU předělávat.
Návrat nahoru
Zobrazit informace o autorovi Odeslat soukromou zprávu
CZJKP1



Založen: Nov 26, 2008
Příspěvky: 2996
Bydliště: ČR-Praha 5

PříspěvekZaslal: pá prosinec 25 2015, 10:48    Předmět: Citovat

Jenže já KD617 mám a i kdybych neměl tak je obstarám. Nestojí za to něco prasit kvůli chybějícímu tranzistoru v hodnotě 15,-. a chladič z AUJ je bez tranzistorů. Možná že ani z AUJ není, tesla určitě používala ty stejné chladiče i jinde.
Návrat nahoru
Zobrazit informace o autorovi Odeslat soukromou zprávu Odeslat e-mail
Zobrazit příspěvky z předchozích:   
Přidat nové téma   Toto téma je zamknuto, nemůžete zde přidávat odpovědi ani upravovat své příspěvky!       Obsah fóra Diskuzní fórum Elektro Bastlírny -> Na vyzkoušení Časy uváděny v GMT + 1 hodina
Jdi na stránku Předchozí  1, 2, 3
Strana 3 z 3

 
Přejdi na:  
Můžete přidat nové téma do tohoto fóra.
Můžete odpovídat na témata v tomto fóru.
Nemůžete upravovat své příspěvky v tomto fóru.
Nemůžete mazat své příspěvky v tomto fóru.
Nemůžete hlasovat v tomto fóru.
Můžete k příspěvkům připojovat soubory
Můžete stahovat a prohlížet přiložené soubory

Powered by phpBB © 2001, 2005 phpBB Group
Forums ©
Nuke - Elektro Bastlirna

Informace na portálu Elektro bastlírny jsou prezentovány za účelem vzdělání čtenářů a rozšíření zájmu o elektroniku. Autoři článků na serveru neberou žádnou zodpovědnost za škody vzniklé těmito zapojeními. Rovněž neberou žádnou odpovědnost za případnou újmu na zdraví vzniklou úrazem elektrickým proudem. Autoři a správci těchto stránek nepřejímají záruku za správnost zveřejněných materiálů. Předkládané informace a zapojení jsou zveřejněny bez ohledu na případné patenty třetích osob. Nároky na odškodnění na základě změn, chyb nebo vynechání jsou zásadně vyloučeny. Všechny registrované nebo jiné obchodní známky zde použité jsou majetkem jejich vlastníků. Uvedením nejsou zpochybněna z toho vyplývající vlastnická práva. Použití konstrukcí v rozporu se zákonem je přísně zakázáno. Vzhledem k tomu, že původ předkládaných materiálů nelze žádným způsobem dohledat, nelze je použít pro komerční účely! Tento nekomerční server nemá z uvedených zapojení či konstrukcí žádný zisk. Nezodpovídáme za pravost předkládaných materiálů třetími osobami a jejich původ. V případě, že zjistíte porušení autorského práva či jiné nesrovnalosti, kontaktujte administrátory na diskuzním fóru EB.


PHP-Nuke Copyright © 2005 by Francisco Burzi. This is free software, and you may redistribute it under the GPL. PHP-Nuke comes with absolutely no warranty, for details, see the license.
Čas potřebný ke zpracování stránky 0.69 sekund