Vítejte na Elektro Bastlírn?
Nuke - Elektro Bastlirna
  Vytvořit účet Hlavní · Fórum · DDump · Profil · Zprávy · Hledat na fóru · Příspěvky na provoz EB

Vlákno na téma KORONAVIRUS - nutná registrace


Nuke - Elektro Bastlirna: Diskuzní fórum

 FAQFAQ   HledatHledat   Uživatelské skupinyUživatelské skupiny   ProfilProfil   Soukromé zprávySoukromé zprávy   PřihlášeníPřihlášení 

Stiskem zapni/stiskem vypni (jedním tlačítkem)
Jdi na stránku 1, 2  Další
 
Přidat nové téma   Zaslat odpověď       Obsah fóra Diskuzní fórum Elektro Bastlírny -> Řešení problémů s různými konstrukcemi
Zobrazit předchozí téma :: Zobrazit následující téma  
Autor Zpráva
kejmi



Založen: Sep 20, 2012
Příspěvky: 17

PříspěvekZaslal: st říjen 30 2013, 12:21    Předmět: Stiskem zapni/stiskem vypni (jedním tlačítkem) Citovat

Zdravím odborníky. Poprosil bych o radu ohledně realizace obvodu "stiskem zapni, stiskem vypni" (jedním tlačítkem). Obvodem budu zapínat modul voltmetru (abych aktuálně zjistil nabití baterií na kole) http://www.ebay.com/itm/171124030257?var=470286637996&ssPageName=STRK:MEWNX:IT&_trksid=p3984.m1497.l2649 Zapojení bude trvale připojeno k bateriím (6,6-8,4V), je tedy kladen důraz na nulovou (co nejnižší možnou) spotřebu ve vypnutém stavu. Předem díky za tip. Lukáš
Návrat nahoru
Zobrazit informace o autorovi Odeslat soukromou zprávu
buddyns



Založen: Oct 05, 2012
Příspěvky: 588
Bydliště: Brno [JN89GE]

PříspěvekZaslal: st říjen 30 2013, 12:44    Předmět: Citovat

Zkus toto .. http://pandatron.cz/?515&jednotlacitkove_ovladani
Návrat nahoru
Zobrazit informace o autorovi Odeslat soukromou zprávu Odeslat e-mail
BOBOBO
Doporučuje se dohled moderátorů


Založen: Feb 25, 2008
Příspěvky: 20248
Bydliště: Rychnovsko

PříspěvekZaslal: st říjen 30 2013, 12:46    Předmět: Citovat

A jinak je zde tlačíko Hledat a tam zadáš Jedním tlačítkem v modu hledat všechna slova .
Návrat nahoru
Zobrazit informace o autorovi Odeslat soukromou zprávu
rnbw



Založen: Mar 21, 2006
Příspěvky: 36643
Bydliště: Bratislava

PříspěvekZaslal: st říjen 30 2013, 12:55    Předmět: Citovat

Tu mas rozne zapojenia, okrem ineho aj s takmer nulovou spotrebou (zaverny prud diody a FETu):
http://www.mosaic-industries.com/embedded-systems/microcontroller-projects/electronic-circuits/push-button-switch-turn-on/latching-toggle-power-switch
Návrat nahoru
Zobrazit informace o autorovi Odeslat soukromou zprávu
termit256



Založen: Dec 06, 2007
Příspěvky: 10335

PříspěvekZaslal: st říjen 30 2013, 17:39    Předmět: Citovat

Spousta techto zapojeni funguje spatne, jen nekdy apod. Delaji se na to i specialni obvody, pripadne muzes pouzit nejaky malicky mcu s minimalni spotrebou. Ja osobne bych zvazil pouziti tlacitka ktere takovou funkci zajistuje mechanicky, jake se pouziva napr. v cinskych baterkach. Je to jednoduche, male, s nulovou spotrebou a za babku.
Návrat nahoru
Zobrazit informace o autorovi Odeslat soukromou zprávu
PabloX



Založen: May 16, 2005
Příspěvky: 975
Bydliště: Ruzomberok

PříspěvekZaslal: st říjen 30 2013, 17:57    Předmět: Citovat

Toto mam odskusane a fungovalo to dobre http://pandatron.cz/elektronika/tlovl.gif
Návrat nahoru
Zobrazit informace o autorovi Odeslat soukromou zprávu Odeslat e-mail Zobrazit autorovy WWW stránky
sewerman_cz



Založen: Feb 13, 2011
Příspěvky: 289
Bydliště: Brno

PříspěvekZaslal: st říjen 30 2013, 22:31    Předmět: Citovat

Tady je jednoduché zapojení včetně vysvětlení principu
http://www.8bitu.cz/clanek/jednotlacitkovy-on-off-spinac/
Návrat nahoru
Zobrazit informace o autorovi Odeslat soukromou zprávu Zobrazit autorovy WWW stránky
jojosuly



Založen: Aug 22, 2006
Příspěvky: 299
Bydliště: Kysuce

PříspěvekZaslal: čt říjen 31 2013, 10:40    Předmět: Citovat

Niečo som našiel zo školských zapisnikov ,upraviť hodnoty a odskúšať.
Možno niekomu pomože aj v originále.Nemám to odskúšané.



tlač zapinanie.png
 Komentář:

Stáhnout
 Soubor:  tlač zapinanie.png
 Velikost:  21.41 kB
 Staženo:  291 krát



Naposledy upravil jojosuly dne pá listopad 01 2013, 10:41, celkově upraveno 2 krát.
Návrat nahoru
Zobrazit informace o autorovi Odeslat soukromou zprávu Odeslat e-mail
Ruprecht



Založen: Sep 28, 2005
Příspěvky: 1526
Bydliště: ZČ + JM

PříspěvekZaslal: čt říjen 31 2013, 11:17    Předmět: Citovat

Tak tohle schéma mi přijde divné...
Při stisku tlačítka se nabije C, při puštění se přes diodu mžikově sepne relé, jehož kontakt a zajistí samodrž. Zapínání OK.

Ale při dalším stisku tlačítka se to jen zopakuje.
Ano, asi dojde k mžikovému poklesu napětí při nabíjení C, ale pokud relé vůbec vypne, stejně se při puštění tlačítka vybaví samodrž a relé se zase nahodí.
Nejde to vypnout... Smile
Návrat nahoru
Zobrazit informace o autorovi Odeslat soukromou zprávu
marshal



Založen: Sep 05, 2004
Příspěvky: 1093
Bydliště: Ltm

PříspěvekZaslal: út listopad 05 2013, 22:46    Předmět: Citovat

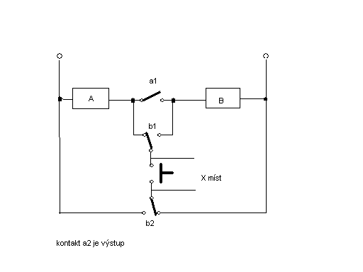
Už léta používám zapojení které vymyslel kolega na vojně, doufám že mu nebude vadit že to zveřejním.
Použity jsou dvě shodná relé s dvěma přepínacími kontakty a na poloviční U než je použito. V autě (12V) mám dvě relé na 6V. Po dobu stlačení tlačítka (může jich být x) je na jednom relé dvojnásobné U, krátkodobě jim to nevadí.V době sepnutí jsou tyto relé v sérii.
Vyzkoušené, použitím dvou relé na 110V chodí i na 220.



přepinač z x míst.png
 Komentář:

Stáhnout
 Soubor:  přepinač z x míst.png
 Velikost:  894 Bajtů
 Staženo:  638 krát

Návrat nahoru
Zobrazit informace o autorovi Odeslat soukromou zprávu
serviceman



Založen: Jul 09, 2013
Příspěvky: 4093

PříspěvekZaslal: st listopad 06 2013, 7:52    Předmět: Citovat

Není v tom chyba? Když uvolním tlačítko, odpadne B a je to ve výchozím stavu.
_________________
Nebojte se skloňovat (i cizí slova).
Návrat nahoru
Zobrazit informace o autorovi Odeslat soukromou zprávu
jano2



Založen: Dec 28, 2006
Příspěvky: 1772
Bydliště: Orava,sever

PříspěvekZaslal: st listopad 06 2013, 8:30    Předmět: Citovat

Alebo tak?,


1_1220873922.jpg
 Komentář:

Stáhnout
 Soubor:  1_1220873922.jpg
 Velikost:  151.94 kB
 Staženo:  587 krát

Návrat nahoru
Zobrazit informace o autorovi Odeslat soukromou zprávu Odeslat e-mail
fero7



Založen: Jan 20, 2007
Příspěvky: 2250

PříspěvekZaslal: st listopad 06 2013, 8:49    Předmět: Citovat

kejmi napsal(a):
Obvodem budu zapínat modul voltmetru (abych aktuálně zjistil nabití baterií na kole)
Nestaci obycajne tlacidlo?
Stlacis (pridrzis), odcitas hodnotu, pustis.
Ak nie tlacidlo, tak preco nemoze byt tlacidlovy vypinac ON-OFF?
Stlacis=zapnute, stlacis=vypnute. Nic jednoduchsie, lacnejsie a spolahlivejsie nebude.
Návrat nahoru
Zobrazit informace o autorovi Odeslat soukromou zprávu
masar



Založen: Dec 03, 2005
Příspěvky: 13681

PříspěvekZaslal: st listopad 06 2013, 9:02    Předmět: Citovat

serviceman napsal(a):
Není v tom chyba? Když uvolním tlačítko, odpadne B a je to ve výchozím stavu.

Nemůže odpadnout, když nebylo ještě sepnuté. Stisknuté tlačítko po sepnutí relé A zkratovává relé B. Po uvolnění tlačítka dřív než stačí odpadnout kontakt a1, spojí do série relé A i B. Wink
Návrat nahoru
Zobrazit informace o autorovi Odeslat soukromou zprávu Odeslat e-mail
serviceman



Založen: Jul 09, 2013
Příspěvky: 4093

PříspěvekZaslal: st listopad 06 2013, 9:07    Předmět: Citovat

OK
_________________
Nebojte se skloňovat (i cizí slova).
Návrat nahoru
Zobrazit informace o autorovi Odeslat soukromou zprávu
Zobrazit příspěvky z předchozích:   
Přidat nové téma   Zaslat odpověď       Obsah fóra Diskuzní fórum Elektro Bastlírny -> Řešení problémů s různými konstrukcemi Časy uváděny v GMT + 1 hodina
Jdi na stránku 1, 2  Další
Strana 1 z 2

 
Přejdi na:  
Nemůžete odesílat nové téma do tohoto fóra.
Nemůžete odpovídat na témata v tomto fóru.
Nemůžete upravovat své příspěvky v tomto fóru.
Nemůžete mazat své příspěvky v tomto fóru.
Nemůžete hlasovat v tomto fóru.
Nemůžete připojovat soubory k příspěvkům
Můžete stahovat a prohlížet přiložené soubory

Powered by phpBB © 2001, 2005 phpBB Group
Forums ©
Nuke - Elektro Bastlirna

Informace na portálu Elektro bastlírny jsou prezentovány za účelem vzdělání čtenářů a rozšíření zájmu o elektroniku. Autoři článků na serveru neberou žádnou zodpovědnost za škody vzniklé těmito zapojeními. Rovněž neberou žádnou odpovědnost za případnou újmu na zdraví vzniklou úrazem elektrickým proudem. Autoři a správci těchto stránek nepřejímají záruku za správnost zveřejněných materiálů. Předkládané informace a zapojení jsou zveřejněny bez ohledu na případné patenty třetích osob. Nároky na odškodnění na základě změn, chyb nebo vynechání jsou zásadně vyloučeny. Všechny registrované nebo jiné obchodní známky zde použité jsou majetkem jejich vlastníků. Uvedením nejsou zpochybněna z toho vyplývající vlastnická práva. Použití konstrukcí v rozporu se zákonem je přísně zakázáno. Vzhledem k tomu, že původ předkládaných materiálů nelze žádným způsobem dohledat, nelze je použít pro komerční účely! Tento nekomerční server nemá z uvedených zapojení či konstrukcí žádný zisk. Nezodpovídáme za pravost předkládaných materiálů třetími osobami a jejich původ. V případě, že zjistíte porušení autorského práva či jiné nesrovnalosti, kontaktujte administrátory na diskuzním fóru EB.


PHP-Nuke Copyright © 2005 by Francisco Burzi. This is free software, and you may redistribute it under the GPL. PHP-Nuke comes with absolutely no warranty, for details, see the license.
Čas potřebný ke zpracování stránky 0.15 sekund