Vítejte na Elektro Bastlírn?
Nuke - Elektro Bastlirna
  Vytvořit účet
Hlavní · Fórum · DDump · Profil · Zprávy · Hledat na fóru


Nuke - Elektro Bastlirna: Diskuzní fórum

 FAQFAQ   HledatHledat   Uživatelské skupinyUživatelské skupiny   ProfilProfil   Soukromé zprávySoukromé zprávy   PřihlášeníPřihlášení 

Spidola 252 přeladění na CCIR
Jdi na stránku Předchozí  1, 2, 3, 4  Další
 
Přidat nové téma   Zaslat odpověď       Obsah fóra Diskuzní fórum Elektro Bastlírny -> Audiotechnika
Zobrazit předchozí téma :: Zobrazit následující téma  
Autor Zpráva
105l



Založen: Oct 20, 2025
Příspěvky: 353
Bydliště: Ostrava

PříspěvekZaslal: út březen 10 2026, 22:27    Předmět: Citovat

Asi si stejně zkusím jeden ten konvertor vyrobit, nevíte někdo jakým jiným bych mohl naradit ten integrovaný obvod SO42P, nebo mám radši najít jiné schéma? (Tamten jsem nenašel na prodej.) A bude mi ovlivňovat i příjem KV?

http://www.pjenicek.cz/radio/navodyj1/conv1.htm#techparam
Návrat nahoru
Zobrazit informace o autorovi Odeslat soukromou zprávu
ferdislav



Založen: Aug 15, 2011
Příspěvky: 1475
Bydliště: Mostecko

PříspěvekZaslal: út březen 10 2026, 23:00    Předmět: Citovat

Já ho na prodej našel hned... ?
Návrat nahoru
Zobrazit informace o autorovi Odeslat soukromou zprávu
105l



Založen: Oct 20, 2025
Příspěvky: 353
Bydliště: Ostrava

PříspěvekZaslal: st březen 11 2026, 15:30    Předmět: Citovat

Já bych nejradši ale všechno objednal z Hadexu, tam není.
Návrat nahoru
Zobrazit informace o autorovi Odeslat soukromou zprávu
barnodaj



Založen: Apr 16, 2011
Příspěvky: 1050
Bydliště: Vodňansko

PříspěvekZaslal: st březen 11 2026, 15:56    Předmět: Citovat

Na prodejně GM v Ostravě mají toto:
https://www.gme.cz/v/1508677/flajzar-konvertor-vkv-ccir-oirt-stavebnice?
nebo si to tam můžeš objednat.

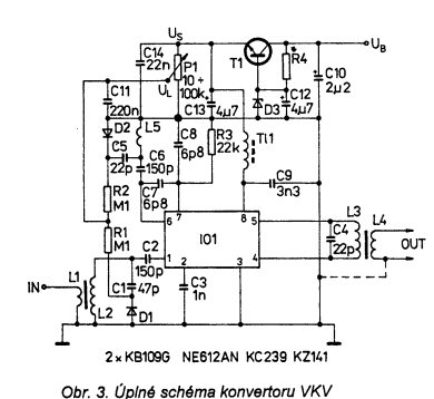
Přímá náhrada SO42P není, pokud bys uměl použít podobný obvod tak snad NE612 (SA612, 602) myslím, že vedle Hadexu v Ostravě má prodejnu Elfax, zkus se zeptat na SA612 tam.

Popis je v dalším příspěvku.



conv.png
 Komentář:
 Velikost:  38.8 kB
 Zobrazeno:  3 krát

conv.png




Naposledy upravil barnodaj dne st březen 11 2026, 22:22, celkově upraveno 3 krát.
Návrat nahoru
Zobrazit informace o autorovi Odeslat soukromou zprávu
patrikvarga



Založen: Apr 24, 2007
Příspěvky: 1291

PříspěvekZaslal: st březen 11 2026, 17:50    Předmět: Citovat

Na preladenie 88 - 108 musíš meniť kryštál.
Návrat nahoru
Zobrazit informace o autorovi Odeslat soukromou zprávu
xsc



Založen: Sep 25, 2014
Příspěvky: 8611

PříspěvekZaslal: st březen 11 2026, 19:08    Předmět: Citovat

Chce se to podívat po polské verzi. Je v podstatě stejná, ale je tam to přepínání 3 krystalů pro pokrytí celého pásma.
Návrat nahoru
Zobrazit informace o autorovi Odeslat soukromou zprávu
barnodaj



Založen: Apr 16, 2011
Příspěvky: 1050
Bydliště: Vodňansko

PříspěvekZaslal: st březen 11 2026, 19:44    Předmět: Citovat

Asi tohle:

https://allegro.cz/produkt/trzyzakresowy-konwerter-ccir-oir-na-fm-88-108-mhz-diy-kit-e095c0cd-03cc-499d-bf20-221db35db56c?

Tady je video k Flajzarovi:

https://www.youtube.com/watch?v=Sph6yXLVp3U

A taky se to tady řešilo:
http://www.ebastlirna.cz/modules/Forums/files/ar_95-02_133.pdf
http://www.ebastlirna.cz/modules.php?name=Forums&file=viewtopic&t=37940
Návrat nahoru
Zobrazit informace o autorovi Odeslat soukromou zprávu
barnodaj



Založen: Apr 16, 2011
Příspěvky: 1050
Bydliště: Vodňansko

PříspěvekZaslal: út březen 17 2026, 18:24    Předmět: Citovat

Zajímavý nápad:

https://www.youtube.com/watch?v=AA-K8WVoo1g



convFM.png
 Komentář:
 Velikost:  95.35 kB
 Zobrazeno:  0 krát

convFM.png


Návrat nahoru
Zobrazit informace o autorovi Odeslat soukromou zprávu
samec



Založen: Dec 19, 2017
Příspěvky: 6377

PříspěvekZaslal: út březen 17 2026, 20:07    Předmět: Citovat

barnodaj napsal(a):
Zajímavý nápad:...
Otázne je, či dochádza k zmiešavaniu v tom akože konvertore, alebo až na nelinearitách vo vstupných obvodoch prijímača. Ďalej je otázne, aký výkon vysiela ten akože konvertor a jak veľmi sa to vysielanie bude páčiť telekomunikačnému úradu.
Návrat nahoru
Zobrazit informace o autorovi Odeslat soukromou zprávu
EKKAR



Založen: Mar 16, 2005
Příspěvky: 35312
Bydliště: Česká Třebová, JN89FW21

PříspěvekZaslal: út březen 17 2026, 20:23    Předmět: Citovat

barnodaj napsal(a):
...
Přímá náhrada SO42P není, pokud bys uměl použít podobný obvod tak snad NE612 (SA612, 602) myslím, že vedle Hadexu v Ostravě má prodejnu Elfax, zkus se zeptat na SA612 tam.
....
Nedávno tady někdo sháněl modrý Amáro s "katalogem" tesláckejch integrovanejch obvodů s aplikačníma zapojeníma, vyobrazeným na čtverečkovaným podkladě. Bude to nejspíš ve vlákně "Vyměním AR/KTE" nebo jak se to jmenuje. A tam tuším je i popis, jak SO42P nahradit dvojicí MA3005/3006 - takže jsou i jiný cesty, než NE612 ...
_________________
Nasliněný prst na svorkovnici domovního rozvaděče: Jó, paninko, máte tam ty Voltíky všecky...
A kutilmile - nelituju tě Mr. Green Mr. Green !!!
Návrat nahoru
Zobrazit informace o autorovi Odeslat soukromou zprávu Odeslat e-mail
BOBOBO
Doporučuje se dohled statného moderátora


Založen: Feb 25, 2008
Příspěvky: 21160
Bydliště: Rychnovsko

PříspěvekZaslal: út březen 17 2026, 20:42    Předmět: Citovat

Nejsou , vlastnosti jsou nesrovnatelně horší a reprodukovatelnost pro takovéhoto amatéra rovna téměř nule . Připomíná mi to stav , kdy jsem si koupil Klabala desku fmvstupu ...... Kdo nezažil , nemá potuchy .
Návrat nahoru
Zobrazit informace o autorovi Odeslat soukromou zprávu
judeware



Založen: Aug 04, 2009
Příspěvky: 1912
Bydliště: okres Písek

PříspěvekZaslal: út březen 17 2026, 20:56    Předmět: Citovat

NE612 i S042P jsou stále k mání ve vhodných typech analogových sat. receiverů (1988..1996 max.). První z nich už křečkuju asi potřetí. Na ten druhý jsem příliš nemüslel, kdo by čekal, že bude někoho dvacet let za katapultovským letopočtem ještě zajímat. Nevím
Návrat nahoru
Zobrazit informace o autorovi Odeslat soukromou zprávu Odeslat e-mail
EKKAR



Založen: Mar 16, 2005
Příspěvky: 35312
Bydliště: Česká Třebová, JN89FW21

PříspěvekZaslal: út březen 17 2026, 22:07    Předmět: Citovat

Jo jo, a to to album natáčeli UŽ mezi rokama 1979 a 1980 ...
_________________
Nasliněný prst na svorkovnici domovního rozvaděče: Jó, paninko, máte tam ty Voltíky všecky...
A kutilmile - nelituju tě Mr. Green Mr. Green !!!


Naposledy upravil EKKAR dne út březen 17 2026, 22:35, celkově upraveno 1 krát.
Návrat nahoru
Zobrazit informace o autorovi Odeslat soukromou zprávu Odeslat e-mail
judeware



Založen: Aug 04, 2009
Příspěvky: 1912
Bydliště: okres Písek

PříspěvekZaslal: út březen 17 2026, 22:21    Předmět: Citovat

V textu stojí: "Až se bude psát rok 2006...". Cool
Návrat nahoru
Zobrazit informace o autorovi Odeslat soukromou zprávu Odeslat e-mail
barnodaj



Založen: Apr 16, 2011
Příspěvky: 1050
Bydliště: Vodňansko

PříspěvekZaslal: út březen 17 2026, 22:38    Předmět: Citovat

Samec - pokud jsi viděl video, kde je celá stavba, viděl bys připojení konvertoru k radiu kabelem.
Jinak za cca 12Kč se dá koupit IO CD2003GP a ze vstupní části pro FM jde postavit konvertor velmi jednoduše - oscilátor se naladí tak aby výstupní frekvence byla v rozsahu pásma OIRT.
Použije se pouze vstupní zesilovač, mixer a oscilátor, dva nebo tři laděné obvody, jeden odpor a pro jistotu blokovací kondenzátory, keramika, na nevyužité vstupy IO. Napájení 3V.
Návrat nahoru
Zobrazit informace o autorovi Odeslat soukromou zprávu
Zobrazit příspěvky z předchozích:   
Přidat nové téma   Zaslat odpověď       Obsah fóra Diskuzní fórum Elektro Bastlírny -> Audiotechnika Časy uváděny v GMT + 1 hodina
Jdi na stránku Předchozí  1, 2, 3, 4  Další
Strana 3 z 4

 
Přejdi na:  
Nemůžete odesílat nové téma do tohoto fóra.
Nemůžete odpovídat na témata v tomto fóru.
Nemůžete upravovat své příspěvky v tomto fóru.
Nemůžete mazat své příspěvky v tomto fóru.
Nemůžete hlasovat v tomto fóru.
Nemůžete připojovat soubory k příspěvkům
Můžete stahovat a prohlížet přiložené soubory

Powered by phpBB © 2001, 2005 phpBB Group
Forums ©
Nuke - Elektro Bastlirna

Informace na portálu Elektro bastlírny jsou prezentovány za účelem vzdělání čtenářů a rozšíření zájmu o elektroniku. Autoři článků na serveru neberou žádnou zodpovědnost za škody vzniklé těmito zapojeními. Rovněž neberou žádnou odpovědnost za případnou újmu na zdraví vzniklou úrazem elektrickým proudem. Autoři a správci těchto stránek nepřejímají záruku za správnost zveřejněných materiálů. Předkládané informace a zapojení jsou zveřejněny bez ohledu na případné patenty třetích osob. Nároky na odškodnění na základě změn, chyb nebo vynechání jsou zásadně vyloučeny. Všechny registrované nebo jiné obchodní známky zde použité jsou majetkem jejich vlastníků. Uvedením nejsou zpochybněna z toho vyplývající vlastnická práva. Použití konstrukcí v rozporu se zákonem je přísně zakázáno. Vzhledem k tomu, že původ předkládaných materiálů nelze žádným způsobem dohledat, nelze je použít pro komerční účely! Tento nekomerční server nemá z uvedených zapojení či konstrukcí žádný zisk. Nezodpovídáme za pravost předkládaných materiálů třetími osobami a jejich původ. V případě, že zjistíte porušení autorského práva či jiné nesrovnalosti, kontaktujte administrátory na diskuzním fóru EB.


PHP-Nuke Copyright © 2005 by Francisco Burzi. This is free software, and you may redistribute it under the GPL. PHP-Nuke comes with absolutely no warranty, for details, see the license.
Čas potřebný ke zpracování stránky 0.26 sekund