Vítejte na Elektro Bastlírn?
Nuke - Elektro Bastlirna
  Vytvořit účet
Hlavní · Fórum · DDump · Profil · Zprávy · Hledat na fóru


Nuke - Elektro Bastlirna: Diskuzní fórum

 FAQFAQ   HledatHledat   Uživatelské skupinyUživatelské skupiny   ProfilProfil   Soukromé zprávySoukromé zprávy   PřihlášeníPřihlášení 

Co jste přinesli zajímavého ze sběrného dvora 5
Jdi na stránku Předchozí  1, 2, 3 ... 32, 33, 34
 
Přidat nové téma   Zaslat odpověď       Obsah fóra Diskuzní fórum Elektro Bastlírny -> Nezařaditelné
Zobrazit předchozí téma :: Zobrazit následující téma  
Autor Zpráva
RayeR



Založen: Aug 02, 2009
Příspěvky: 1731
Bydliště: Praha

PříspěvekZaslal: út únor 24 2026, 3:15    Předmět: Citovat

RayeR napsal(a):

Jinak se snazim opravit zakladni desku Jetway J-656VXC...

EDIT: tak pruser, zistil sem, ze je slehunta linka D29 na databufferu S82438VX proti REFVCC5, tam musel nekdo prasit se SIMMkama. Bohuzel nahradni cip nemam. Neco podobneho je VT82C587VP, ale neni pinove ani funkcne kompatabilni.


Tak neska mi dorazil ten 32b data buffer z Aliku, zabaleny dobre, tak jsem ho pripajel a deska konecne ozila Smile
Jeste by se dal dopajet druhy VRM, aby to pobralo CPU s nizsim Vcore...



438vx1.jpg
 Komentář:
 Velikost:  77.95 kB
 Zobrazeno:  7 krát

438vx1.jpg



438vx2.jpg
 Komentář:
 Velikost:  184.54 kB
 Zobrazeno:  11 krát

438vx2.jpg



438vx3.jpg
 Komentář:
 Velikost:  157.46 kB
 Zobrazeno:  12 krát

438vx3.jpg


Návrat nahoru
Zobrazit informace o autorovi Odeslat soukromou zprávu Zobrazit autorovy WWW stránky
RayeR



Založen: Aug 02, 2009
Příspěvky: 1731
Bydliště: Praha

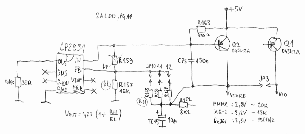
PříspěvekZaslal: so únor 28 2026, 8:01    Předmět: Citovat

Tak druhe VRM pro Vcore doosazeno, akorat mam problem sehnat PNP trand s dostatecnym h21E, zkusil jsem z GM vybrat 2 nejvhodnejsi kandidaty BD712 a MJE2955 a pri IC 3-4A zesileni klesa nekam na 25, coz ten obvod LP2951 neubudi. Pro intel Pentium MMX to v poho staci, ale treba zrave Cyrixe 6x86 uz maji problem. Nehlede ze to topi jak prase, lepsi desky mely uz spinane VRM...


j656vx9.png
 Komentář:
 Velikost:  29.26 kB
 Zobrazeno:  18 krát

j656vx9.png



j656vxa.jpg
 Komentář:
 Velikost:  194.88 kB
 Zobrazeno:  11 krát

j656vxa.jpg


Návrat nahoru
Zobrazit informace o autorovi Odeslat soukromou zprávu Zobrazit autorovy WWW stránky
judeware



Založen: Aug 04, 2009
Příspěvky: 1901
Bydliště: okres Písek

PříspěvekZaslal: so březen 07 2026, 11:09    Předmět: Citovat

judeware napsal(a):
Zesilovač AZS217, má urvaný přední hliník a nějaká dřevěná žebra na horní straně. Měl by pro někoho význam aspoň jako zdroj dílů?...
(původní příspěvek 7.11. 2025 22:05h)

Dne 6.3. 2026 zesilovač převzal bohy od JH. V nabídkách jsem ho neuváděl, plánoval jsem ho na díly, či jako pozdější dar/bonus k něčemu "významnějšímu". K tomu ještě převzal gramorádio Allegro 1032A s párem repro (to jsem ve fóru ani nezmiňoval, anžto si o něj při telefonním hovoru řekl defacto obratem).
Návrat nahoru
Zobrazit informace o autorovi Odeslat soukromou zprávu Odeslat e-mail
rnbw



Založen: Mar 21, 2006
Příspěvky: 37263
Bydliště: Bratislava

PříspěvekZaslal: čt březen 12 2026, 9:06    Předmět: Citovat

Pri kontajneroch vylozena notebookova taska HP. Vnutri Acer Aspire 5610Z, komplet aj s adapterom. Funguje, ale ma rozbite LCD. Disk tam je aj s datami.
Návrat nahoru
Zobrazit informace o autorovi Odeslat soukromou zprávu
workhard



Založen: Jul 07, 2006
Příspěvky: 5518
Bydliště: Plzeň

PříspěvekZaslal: čt březen 12 2026, 16:39    Předmět: Citovat

To už bych tam asi nechal...
_________________
Věci,které fungují,se ZÁSADNĚ neopravují...
Návrat nahoru
Zobrazit informace o autorovi Odeslat soukromou zprávu
Hubert_79



Založen: Dec 24, 2017
Příspěvky: 8459
Bydliště: Praha 6 - Petřiny

PříspěvekZaslal: čt březen 12 2026, 21:43    Předmět: Citovat

workhard napsal(a):
To už bych tam asi nechal...

Tak nějak. Maximálně z toho vyndal paměti a nechal si adaptér.
Notesy s C2D nebo s Celerony už ani domů netahám...

_________________
Frýba a láska zvítězí nad Hemalou a nenávistí!
Návrat nahoru
Zobrazit informace o autorovi Odeslat soukromou zprávu Zobrazit autorovy WWW stránky
Zobrazit příspěvky z předchozích:   
Přidat nové téma   Zaslat odpověď       Obsah fóra Diskuzní fórum Elektro Bastlírny -> Nezařaditelné Časy uváděny v GMT + 1 hodina
Jdi na stránku Předchozí  1, 2, 3 ... 32, 33, 34
Strana 34 z 34

 
Přejdi na:  
Nemůžete odesílat nové téma do tohoto fóra.
Nemůžete odpovídat na témata v tomto fóru.
Nemůžete upravovat své příspěvky v tomto fóru.
Nemůžete mazat své příspěvky v tomto fóru.
Nemůžete hlasovat v tomto fóru.
Nemůžete připojovat soubory k příspěvkům
Můžete stahovat a prohlížet přiložené soubory

Powered by phpBB © 2001, 2005 phpBB Group
Forums ©
Nuke - Elektro Bastlirna

Informace na portálu Elektro bastlírny jsou prezentovány za účelem vzdělání čtenářů a rozšíření zájmu o elektroniku. Autoři článků na serveru neberou žádnou zodpovědnost za škody vzniklé těmito zapojeními. Rovněž neberou žádnou odpovědnost za případnou újmu na zdraví vzniklou úrazem elektrickým proudem. Autoři a správci těchto stránek nepřejímají záruku za správnost zveřejněných materiálů. Předkládané informace a zapojení jsou zveřejněny bez ohledu na případné patenty třetích osob. Nároky na odškodnění na základě změn, chyb nebo vynechání jsou zásadně vyloučeny. Všechny registrované nebo jiné obchodní známky zde použité jsou majetkem jejich vlastníků. Uvedením nejsou zpochybněna z toho vyplývající vlastnická práva. Použití konstrukcí v rozporu se zákonem je přísně zakázáno. Vzhledem k tomu, že původ předkládaných materiálů nelze žádným způsobem dohledat, nelze je použít pro komerční účely! Tento nekomerční server nemá z uvedených zapojení či konstrukcí žádný zisk. Nezodpovídáme za pravost předkládaných materiálů třetími osobami a jejich původ. V případě, že zjistíte porušení autorského práva či jiné nesrovnalosti, kontaktujte administrátory na diskuzním fóru EB.


PHP-Nuke Copyright © 2005 by Francisco Burzi. This is free software, and you may redistribute it under the GPL. PHP-Nuke comes with absolutely no warranty, for details, see the license.
Čas potřebný ke zpracování stránky 0.15 sekund