Vítejte na Elektro Bastlírn?
Nuke - Elektro Bastlirna
  Vytvořit účet
Hlavní · Fórum · DDump · Profil · Zprávy · Hledat na fóru


Nuke - Elektro Bastlirna: Diskuzní fórum

 FAQFAQ   HledatHledat   Uživatelské skupinyUživatelské skupiny   ProfilProfil   Soukromé zprávySoukromé zprávy   PřihlášeníPřihlášení 

Gramofon Tesla NC 470
Jdi na stránku Předchozí  1, 2, 3 ... 9, 10, 11
 
Přidat nové téma   Zaslat odpověď       Obsah fóra Diskuzní fórum Elektro Bastlírny -> Opravy a restaurování starých elektropřístrojů
Zobrazit předchozí téma :: Zobrazit následující téma  
Autor Zpráva
Hill
Administrátor


Založen: Sep 10, 2004
Příspěvky: 21283
Bydliště: Jičín, Český ráj

PříspěvekZaslal: po květen 19 2025, 21:42    Předmět: Citovat

tomashr napsal(a):
...A jinak obecně k NC470 (NAD5128) - v podstatě mi už vše v gramofonu funguje dobře, ale když nasčítám strávený čas a i některé nutné nákupy, tak to objektivně nemá smysl. Tento model žádný zázrak audia nebyl a vyrovnají se mu i celkem levné gramofony (i pod 5000), které budou fungovat ihned.
Má to smysl při cíleném zájmu o retro a zejména zájmu právě o tento model jako vzpomínku na mládí, ale zázraky se prostě nedějí…

V hodnocení zázraku audia s tebou souhlasím, s tvým srovnáním s "celkem levnými gramofony" už ne tak docela: ano, přístroje Sony, AT nebo Dual jsou hezčí, komfortněji vybavené, mají přesnou regulaci otáček a komfortnější ovládání, ale váhal bych s tvrzením, že jsou zvukově lepší. A, jestli hrají lépe, tak ne zas o tolik, aby to bylo úměrné ceně.
Tu NC470 už přece máš, ta nestojí nic. Něco vrazíš do repase a zůstane ti gramofon třeba "příliš obyčejný", ale hifi bude. A ještě se ti dostaví dobrý pocit, žes to rozehrál.
Nebo dobrý pocit z vítězství nad hmotou dnes už není in?
Návrat nahoru
Zobrazit informace o autorovi Odeslat soukromou zprávu
tomashr



Založen: May 19, 2025
Příspěvky: 3

PříspěvekZaslal: út květen 20 2025, 5:50    Předmět: Citovat

Však jsem napsal přesně toto - NC470 jsem oživit prostě chtěl, tím to bylo dáno. A pak mne ještě čeká varianta NAD5120, kterou na konci 80tek sehnal otec, na to se těším ještě více.
Ale je to zkrátka o retru a vzpomínkách (já jsem ročník 1972, tak tohle pamatuji z mládí velmi dobře), ne o absolutním přínosu.

Jinak v tom mám současnou přenosku OM5E a hraje to slušně. Spíš mám výhrady k motoru - stabilita i odhlučnění prostě ideální není, ale tak to holt bylo už u originálu.

Jo a přidám jeden tip - na mém kusu chyběl jeden pant. Nahrazeno 3D tiskem - existuje model https://www.thingiverse.com/thing:4893744 pro jiné gramo, ale rozdíl je jen v tom, že se ve spodním dílu musí přidělat takový žlábek… U mého kus jsem ho na zkoušku vypiloval, abych si vyměřil a už to tak zůstalo, jinak by ale úprava modelu byla samozřejmě banální.
Pokud chybí jen jeden pant, tak je tato náhrada výborná, kryt v plně otevřené poloze udrží pružina z druhého pantu. Pokud by chyběly panty oba, tak by to bylo o něco komplikovanější, ale i tak lepší než nic.
Návrat nahoru
Zobrazit informace o autorovi Odeslat soukromou zprávu
Hill
Administrátor


Založen: Sep 10, 2004
Příspěvky: 21283
Bydliště: Jičín, Český ráj

PříspěvekZaslal: út květen 20 2025, 7:08    Předmět: Citovat

Stabilita otáček je daná čistotou řemeničky motoru, stavu řemínku a frekvence sítě. A mazáním ložiska talíře. Určitá dlouhodobě stálá nepřesnost jmenovitých otáček talíře je podmíněná parametricky.

Hlučnost motorku lze omezit jednak výměnou už nepružných průchodek pro šroubky za pružné (případně mechanickou úpravou - zavěšením motorku v prstenci či koši na pružiny). A také kontrolou stavu ložisek motorku. Jsou kluzná, převážně jednostranně namáhaná. Někdy stačí motorek v závěsu otočit a jeho ložiska čerstvě namazat, někdy ani to nepomůže. Pak už jedině vyměnit motorek.
Návrat nahoru
Zobrazit informace o autorovi Odeslat soukromou zprávu
tomashr



Založen: May 19, 2025
Příspěvky: 3

PříspěvekZaslal: út květen 20 2025, 11:55    Předmět: Citovat

Tady si dovolím tvrdit, že se dostáváme do limitů řešení NC470 jako takového, tohle bylo slabší už nové. Za mne souhlas s doporučením na promazání atd., to mám a řekl bych, že mi to funguje "jako nové". Ještě dodám, že není od věci ani výměna toho kondenzátoru 220n, původní často dost degraduje a výměna za nový je za pár korun.

Naproti tomu vymýšlet nějakou hlubší rekonstrukci s jiným zavěšením motoru atd. už pokládám za nesmysl, to je lépe pořídit něco jiného. Stejně se to modernímu motoru, ideálně s nezávislým řízením otáček, nevyrovná, s tím bych se netrápil.
Návrat nahoru
Zobrazit informace o autorovi Odeslat soukromou zprávu
Hill
Administrátor


Založen: Sep 10, 2004
Příspěvky: 21283
Bydliště: Jičín, Český ráj

PříspěvekZaslal: út květen 20 2025, 13:57    Předmět: Citovat

To je rozumný přístup. S tím zavěšením motorku jsem to jen myslel tak, že původní gumky jsou vymačkané a přenášejí daleko víc vibrací na šasi.

Konečně - taky jsem motorek SMR300 ve svém gramci nahradil stejnosměrným se zpětnovazebním regulátorem. A ještě je zavěšený ve skříni, šasi je v ní zavěšené zvlášť.
Přesto hlučel, jen jinak. Nakonec jsem zjistil, že pěnové podpěry šasi se sesedly natolik, že položení desky stačilo na to, aby ložisko talíře během přehrávání pomalu dosedlo na dno skříně. Ale na tom dně přece sedí držák závěsů motoru! Spravila to zahlubovací fréza, prostě jsem do dna udělal dostatečně velkou díru, ložisko má vůli v luftě a šasi ztichlo.
Návrat nahoru
Zobrazit informace o autorovi Odeslat soukromou zprávu
judeware



Založen: Aug 04, 2009
Příspěvky: 1957
Bydliště: okres Písek

PříspěvekZaslal: pá únor 20 2026, 22:38    Předmět: Citovat

Získal jsem torzo HC-16 a při hledání, zda je osazený motor M305 využitelný i v NC470 (na nic jsem nepřišel) jsem se dostal na stránky "pana Modrovouse".

citace:
Jemná regulace +- 5% od předepsaných otáček
Jak na tohle onen ODSák přišel? Shocked
Návrat nahoru
Zobrazit informace o autorovi Odeslat soukromou zprávu Odeslat e-mail
Hill
Administrátor


Založen: Sep 10, 2004
Příspěvky: 21283
Bydliště: Jičín, Český ráj

PříspěvekZaslal: so únor 21 2026, 8:02    Předmět: Citovat

Podle ostatního textu o tom šasi něco ví, takže si tipnu: zapomněl to vymazat z dat nakopírovaných od jiného typu, který tu jemnou regulaci má.
K tvému dotazu: v šasi HC16 jsem neviděl jiný motorek, než SMR300, což nevylučuje možnost, že v některých místo toho M303 nemohl být.

Dnes se podobné nesmysly objevují až příliš často v nabídkách stejného zboží u různých internetových prodejců, stačí, aby ten první udělal chybu, a mají ji tam všichni. Jednodušeji to snad ani nejde: "kontrol Cé plus kontrol Vé".
Tady je to celkem neškodné, nanejvýš bude nový majitel na NC470 marně hledat regulátor PITCH CONTROL. Ten sice nenajde, ale nijak významně tím neutrpí.

Horší je, že se to stává i realiťákům ve smlouvách na nemovitosti, tam už jde o prachy, i když na to psaní asi mají lidi: občas v tom kopírovaném textu zapomenou změnit číslo parcely, nebo výměru. Kdo to nezkontroluje, nestačí se pak divit. V lepším případě na to na katastru přijdou a vklad nepovolí, nevšimnou-li si ani tam, nastane nové (a dost nepříjemné) kolo nápravy, které může trvat i roky.
Návrat nahoru
Zobrazit informace o autorovi Odeslat soukromou zprávu
lubos1961



Založen: Jul 20, 2010
Příspěvky: 465
Bydliště: Nový Jičín

PříspěvekZaslal: so únor 21 2026, 11:15    Předmět: Citovat

judeware napsal(a):
při hledání, zda je osazený motor M305 využitelný i v NC470 (na nic jsem nepřišel)


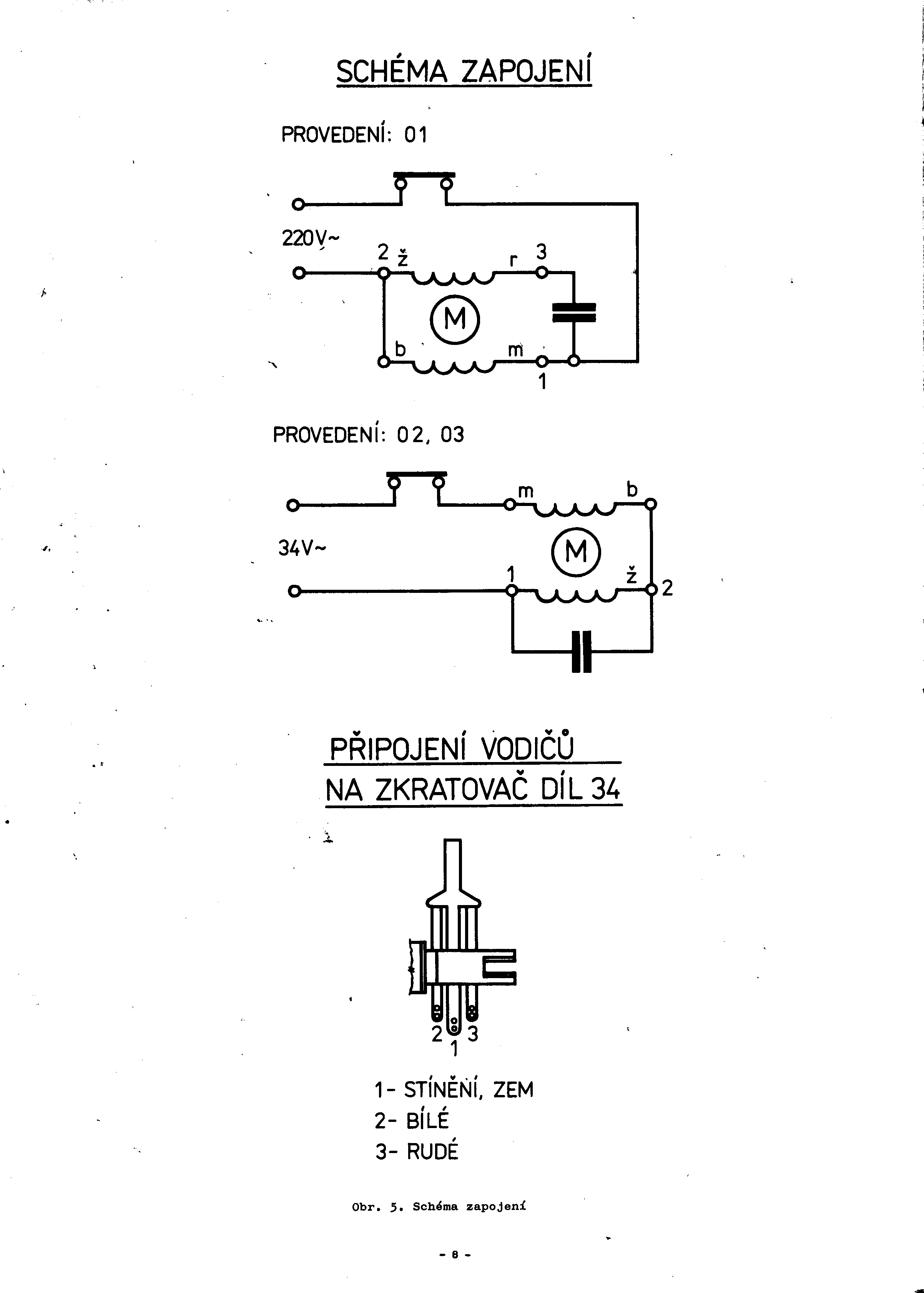
No pokud na tom šasi zůstal rozběhový kondenzátor, tak by to šlo zjistit i podle tohoto kondenzátoru popř jeho zapojením dle servisního manuálu k danému šasi



HC16.png
 Komentář:
 Velikost:  23.76 kB
 Zobrazeno:  20 krát

HC16.png



Motor HC16.png
 Komentář:
 Velikost:  32.12 kB
 Zobrazeno:  33 krát

Motor HC16.png


Návrat nahoru
Zobrazit informace o autorovi Odeslat soukromou zprávu
judeware



Založen: Aug 04, 2009
Příspěvky: 1957
Bydliště: okres Písek

PříspěvekZaslal: so únor 21 2026, 13:01    Předmět: Citovat

Hill napsal(a):
...v šasi HC16 jsem neviděl jiný motorek, než SMR300, což nevylučuje možnost, že v některých místo toho M303 nemohl být.
V mém kusu je M305 (abychom byli přesní a abychom nedělali stejné překlepy, jaké tu kritizujeme). ODSvous tam píše ještě jeden nesmysl - spotřeba je vraj 6VA. Což je sice směšný rozdíl pohledem silnoproudaře, ovšem zároveň je to trojnásobek všude jinde udávaných dvou VA.

Nechce se mi rozdělávat některý z hluboko&daleko uložených NC470, abych se přesvědčil o té kompatibilitě (mechanické), proto jsem položil onen polodotaz. Elektricky je to OK, jak dokládá zdejší obrázek v odkazu výše.
Návrat nahoru
Zobrazit informace o autorovi Odeslat soukromou zprávu Odeslat e-mail
danhard



Založen: Mar 05, 2007
Příspěvky: 6669
Bydliště: Jesenice u Prahy

PříspěvekZaslal: so únor 21 2026, 14:46    Předmět: Citovat

Mám tu 3 motorky M312 NAD5120 120V 60Hz Very Happy
Návrat nahoru
Zobrazit informace o autorovi Odeslat soukromou zprávu Odeslat e-mail
ransom



Založen: Jul 19, 2020
Příspěvky: 4005
Bydliště: Náchod

PříspěvekZaslal: so únor 21 2026, 15:12    Předmět: Citovat

To by se dalo honit vysloužilým frekvenčákem, a ještě by se dala doštelovat rychlost.
_________________
Nepoužívám smajlíky. Pobavený nebo ironický tón si laskavě domyslete sami.
Návrat nahoru
Zobrazit informace o autorovi Odeslat soukromou zprávu
Hill
Administrátor


Založen: Sep 10, 2004
Příspěvky: 21283
Bydliště: Jičín, Český ráj

PříspěvekZaslal: so únor 21 2026, 17:47    Předmět: Citovat

Ten motorek bude mít stejných 300 ot./min. při 50 Hz, jako ty ostatní používané motorky, jen uvítá napájení 120 V, například z odbočky primáru transformátoru (například napájejícího RIAA preamp), jen to trafo by mělo mít výkon s rezervou alespoň 3 W pro motor.
V magnetofonech řady B4 byl taky motor s běhovou fází na 120 V (i když asynchronní), a napájení z odbočky primáru síťového trafa mu svědčí dodnes.
Návrat nahoru
Zobrazit informace o autorovi Odeslat soukromou zprávu
ransom



Založen: Jul 19, 2020
Příspěvky: 4005
Bydliště: Náchod

PříspěvekZaslal: so únor 21 2026, 18:45    Předmět: Citovat

Myslím si to taky. Počet pólů bude stejný, lišit se bude jen impedance vinutí při 50 a 60 Hz. Takže bych to zapojil spíš na 100V/50Hz. Pro 60Hz bych čekal, že se použije menší průměr řemenice.
_________________
Nepoužívám smajlíky. Pobavený nebo ironický tón si laskavě domyslete sami.
Návrat nahoru
Zobrazit informace o autorovi Odeslat soukromou zprávu
danhard



Založen: Mar 05, 2007
Příspěvky: 6669
Bydliště: Jesenice u Prahy

PříspěvekZaslal: so únor 21 2026, 19:23    Předmět: Citovat

Přesně tak, na 50Hz se dává akorát větší fázovací kond.
A když se dá do s motorem další kond, tak to na 230V taky funguje.
Nebo se to dá v zapojení 1 a pak stačí 70V.
Návrat nahoru
Zobrazit informace o autorovi Odeslat soukromou zprávu Odeslat e-mail
lubos1961



Založen: Jul 20, 2010
Příspěvky: 465
Bydliště: Nový Jičín

PříspěvekZaslal: so únor 21 2026, 19:44    Předmět: Citovat

Ano, máte pravdu. Na 60Hz jede motorek na 360 ot. a je na něm menší kladka.
Návrat nahoru
Zobrazit informace o autorovi Odeslat soukromou zprávu
Zobrazit příspěvky z předchozích:   
Přidat nové téma   Zaslat odpověď       Obsah fóra Diskuzní fórum Elektro Bastlírny -> Opravy a restaurování starých elektropřístrojů Časy uváděny v GMT + 1 hodina
Jdi na stránku Předchozí  1, 2, 3 ... 9, 10, 11
Strana 11 z 11

 
Přejdi na:  
Nemůžete odesílat nové téma do tohoto fóra.
Nemůžete odpovídat na témata v tomto fóru.
Nemůžete upravovat své příspěvky v tomto fóru.
Nemůžete mazat své příspěvky v tomto fóru.
Nemůžete hlasovat v tomto fóru.
Nemůžete připojovat soubory k příspěvkům
Můžete stahovat a prohlížet přiložené soubory

Powered by phpBB © 2001, 2005 phpBB Group
Forums ©
Nuke - Elektro Bastlirna

Informace na portálu Elektro bastlírny jsou prezentovány za účelem vzdělání čtenářů a rozšíření zájmu o elektroniku. Autoři článků na serveru neberou žádnou zodpovědnost za škody vzniklé těmito zapojeními. Rovněž neberou žádnou odpovědnost za případnou újmu na zdraví vzniklou úrazem elektrickým proudem. Autoři a správci těchto stránek nepřejímají záruku za správnost zveřejněných materiálů. Předkládané informace a zapojení jsou zveřejněny bez ohledu na případné patenty třetích osob. Nároky na odškodnění na základě změn, chyb nebo vynechání jsou zásadně vyloučeny. Všechny registrované nebo jiné obchodní známky zde použité jsou majetkem jejich vlastníků. Uvedením nejsou zpochybněna z toho vyplývající vlastnická práva. Použití konstrukcí v rozporu se zákonem je přísně zakázáno. Vzhledem k tomu, že původ předkládaných materiálů nelze žádným způsobem dohledat, nelze je použít pro komerční účely! Tento nekomerční server nemá z uvedených zapojení či konstrukcí žádný zisk. Nezodpovídáme za pravost předkládaných materiálů třetími osobami a jejich původ. V případě, že zjistíte porušení autorského práva či jiné nesrovnalosti, kontaktujte administrátory na diskuzním fóru EB.


PHP-Nuke Copyright © 2005 by Francisco Burzi. This is free software, and you may redistribute it under the GPL. PHP-Nuke comes with absolutely no warranty, for details, see the license.
Čas potřebný ke zpracování stránky 0.73 sekund