Vítejte na Elektro Bastlírn?
Nuke - Elektro Bastlirna
  Vytvořit účet
Hlavní · Fórum · DDump · Profil · Zprávy · Hledat na fóru


Nuke - Elektro Bastlirna: Diskuzní fórum

 FAQFAQ   HledatHledat   Uživatelské skupinyUživatelské skupiny   ProfilProfil   Soukromé zprávySoukromé zprávy   PřihlášeníPřihlášení 

Hraju si s nf integrovanými zesilovači,na starší kolena...
Jdi na stránku Předchozí  1, 2, 3 ... 17, 18, 19, 20  Další
 
Přidat nové téma   Zaslat odpověď       Obsah fóra Diskuzní fórum Elektro Bastlírny -> Poradna
Zobrazit předchozí téma :: Zobrazit následující téma  
Autor Zpráva
judeware



Založen: Aug 04, 2009
Příspěvky: 1842
Bydliště: okres Písek

PříspěvekZaslal: pá prosinec 19 2025, 16:33    Předmět: Citovat

Taky TDA1170N. Ale ty nejsou pro audio, nýbrž do vychylování monitorůch. Stehýnka mají v dokumentaci označena jako "GROUND".
Návrat nahoru
Zobrazit informace o autorovi Odeslat soukromou zprávu Odeslat e-mail
Achab



Založen: Nov 05, 2010
Příspěvky: 6128
Bydliště: okr. Vyškov

PříspěvekZaslal: pá prosinec 19 2025, 16:55    Předmět: Citovat

@ransom: z jmenovaných mám po ruce jenom TBA810AS a TCA150T, křídla jsou spojená. Ale u ostatních taky nevidím důvod, proč by spojené být neměly. U všech typů je vyznačené spojení obou se zemí.
Návrat nahoru
Zobrazit informace o autorovi Odeslat soukromou zprávu
judeware



Založen: Aug 04, 2009
Příspěvky: 1842
Bydliště: okres Písek

PříspěvekZaslal: pá prosinec 19 2025, 17:42    Předmět: Citovat

TBA810 IC : PinOut, Specifications, Circuit, Working & Its Applications
citace:
Equivalent & Replacements

The equivalent TBA810 ICs are; A205K, A208K, A210E, DG810, K174YH7, TBA310AS, TBA790D, TBA790U, TBA810AS, TBA810AT, TBA810DS, TBA810T, TBA810DAS, TCA15OD, TCA15OS, TCA15OT, TBA810S, TCA15OU, TCA830A, TCA830, TCA830S, TBA790S, etc. The replacement of TBA810 IC is MA783 IC.
Bylo toho víc, než jsem čekal.
Návrat nahoru
Zobrazit informace o autorovi Odeslat soukromou zprávu Odeslat e-mail
Hill
Administrátor


Založen: Sep 10, 2004
Příspěvky: 21089
Bydliště: Jičín, Český ráj

PříspěvekZaslal: pá prosinec 19 2025, 20:29    Předmět: Citovat

Ano, ale například ty z NDR se sufixem K nemají chladicí křídla, natož k zapájení do DPS, ty mají z výroby nalisovaný chladič.
Ale třeba takový LA4550 (případně TA8217P a ostatní, ne vždy pinově zcela kompatibilní). A taky se dělaly stereo koncáky s křidýlky nikoli místo středních dvou nebo tří vývodů, ale až na konci pouzdra a ještě s přesahem, aby se na ně dal případně přišroubovat větší chladič. A taky se vyskytovaly (většinou ale jednokanálové) 1 W koncáčky v pouzdrech DIL, které neměly chladicí přídla vůbec, teplo odváděly všechny piny 8-14. Ty byly buď od Samsungu, nebo KIA, na označení si nevzpomínám.
Ty výkonnější (nad 1x 6 W nebo 2x 3 W) už s chlazením zapájeným křidýlkem nepočítaly, byly v pouzdrech různě bizarních.
Návrat nahoru
Zobrazit informace o autorovi Odeslat soukromou zprávu
danhard



Založen: Mar 05, 2007
Příspěvky: 6576
Bydliště: Jesenice u Prahy

PříspěvekZaslal: pá prosinec 19 2025, 20:40    Předmět: Citovat

uA706 měly konstrukci jako TDA2010, pouzdro se chladilo zhora.
Návrat nahoru
Zobrazit informace o autorovi Odeslat soukromou zprávu Odeslat e-mail
Mysteri



Založen: Mar 12, 2008
Příspěvky: 3170
Bydliště: Považie - Vorošilovo

PříspěvekZaslal: pá prosinec 19 2025, 22:58    Předmět: Citovat

padik napsal(a):
Je tu nějaký pamětník, který stavěl s MBA 810 a pamatuje si zaváděcí cenu? Já jo. Myslím, bylo to až 320 Kč,.

Študoval som na SPŠ-E v Trdošíne, tak nám ,,učňáci" z Nižnej predávali celý zvukový modul vr.1978 za 150 Kčs (?). Potom sme však zistili, kde je smetisko TESLY Nižná, tak tam sme chodievali na ,,samozber" a nachádzali krásne farebné skrinky na TV Minitesla, (zelené, červené, modré, oranžové, žlté atď len im chýbala nejaká vetriaca mriežka, prípadne bol niekde škrabanec) a vrátnik tam mal už naskladané v krabiciach ,,všimné" balenia prvých COLOR 110 IN LINE s obrazovkou Toshiba pre management firmy a prospektorov mestečka Nižná...
P.S. Ale k téme: Na intráku v Trdošíne v 1.ročníku v r. 1978 som zistil: Keď na modul s MBA 810 na vstup privediem NF signál z repro výstupu B101, tak jeho zvukový prejav sa veľmi zvýši, je veľmi veľký, asi na úrovni 30W, až do momentu, keď sa ozve rana, niečo preletí okolo ksichtu a v integráči je kráter....Takto sa tvoria a vznikajú skutoční odborníci v obore ..elektro"......😊
Návrat nahoru
Zobrazit informace o autorovi Odeslat soukromou zprávu
ransom



Založen: Jul 19, 2020
Příspěvky: 3809
Bydliště: Náchod

PříspěvekZaslal: so prosinec 20 2025, 6:48    Předmět: Citovat

Pokud jde o MBA810 ve Favoritu: Není nic jednoduššího než abych vyžebral nějakou jednotku zapalování tady na největším autovrakovišti v kraji (majitel i vedoucí vrakáče jsou moji kamarádi) otevřel to a nafotil. Co? Má to být přímo to provedení z obrázku?
Připouštím, že by MBA810 mohl sloužit jako budič spínacího trandu. Ten KUX má docela malou betu, takže pro vybuzení do saturace by mu ampér do báze mohl vyhovovat. Kombinace socialistické vynalézavosti a součástkové nouze...?

_________________
Nepoužívám smajlíky. Pobavený nebo ironický tón si laskavě domyslete sami.
Návrat nahoru
Zobrazit informace o autorovi Odeslat soukromou zprávu
Hill
Administrátor


Založen: Sep 10, 2004
Příspěvky: 21089
Bydliště: Jičín, Český ráj

PříspěvekZaslal: so prosinec 20 2025, 8:37    Předmět: Citovat

Patrně to poslední konstatování je uvěřitelné. Jsem zvědavý, co v tom elektronickém přerušovači zjistíš. Ale tomu buzení KUčka bych věřil už teď, při Ic > 5 A potřebovaly ke spolehlivému otevření do saturace proud báze přes půl ampéru.
Kdo to ještě pamatujete, víte, že rozkaz zněl jasně - použít součástky (nebo jiný materiál) z tuzemské výroby, v krajním případě z jiné země RVHP. Konstruktéři a zlepšovatelé, ukažte se. Z nouze ctnost. A teprve po létech se ukazuje, co všechno zvládli.
Bohužel také následné schvalování a zavedení do výroby trvalo i roky.
Vždyť i takový tranzistorák IN70 vznikl víceméně načerno, aby se dalo ukázat, že integrovaný obvod má budoucnost, někdo neomylný rozhodl, že je nepotřebujeme. Přitom ve světě už se dělaly integráče daleko hustší, než jen tři tranzistory v jednom pouzdře.
Návrat nahoru
Zobrazit informace o autorovi Odeslat soukromou zprávu
patrikvarga



Založen: Apr 24, 2007
Příspěvky: 1280

PříspěvekZaslal: so prosinec 20 2025, 10:38    Předmět: Citovat

UPC


upc.jpg
 Komentář:
 Velikost:  28.01 kB
 Zobrazeno:  8 krát

upc.jpg


Návrat nahoru
Zobrazit informace o autorovi Odeslat soukromou zprávu
feliz_navidad



Založen: Oct 15, 2009
Příspěvky: 922

PříspěvekZaslal: so prosinec 20 2025, 10:49    Předmět: Citovat

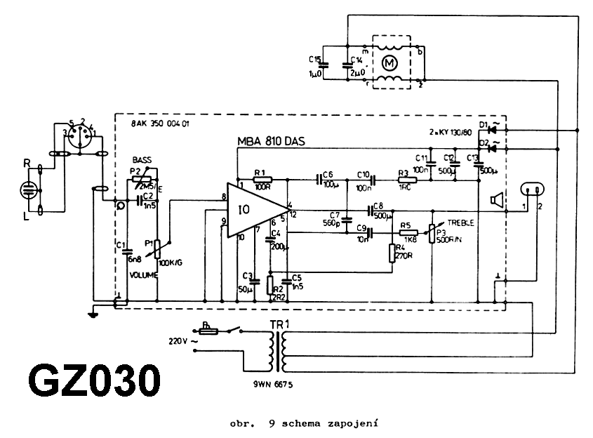
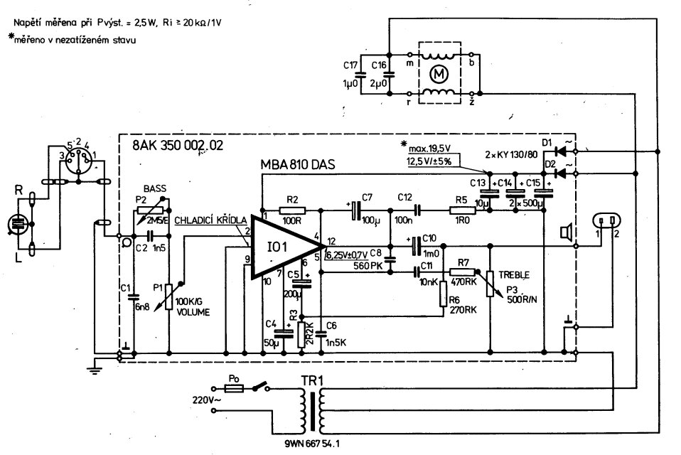
Nevíte, z čeho je tenhle mono modul s MBA810? Označení je 8AK 350 002.
Je tam dost neobvyklá kombinace potenciometrů na tónové korekce - 2M5 na basech a 500R na výškách.



MBA810_modul.jpg
 Komentář:
 Velikost:  69.66 kB
 Zobrazeno:  9 krát

MBA810_modul.jpg


Návrat nahoru
Zobrazit informace o autorovi Odeslat soukromou zprávu
judeware



Založen: Aug 04, 2009
Příspěvky: 1842
Bydliště: okres Písek

PříspěvekZaslal: so prosinec 20 2025, 11:11    Předmět: Citovat

ransom napsal(a):
Pokud jde o MBA810 ve Favoritu... Má to být přímo to provedení z obrázku?
Na horním krytu je varovná samolepka s bleskem. Tenkrát jsem k tomu kleslil schéma, které zůstalo neučesané, protože tam nakonec byla maličkost (kromě vody), kterou jsem napoprvé přehlédl.
Návrat nahoru
Zobrazit informace o autorovi Odeslat soukromou zprávu Odeslat e-mail
masar



Založen: Dec 03, 2005
Příspěvky: 14027

PříspěvekZaslal: so prosinec 20 2025, 11:31    Předmět: Citovat

>feliz_navidad: Modul je z kufříkových gramofonů, např. GZ041.
Wink



GZ041.png
 Komentář:
 Velikost:  63.97 kB
 Zobrazeno:  32 krát

GZ041.png


Návrat nahoru
Zobrazit informace o autorovi Odeslat soukromou zprávu Odeslat e-mail
feliz_navidad



Založen: Oct 15, 2009
Příspěvky: 922

PříspěvekZaslal: so prosinec 20 2025, 11:41    Předmět: Citovat

masar: Number one

Hledal jsem různá NZ..., myslel jsem, že řada GZ byla jen germaniová, resp. tranzistorová.
Návrat nahoru
Zobrazit informace o autorovi Odeslat soukromou zprávu
Hill
Administrátor


Založen: Sep 10, 2004
Příspěvky: 21089
Bydliště: Jičín, Český ráj

PříspěvekZaslal: so prosinec 20 2025, 11:51    Předmět: Citovat

Ten modul byl už v modelu GZ030.
Tady k tomu máš schéma i osazovák, ono se číslování pozic součástek časem měnilo: časem tam přidali C3 a R1, které do schématu k GE041 nějak zapomněli zakreslit.
C1 odděloval stejnosměrně běžec potenciometru hlasitosti od MBAčka, jehož pracovní bod nastavoval R1 = M1 mezi vstupem MBAčka a kostrou.



GZ030-szp.png
 Komentář:
 Velikost:  174.77 kB
 Zobrazeno:  13 krát

GZ030-szp.png



GZ030-sch.png
 Komentář:
 Velikost:  118.23 kB
 Zobrazeno:  25 krát

GZ030-sch.png


Návrat nahoru
Zobrazit informace o autorovi Odeslat soukromou zprávu
feliz_navidad



Založen: Oct 15, 2009
Příspěvky: 922

PříspěvekZaslal: so prosinec 20 2025, 12:16    Předmět: Citovat

Pustil jsem si ten modul přes ARS810 a nemůžu říct, že by to bylo neposlouchatelné.
Návrat nahoru
Zobrazit informace o autorovi Odeslat soukromou zprávu
Zobrazit příspěvky z předchozích:   
Přidat nové téma   Zaslat odpověď       Obsah fóra Diskuzní fórum Elektro Bastlírny -> Poradna Časy uváděny v GMT + 1 hodina
Jdi na stránku Předchozí  1, 2, 3 ... 17, 18, 19, 20  Další
Strana 18 z 20

 
Přejdi na:  
Nemůžete odesílat nové téma do tohoto fóra.
Nemůžete odpovídat na témata v tomto fóru.
Nemůžete upravovat své příspěvky v tomto fóru.
Nemůžete mazat své příspěvky v tomto fóru.
Nemůžete hlasovat v tomto fóru.
Nemůžete připojovat soubory k příspěvkům
Můžete stahovat a prohlížet přiložené soubory

Powered by phpBB © 2001, 2005 phpBB Group
Forums ©
Nuke - Elektro Bastlirna

Informace na portálu Elektro bastlírny jsou prezentovány za účelem vzdělání čtenářů a rozšíření zájmu o elektroniku. Autoři článků na serveru neberou žádnou zodpovědnost za škody vzniklé těmito zapojeními. Rovněž neberou žádnou odpovědnost za případnou újmu na zdraví vzniklou úrazem elektrickým proudem. Autoři a správci těchto stránek nepřejímají záruku za správnost zveřejněných materiálů. Předkládané informace a zapojení jsou zveřejněny bez ohledu na případné patenty třetích osob. Nároky na odškodnění na základě změn, chyb nebo vynechání jsou zásadně vyloučeny. Všechny registrované nebo jiné obchodní známky zde použité jsou majetkem jejich vlastníků. Uvedením nejsou zpochybněna z toho vyplývající vlastnická práva. Použití konstrukcí v rozporu se zákonem je přísně zakázáno. Vzhledem k tomu, že původ předkládaných materiálů nelze žádným způsobem dohledat, nelze je použít pro komerční účely! Tento nekomerční server nemá z uvedených zapojení či konstrukcí žádný zisk. Nezodpovídáme za pravost předkládaných materiálů třetími osobami a jejich původ. V případě, že zjistíte porušení autorského práva či jiné nesrovnalosti, kontaktujte administrátory na diskuzním fóru EB.


PHP-Nuke Copyright © 2005 by Francisco Burzi. This is free software, and you may redistribute it under the GPL. PHP-Nuke comes with absolutely no warranty, for details, see the license.
Čas potřebný ke zpracování stránky 0.23 sekund