Vítejte na Elektro Bastlírn?
Nuke - Elektro Bastlirna
  Vytvořit účet Hlavní · Fórum · DDump · Profil · Zprávy · Hledat na fóru · Příspěvky na provoz EB

Vlákno na téma KORONAVIRUS - nutná registrace


Nuke - Elektro Bastlirna: Diskuzní fórum

 FAQFAQ   HledatHledat   Uživatelské skupinyUživatelské skupiny   ProfilProfil   Soukromé zprávySoukromé zprávy   PřihlášeníPřihlášení 

SMD Schottky dioda
Jdi na stránku Předchozí  1, 2
 
Přidat nové téma   Zaslat odpověď       Obsah fóra Diskuzní fórum Elektro Bastlírny -> Součástky
Zobrazit předchozí téma :: Zobrazit následující téma  
Autor Zpráva
HF_Tech



Založen: Apr 25, 2022
Příspěvky: 1685

PříspěvekZaslal: st září 17 2025, 7:05    Předmět: Citovat

Kdyby třeba alespoň dal fotku desky...
To odcházení má vždy konkrétní příčinu, ale je na potřeba trochu znalostí a malinko lepší měřící vybavení.
Návrat nahoru
Zobrazit informace o autorovi Odeslat soukromou zprávu
judeware



Založen: Aug 04, 2009
Příspěvky: 1707
Bydliště: okres Písek

PříspěvekZaslal: st září 17 2025, 21:16    Předmět: Citovat

judeware napsal(a):
...byla tam taky v pánu dioda na malé straně. Cool
Opravu modulu do odsavače jsem přijal ze zvědavosti a když mi ho soused přinesl, divil jsem se, co to je (piksla s dotykovými ploškami, druhá s C pro 1f motor, se spínaným zdrojem s diodou na malé straně na kaši, jak jsem záhy zjistil). A proč odešla (říkám si stejně jako celeron a jeho patálie)?

Ten modul nahrazoval obyčejné mechanické přepínače rychlostí ventilátoru. Tady byla ovšem klávesnice s nějakou čislicovinou, zdroj na 12V pro cívky relátek a LEDkové osvělení, číslicovina byla napájená pěti volty (Ťing Ťong stabilizátor na 5V TO220 krmený těmi dvanácti volty). Na relátkách nebyly ochranné diody (na vývodech cívek). Question Exclamation Spínané to bylo čínským ULN2003. Odešla jen dioda. Že by to bylo chybějícími diodami na cívkách? Nebo ten zdroj schytal nějaké štulce po bouřkách, či po výpadcích proudu? Dal jsem tam nějakou 1,5A ze sat. zdroje (tloušťkou o něco míň, než UF5408). Jindy si fotím každou maličkost, ale v tomhle případě nemám ani ň.

Ono se řekne dioda...
Návrat nahoru
Zobrazit informace o autorovi Odeslat soukromou zprávu Odeslat e-mail
PotPalo



Založen: May 13, 2009
Příspěvky: 5774
Bydliště: BA-Petržalka :(

PříspěvekZaslal: st září 17 2025, 21:42    Předmět: Citovat

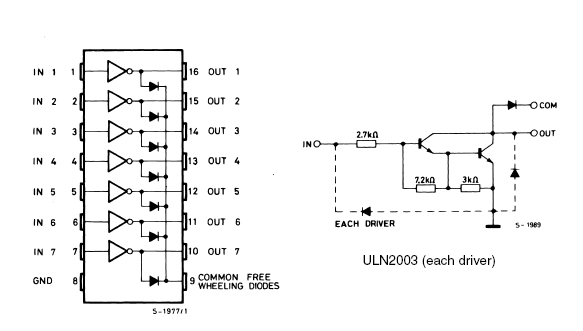
ULN2003 má diódy v sebe, takže na relátkach nemusia byť, pokiaľ sa teda správne zapojí pin 9...


block-diagram-of-the-internal-ULN2003-IC.png
 Komentář:
 Velikost:  17.47 kB
 Zobrazeno:  13 krát

block-diagram-of-the-internal-ULN2003-IC.png



_________________
Globálne otepľovanie je spôsobené masívnou zástavbou a rúbaním storočných stromov. Kamene namiesto trávy tiež prispievajú k otepľovaniu.
Návrat nahoru
Zobrazit informace o autorovi Odeslat soukromou zprávu Odeslat e-mail
judeware



Založen: Aug 04, 2009
Příspěvky: 1707
Bydliště: okres Písek

PříspěvekZaslal: st září 17 2025, 21:59    Předmět: Citovat

Už jsem to vrátil, takže si tuto věc neověřím. Každopádně v mém případě jsem to řešil papírově bytelnější diodou, než byla ta původní v SMD. Čtvercové plošky po diodě jsem očistil knotem, provrtal otvory 0,75mm a osadil nastojato výše uvedenou drátovou diodu (ze strany součástek). Nic nepískalo, nehřálo. Ale uznávám, že termostat je asi choulostivější, než toto. Byť tyhle minispínané zdroje považuju už z principu za kurvítka. Trvalý provoz zdroje kvůli sepnutí relátek a motoru průměrně jednou denně? Sad
Návrat nahoru
Zobrazit informace o autorovi Odeslat soukromou zprávu Odeslat e-mail
Celeron



Založen: Apr 02, 2011
Příspěvky: 19889
Bydliště: Nový Bydžov

PříspěvekZaslal: pá září 19 2025, 10:32    Předmět: Citovat

Termostat je francouzskej Watts, vyráběj ho opravdu žabožrouti na základě požadavků českýho dovozce, technik dovozce byl ve výrobním podniku. Otázka je z čeho. Dioda vždy odejde na průraz, má pak 2-5 ohmů. Kouknul jsem do asi o rok až dva staršího termostatu, dioda má stejný číslo ale před ním je nějakej jinej symbol, asi jinej výrobce.
Podle zapojení bych zdroj tipoval na něco podobnýho LNK604 pulzáku ale jedna noha mě tam nehraje. Relátko je ošetřený diodama bez popisu v MELF futrálu, možná 1N4148.
Diodu ze sekundáru z toho staršího termostatu jsem vytáhl a na laboráku jsem ji prohnal DC napětím na elektronickou zátěž cca 200mA. Dioda se přerušila na cca 95V a to úplně. Vytáhl jsem diodu z termostatu ze série, která fest odcházela. Termostat měl zdroj v pořádku, ale byl prasklej dotykáč displej, což nemá žádnou spojitost. No a ta dioda při stejným trápení na laboráku a zátěži odešla proražením už při pouhých 27V! Rolling Eyes Odpor kolem 3ohmů. Takže to opravdu vypadá na nějakej PRCáckej shit.
Nejspíš to odejde při souhře více negativních vlivů. Více vybitej superkap, možná náběhovej proud do relátka, nenastavený porty procáku těsně po resetu a možná i něco dalšího. No nakoupím SMA diody na cca 100V a budu měnit.

_________________
Jirka

Proč mi nemůže všechno chodit hned ?!!
Návrat nahoru
Zobrazit informace o autorovi Odeslat soukromou zprávu
lesana87



Založen: Sep 20, 2014
Příspěvky: 3867

PříspěvekZaslal: pá září 19 2025, 11:24    Předmět: Citovat

Celeron napsal(a):
Kouknul jsem do asi o rok až dva staršího termostatu, dioda má stejný číslo ale před ním je nějakej jinej symbol, asi jinej výrobce.

Aha, takže na diodě je i logo výrobce, ale fotku sem nedáš, jen kopa nepodstatných plků. Že ty sis chtěl, jako poslední dobou skoro vždy, jen pokecat?
Návrat nahoru
Zobrazit informace o autorovi Odeslat soukromou zprávu
Celeron



Založen: Apr 02, 2011
Příspěvky: 19889
Bydliště: Nový Bydžov

PříspěvekZaslal: pá září 19 2025, 11:47    Předmět: Citovat

A jak mám asi vyfotit půlmilimetrový hnidy když nemám makro? USB mikroskop mi šel do kopru, prostě Hadex.
Hmm, a že si chci jen pokecat? Takže nápodobně, kolik toho z tebe za poslední dobu vypadlo, co by mě nějak pomohlo?

_________________
Jirka

Proč mi nemůže všechno chodit hned ?!!
Návrat nahoru
Zobrazit informace o autorovi Odeslat soukromou zprávu
lesana87



Založen: Sep 20, 2014
Příspěvky: 3867

PříspěvekZaslal: pá září 19 2025, 15:51    Předmět: Citovat

Když já věštit z logru neumím. Foťák s makrem nemáš, telefon s makrem nemáš, skener nemáš? Kdybys chtěl opravdu pomoct, dáš sem nějaké relevantní informace, takhle je to fakt jen o tom pokecu. V některých vláknech si i sám hned na své otázky odpovídáš.
Návrat nahoru
Zobrazit informace o autorovi Odeslat soukromou zprávu
Habesan



Založen: Jan 12, 2009
Příspěvky: 7286
Bydliště: Plzeňsko

PříspěvekZaslal: st říjen 01 2025, 10:18    Předmět: Citovat

Celeron napsal(a):
USB mikroskop mi šel do kopru, prostě Hadex.
Mikroskop, který prodává na sousedním fóru kolega BlackArt, ukazuje docela pěkně.
Navíc je přiměřeně válcový, takže se dá upnout do stojanu od frézky.
(Jestli bude jeho životnost jako u toho z Hadexu, nedovedu posoudit.)

_________________
Sháním hasičák s CO2 "sněhový", raději funkční.
(Nemusí mít platnou revizi.)
(Celkově budu raději, když se to obejde bez papírů.)
Návrat nahoru
Zobrazit informace o autorovi Odeslat soukromou zprávu Zobrazit autorovy WWW stránky
JirkaZ



Založen: Feb 26, 2021
Příspěvky: 3610

PříspěvekZaslal: st říjen 01 2025, 10:24    Předmět: Citovat

K těm makrofotkám:

1) každý normální šmatlafoun snad má makro režim, nebo ne? Případně existují různé aplikace typu lupa apod., které to dokáží ještě vylepšit.

2) pokud nefunguje bod 1, tak už fakt hodně dlouho existuje věc zvaná předsádka, dnes se to nabízí i pro šmatlafouny.

No a nebo lze prostě vzít normální lupu a podržet ji ve vhodné vzdálenosti před příslušným objektivem (nejhorší, ale stále funkční řešení).

_________________
Kdo chce, hledá způsob;
kdo ne - hledá důvod.

Ze dvou možností často volím tu třetí.
Návrat nahoru
Zobrazit informace o autorovi Odeslat soukromou zprávu
Zobrazit příspěvky z předchozích:   
Přidat nové téma   Zaslat odpověď       Obsah fóra Diskuzní fórum Elektro Bastlírny -> Součástky Časy uváděny v GMT + 1 hodina
Jdi na stránku Předchozí  1, 2
Strana 2 z 2

 
Přejdi na:  
Nemůžete odesílat nové téma do tohoto fóra.
Nemůžete odpovídat na témata v tomto fóru.
Nemůžete upravovat své příspěvky v tomto fóru.
Nemůžete mazat své příspěvky v tomto fóru.
Nemůžete hlasovat v tomto fóru.
Nemůžete připojovat soubory k příspěvkům
Můžete stahovat a prohlížet přiložené soubory

Powered by phpBB © 2001, 2005 phpBB Group
Forums ©
Nuke - Elektro Bastlirna

Informace na portálu Elektro bastlírny jsou prezentovány za účelem vzdělání čtenářů a rozšíření zájmu o elektroniku. Autoři článků na serveru neberou žádnou zodpovědnost za škody vzniklé těmito zapojeními. Rovněž neberou žádnou odpovědnost za případnou újmu na zdraví vzniklou úrazem elektrickým proudem. Autoři a správci těchto stránek nepřejímají záruku za správnost zveřejněných materiálů. Předkládané informace a zapojení jsou zveřejněny bez ohledu na případné patenty třetích osob. Nároky na odškodnění na základě změn, chyb nebo vynechání jsou zásadně vyloučeny. Všechny registrované nebo jiné obchodní známky zde použité jsou majetkem jejich vlastníků. Uvedením nejsou zpochybněna z toho vyplývající vlastnická práva. Použití konstrukcí v rozporu se zákonem je přísně zakázáno. Vzhledem k tomu, že původ předkládaných materiálů nelze žádným způsobem dohledat, nelze je použít pro komerční účely! Tento nekomerční server nemá z uvedených zapojení či konstrukcí žádný zisk. Nezodpovídáme za pravost předkládaných materiálů třetími osobami a jejich původ. V případě, že zjistíte porušení autorského práva či jiné nesrovnalosti, kontaktujte administrátory na diskuzním fóru EB.


PHP-Nuke Copyright © 2005 by Francisco Burzi. This is free software, and you may redistribute it under the GPL. PHP-Nuke comes with absolutely no warranty, for details, see the license.
Čas potřebný ke zpracování stránky 0.14 sekund