Vítejte na Elektro Bastlírn?
Nuke - Elektro Bastlirna
  Vytvořit účet Hlavní · Fórum · DDump · Profil · Zprávy · Hledat na fóru · Příspěvky na provoz EB

Vlákno na téma KORONAVIRUS - nutná registrace


Nuke - Elektro Bastlirna: Diskuzní fórum

 FAQFAQ   HledatHledat   Uživatelské skupinyUživatelské skupiny   ProfilProfil   Soukromé zprávySoukromé zprávy   PřihlášeníPřihlášení 

Nesrovnalost ve schématu zapojení NPN tranzistoru
Jdi na stránku 1, 2  Další
 
Přidat nové téma   Zaslat odpověď       Obsah fóra Diskuzní fórum Elektro Bastlírny -> Řešení problémů s různými konstrukcemi
Zobrazit předchozí téma :: Zobrazit následující téma  
Autor Zpráva
jklmpuzo



Založen: Aug 15, 2025
Příspěvky: 4

PříspěvekZaslal: pá srpen 15 2025, 11:20    Předmět: Nesrovnalost ve schématu zapojení NPN tranzistoru Citovat

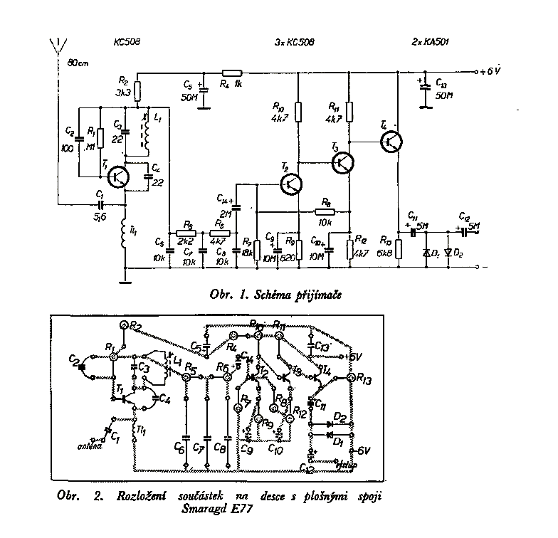
Ve schéma superreakčního přijímače uveřejněném v AR 10/1971 je rozpor mezi schématem zapojení a osazovacím schématem součástek na DPS, konkrétně je v osazení na DPS obrácená polarita elektrolytického kondenzátoru oproti schématu zapojení. Protože jsem v této oblasti začátečník , nedokážu posoudit, která ze dvou možností zapojení toho kondenzátoru je správná. Přikládám obrázek zapojení předmětného uzlu.
Přepokládám, že správně je schéma zapojení přijímače a nikoli osazovací schéma (tedy že kladný vývod elektrolytu je připojený na Betu T2). Můžete mi tuto domněnku potvrdit?



NPN zapojení.png
 Komentář:
 Velikost:  71.86 kB
 Zobrazeno:  145 krát

NPN zapojení.png


Návrat nahoru
Zobrazit informace o autorovi Odeslat soukromou zprávu
asdf



Založen: Oct 06, 2022
Příspěvky: 541

PříspěvekZaslal: pá srpen 15 2025, 11:40    Předmět: Citovat

Já bych ten kondenzátor dal plusem doleva. Jinak ten vývod tranzistoru se jmenuje báze a ne beta. Ještě teda nevím, jestli v tom schematu není něco vlevo.
Návrat nahoru
Zobrazit informace o autorovi Odeslat soukromou zprávu Zobrazit autorovy WWW stránky
ondraN



Založen: Aug 16, 2022
Příspěvky: 811
Bydliště: Roztoky

PříspěvekZaslal: pá srpen 15 2025, 11:46    Předmět: Citovat

To schéma moc nedává smysl. Ten tranzistor nemá vůbec nastavený pracovní bod. Je to správně obkreslené?
Jinak v uvedeném schématu by měla být polarita (-) na bázi (ne betu) tranzistoru, takže osazovací schéma je správné.

Tranzistor má tyto vývody báze, kolektor, emitor. Beta se označuje proudový zesilovací činitel (nebo taky h21)
Návrat nahoru
Zobrazit informace o autorovi Odeslat soukromou zprávu Odeslat e-mail
konosuke



Založen: Dec 18, 2006
Příspěvky: 9790
Bydliště: Český Těšín tam v pohraničí

PříspěvekZaslal: pá srpen 15 2025, 11:49    Předmět: Citovat

šipka ven - NPN, kolektor na plus, ten elyt je asi fakt zakreslen naopak
_________________
Co se může pokazit to se taky pokazí. Co se nemůže pokazit to se pokazí taky. (Murphy)
Návrat nahoru
Zobrazit informace o autorovi Odeslat soukromou zprávu
jklmpuzo



Založen: Aug 15, 2025
Příspěvky: 4

PříspěvekZaslal: pá srpen 15 2025, 12:10    Předmět: Citovat

konosuke napsal(a):
šipka ven - NPN, kolektor na plus, ten elyt je asi fakt zakreslen naopak

Moc děkuju za rychlou reakci, píšeš, že je asi zakreslený opačně , ale ve kterém schematu je tedy špatně?
Pro úplnost vzhledem na přechozí rekce přikládám celé schéma a DPS.

Příloha zbavena zbytečného okolí a diakritiky v názvu souboru - příště už sám, jo?
Hill



prijimac__z_ar_10__1971.png
 Komentář:
 Velikost:  48.23 kB
 Zobrazeno:  183 krát

prijimac__z_ar_10__1971.png


Návrat nahoru
Zobrazit informace o autorovi Odeslat soukromou zprávu
asdf



Založen: Oct 06, 2022
Příspěvky: 541

PříspěvekZaslal: pá srpen 15 2025, 12:18    Předmět: Citovat

Tys nám dost součástek zatajil. Smile Já bych to asi zapojil bez toho ellytu a změřil, kde je plus a kde mínus. Prostě místo toho ellytu dát voltmetr.
Návrat nahoru
Zobrazit informace o autorovi Odeslat soukromou zprávu Zobrazit autorovy WWW stránky
ondraN



Založen: Aug 16, 2022
Příspěvky: 811
Bydliště: Roztoky

PříspěvekZaslal: pá srpen 15 2025, 12:19    Předmět: Citovat

Tak s tím R8 už to má smysl. A pravdu má osazovací schéma. A pokud chceš mít jistotu, tak až to bude osazené a zapnuté, dej na ten elyt hroty měřáku, plus na plus, mínus na mínus a musí ukázat kladné napětí. A nebo použij místo elytu keramiku nebo svitek.
Návrat nahoru
Zobrazit informace o autorovi Odeslat soukromou zprávu Odeslat e-mail
DukeNuke



Založen: Apr 02, 2018
Příspěvky: 1845

PříspěvekZaslal: pá srpen 15 2025, 12:33    Předmět: Citovat

Ryze odhadem - optimální pracovní bod na kolektoru T1 bude zhruba polovina napájecího napětí. Stejné bude přes R5 a R6 na jednom vývodu C14.
Na emitoru T3 nebude nikdy víc, než polovina napájecího napětí. To se navíc sníží děličem R7 a R8. C14 by tedy měl být minusem na bázi, správně by měl být plošný spoj.
Ale jak doporučují kolegové - můžeš C14 při osazení vynechat a změřit napětí. Případně použít keramiku, kde na polaritě nezáleží.
Návrat nahoru
Zobrazit informace o autorovi Odeslat soukromou zprávu
jklmpuzo



Založen: Aug 15, 2025
Příspěvky: 4

PříspěvekZaslal: pá srpen 15 2025, 13:08    Předmět: Citovat

Odstraněna citace předcházejícího příspěvku, viz bod 4f "Pravidel". jimirek

Ten nápad dát tam nejprve NE-elyt (keramiku, svitek ap.) je pro mně další poznatek - netušil jsem , že to lze. Jinak z tvé odpovědi (a i z některých předchozích ) pro mně vyplývá, že to není tak jednoznačné s tím, kde bude + a kde - , takže ta "předběžná měřící" metoda bude asi to, jsem hledal. Díky.
Návrat nahoru
Zobrazit informace o autorovi Odeslat soukromou zprávu
DukeNuke



Založen: Apr 02, 2018
Příspěvky: 1845

PříspěvekZaslal: pá srpen 15 2025, 14:04    Předmět: Citovat

Ony v roce 1971 ještě nebyly technologie, kterými by se dala vyrobit 2µF keramika. A svitek s takovou kapacitou by byl příliš velký. Proto je tam elyt. Slouží jen k přenosu střídavého signálu, takže tam lze použít cokoli.
Návrat nahoru
Zobrazit informace o autorovi Odeslat soukromou zprávu
DukeNuke



Založen: Apr 02, 2018
Příspěvky: 1845

PříspěvekZaslal: pá srpen 15 2025, 14:39    Předmět: Citovat

Tak jsem se s tím U/2 moc netrefil Smile
Nicméně jsem to zkusil naklovat do simulátoru. I tak vychází ta polarita v DPS správně. Hodnoty platí pro β=100. Pro takhle malá napětí je v podstatě i elytu jedno, jak ho zapojíš...



napetismaragd.jpg
 Komentář:
 Velikost:  25.17 kB
 Zobrazeno:  64 krát

napetismaragd.jpg


Návrat nahoru
Zobrazit informace o autorovi Odeslat soukromou zprávu
Mysteri



Založen: Mar 12, 2008
Příspěvky: 3160
Bydliště: Považie - Vorošilovo

PříspěvekZaslal: pá srpen 15 2025, 22:15    Předmět: Citovat

V tých časoch dosť často boli uverejňované v ďalších číslach ,,opravy" schém, DPS a pod....
Návrat nahoru
Zobrazit informace o autorovi Odeslat soukromou zprávu
xsc



Založen: Sep 25, 2014
Příspěvky: 8419

PříspěvekZaslal: pá srpen 15 2025, 22:40    Předmět: Citovat

Tohle asi nikdo neopravoval. Případné přepólování elytu o 0,5V se projevilo za tak dlouho, že už dávno byla taková hračka rozebrána na jiný experiment.
Návrat nahoru
Zobrazit informace o autorovi Odeslat soukromou zprávu
jklmpuzo



Založen: Aug 15, 2025
Příspěvky: 4

PříspěvekZaslal: so srpen 16 2025, 6:33    Předmět: Citovat

Mysteri napsal(a):
V tých časoch dosť často boli uverejňované v ďalších číslach ,,opravy" schém, DPS a pod....

To bylo první , co jsem hledal, ale oprava nebyla uveřejněná, prohledal jsem několik ročníků AR než jsem to vzdal.
Možná zajímavé ještě v té souvislosti je, že totožné zapojení tohoto přijímače bylo po letech uveřejněné v AR 5/1980 jako návod na stavbu dálkového ovládání, a i v tomto článku je ve schématu elyt C14 zapojený + na bázi T2. V tomto článku, ale není deska DPS a autor se odvolává a doporučuje použít právě DPS z původního uveřejnění tohoto přijímače v AR 10/1971 (v odvolávce je chybně uvedené 5/1971), kde je polarita C14 obrácená.
Takže chyb tam bylo docela dost, proti tomu je moje přeřeknutí "Beta-báze"
legrácka Very Happy
Návrat nahoru
Zobrazit informace o autorovi Odeslat soukromou zprávu
HF_Tech



Založen: Apr 25, 2022
Příspěvky: 1908

PříspěvekZaslal: so srpen 16 2025, 6:48    Předmět: Citovat

Pro klid duše tam můžeš dát dva kusy tohodle: https://www.tme.eu/cz/details/fg28x7r1e105krt06/kondenzatory-mlcc-tht/tdk/ nebo podobný.
Svitek by to chtělo spíše bezindučkní.
Tenkrát to byl součástkový pravěk a stavělo se z toho co bylo.
Návrat nahoru
Zobrazit informace o autorovi Odeslat soukromou zprávu
Zobrazit příspěvky z předchozích:   
Přidat nové téma   Zaslat odpověď       Obsah fóra Diskuzní fórum Elektro Bastlírny -> Řešení problémů s různými konstrukcemi Časy uváděny v GMT + 1 hodina
Jdi na stránku 1, 2  Další
Strana 1 z 2

 
Přejdi na:  
Nemůžete odesílat nové téma do tohoto fóra.
Nemůžete odpovídat na témata v tomto fóru.
Nemůžete upravovat své příspěvky v tomto fóru.
Nemůžete mazat své příspěvky v tomto fóru.
Nemůžete hlasovat v tomto fóru.
Nemůžete připojovat soubory k příspěvkům
Můžete stahovat a prohlížet přiložené soubory

Powered by phpBB © 2001, 2005 phpBB Group
Forums ©
Nuke - Elektro Bastlirna

Informace na portálu Elektro bastlírny jsou prezentovány za účelem vzdělání čtenářů a rozšíření zájmu o elektroniku. Autoři článků na serveru neberou žádnou zodpovědnost za škody vzniklé těmito zapojeními. Rovněž neberou žádnou odpovědnost za případnou újmu na zdraví vzniklou úrazem elektrickým proudem. Autoři a správci těchto stránek nepřejímají záruku za správnost zveřejněných materiálů. Předkládané informace a zapojení jsou zveřejněny bez ohledu na případné patenty třetích osob. Nároky na odškodnění na základě změn, chyb nebo vynechání jsou zásadně vyloučeny. Všechny registrované nebo jiné obchodní známky zde použité jsou majetkem jejich vlastníků. Uvedením nejsou zpochybněna z toho vyplývající vlastnická práva. Použití konstrukcí v rozporu se zákonem je přísně zakázáno. Vzhledem k tomu, že původ předkládaných materiálů nelze žádným způsobem dohledat, nelze je použít pro komerční účely! Tento nekomerční server nemá z uvedených zapojení či konstrukcí žádný zisk. Nezodpovídáme za pravost předkládaných materiálů třetími osobami a jejich původ. V případě, že zjistíte porušení autorského práva či jiné nesrovnalosti, kontaktujte administrátory na diskuzním fóru EB.


PHP-Nuke Copyright © 2005 by Francisco Burzi. This is free software, and you may redistribute it under the GPL. PHP-Nuke comes with absolutely no warranty, for details, see the license.
Čas potřebný ke zpracování stránky 0.15 sekund