Vítejte na Elektro Bastlírn?
Nuke - Elektro Bastlirna
  Vytvořit účet Hlavní · Fórum · DDump · Profil · Zprávy · Hledat na fóru · Příspěvky na provoz EB

Vlákno na téma KORONAVIRUS - nutná registrace


Nuke - Elektro Bastlirna: Diskuzní fórum

 FAQFAQ   HledatHledat   Uživatelské skupinyUživatelské skupiny   ProfilProfil   Soukromé zprávySoukromé zprávy   PřihlášeníPřihlášení 

S: Naprogramování MC68HC908QT4
Jdi na stránku 1, 2  Další
 
Přidat nové téma   Zaslat odpověď       Obsah fóra Diskuzní fórum Elektro Bastlírny -> Poptávka služeb, nabídky zaměstnání
Zobrazit předchozí téma :: Zobrazit následující téma  
Autor Zpráva
Milan_F



Založen: Oct 03, 2005
Příspěvky: 1765
Bydliště: nedaleko Humpolce

PříspěvekZaslal: po únor 17 2025, 22:32    Předmět: S: Naprogramování MC68HC908QT4 Citovat

Hledám někoho, kdo by mi dokázal naprogramovat bootloader do MC68HC908QT4. Děkuji za nabídky.

Naposledy upravil Milan_F dne čt únor 20 2025, 16:16, celkově upraveno 1 krát.
Návrat nahoru
Zobrazit informace o autorovi Odeslat soukromou zprávu
ST78



Založen: Nov 16, 2009
Příspěvky: 116

PříspěvekZaslal: út únor 18 2025, 20:45    Předmět: Citovat

U tohoto obvodu se bootloader neprogramoval. V rámci paměti je jedna sekce ROM, která obsahuje tzv. monitor. Monitor umožňuje přes 1 pin nahrát program do paměti sériovou linkou.
Stačí mít na to vývojové prostředí, převodník na USART, krystal 9,83 MHz a v obvodu připravené HW zapojení pro start monitoru. Zkus pohledat vývojové prostředí, které bylo určeno pro Nitron (nebo tak nějak se to jmenovalo, pokud mne paměť neklame). Bylo to jednoduché, nebylo to "rozežrané" a fungovalo to...
Návrat nahoru
Zobrazit informace o autorovi Odeslat soukromou zprávu
p32



Založen: Jan 13, 2007
Příspěvky: 16542
Bydliště: Olomouc

PříspěvekZaslal: út únor 18 2025, 21:00    Předmět: Citovat

No, je to staré asi 20 let a řada MC68HC08, kde se bootloader používal.
Spíše by bylo vhodné, kdyby ses rozepsal na co to máš, tj. co to bude potom dělat. Variant je více.
Návrat nahoru
Zobrazit informace o autorovi Odeslat soukromou zprávu
Milan_F



Založen: Oct 03, 2005
Příspěvky: 1765
Bydliště: nedaleko Humpolce

PříspěvekZaslal: st únor 19 2025, 2:02    Předmět: Citovat

p32: Měřit teplotu a mluvit.

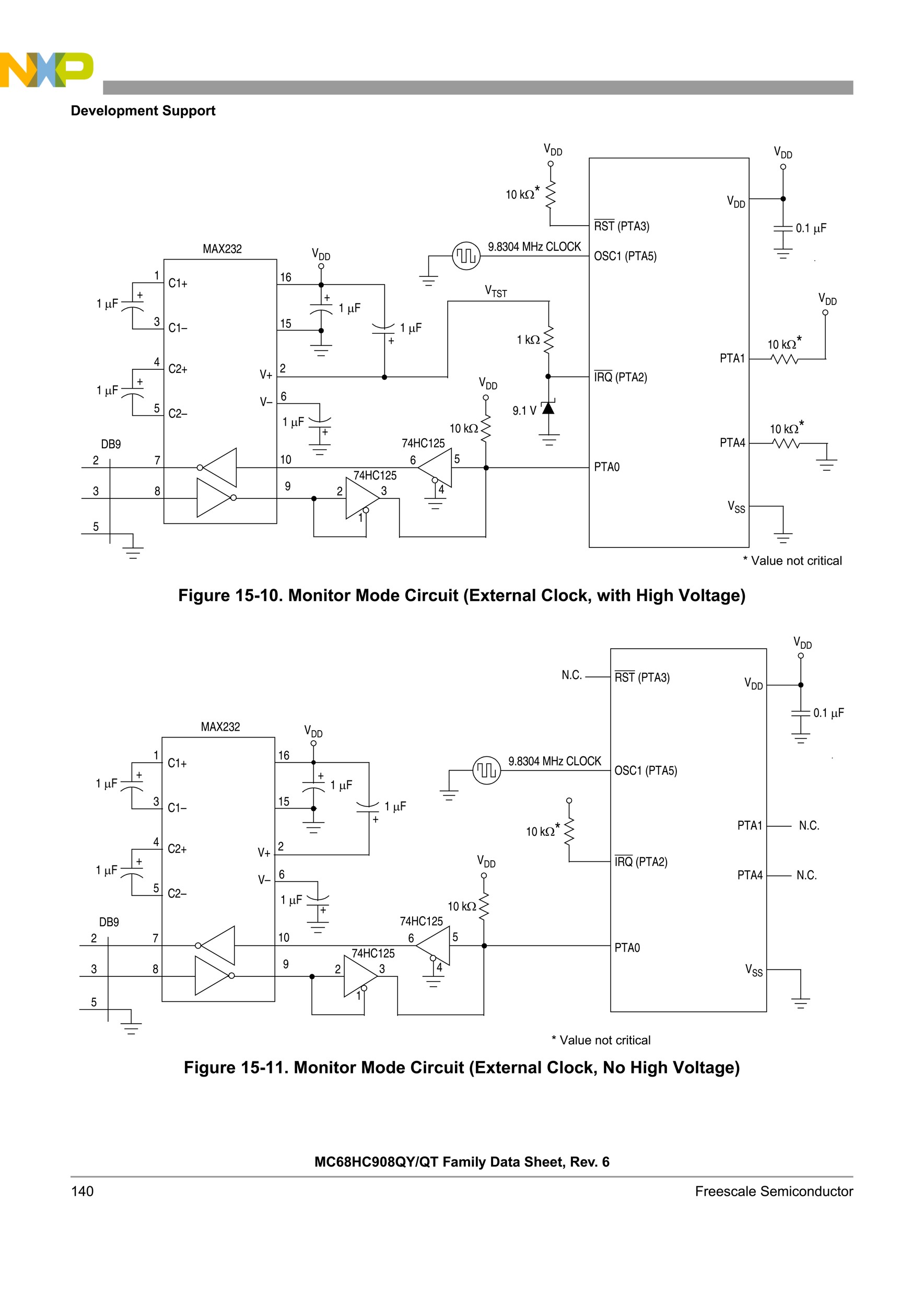
ST78: V článku v příloze se píše o bootloaderu něco jiného než tvrdíš. Dále je v něm (nebo některém předešlém) zmínka o AN2295 a schématu MON - viz příloha. Půjde to tímhle? Nebo myslíš některým z těch dalších dvou schemat?



Screenshot_8.jpg
 Komentář:
 Velikost:  41.43 kB
 Zobrazeno:  60 krát

Screenshot_8.jpg



MC68HC908QY4.jpg
 Komentář:
 Velikost:  292.7 kB
 Zobrazeno:  59 krát

MC68HC908QY4.jpg



_PE11_2005.jpg
 Komentář:
 Velikost:  198.49 kB
 Zobrazeno:  66 krát

_PE11_2005.jpg



_PE01_2006.pdf
 Komentář:

Stáhnout
 Soubor:  _PE01_2006.pdf
 Velikost:  290.31 kB
 Staženo:  62 krát

Návrat nahoru
Zobrazit informace o autorovi Odeslat soukromou zprávu
p32



Založen: Jan 13, 2007
Příspěvky: 16542
Bydliště: Olomouc

PříspěvekZaslal: st únor 19 2025, 9:21    Předmět: Citovat

Díval jsem se na ten odkaz a to ještě byla AR zajímavá a ne humus jako dnes. Je to tam docela hezky rozepsáno. To chceš jako napsat program, přeložit a nahrát pomocí bootloaderu nebo jen tam už stávající kód strčit pomocí toho bootloaderu?
Kde jsou ty programy k tomu?
Návrat nahoru
Zobrazit informace o autorovi Odeslat soukromou zprávu
Milan_F



Založen: Oct 03, 2005
Příspěvky: 1765
Bydliště: nedaleko Humpolce

PříspěvekZaslal: st únor 19 2025, 11:48    Předmět: Citovat

Programy jsou ke stažení na stránkách Amara. Ve stavebnici od Flajzara sem si asi odprásk procesor zkratem na čidle. Mám fungl novej procesor, potřebuju do něj naládovat bootloader a program. Flajzara psal, že už nemá programy a dál nekomunikuje.
Návrat nahoru
Zobrazit informace o autorovi Odeslat soukromou zprávu
p32



Založen: Jan 13, 2007
Příspěvky: 16542
Bydliště: Olomouc

PříspěvekZaslal: st únor 19 2025, 12:56    Předmět: Citovat

Aha, to mě nenapadlo. Laughing
Zajímá mě to hlavně kvůli tomu, že to dost zajímavé a kdysi jsem programoval Motoroly v assembleru, ale to už je takových 15 let minulost. Možná bych se k tomu vrátil, ale nemám moc času. Je to tak spíše po večerních hodinách, když mě nepustěj k TV. Kde bereš ty procesory?
Návrat nahoru
Zobrazit informace o autorovi Odeslat soukromou zprávu
Milan_F



Založen: Oct 03, 2005
Příspěvky: 1765
Bydliště: nedaleko Humpolce

PříspěvekZaslal: st únor 19 2025, 13:03    Předmět: Citovat

Tenhle jsem tehdy koupil u Flajzara, když ještě byly k mání. Je pěkně uleželej.😀
Návrat nahoru
Zobrazit informace o autorovi Odeslat soukromou zprávu
p32



Založen: Jan 13, 2007
Příspěvky: 16542
Bydliště: Olomouc

PříspěvekZaslal: st únor 19 2025, 13:34    Předmět: Citovat

Tak to se podívám po tom, kde to mají. Asi bych jich pár do budoucna potřeboval. Nemáš odkaz na ty soubory na amáru, abych to nemusel hledat, ale nic se nestane, když to nebude.
Návrat nahoru
Zobrazit informace o autorovi Odeslat soukromou zprávu
Milan_F



Založen: Oct 03, 2005
Příspěvky: 1765
Bydliště: nedaleko Humpolce

PříspěvekZaslal: st únor 19 2025, 13:41    Předmět: Citovat

http://www.aradio.cz/programs/mluv_tepl.zip
Návrat nahoru
Zobrazit informace o autorovi Odeslat soukromou zprávu
p32



Založen: Jan 13, 2007
Příspěvky: 16542
Bydliště: Olomouc

PříspěvekZaslal: st únor 19 2025, 15:12    Předmět: Citovat

Náhodou jsem to už našel taky, ale díky. Asi ti s tím teď nepomůžu, ale zase mám námět, že bych se do toho taky vrhnul. A přesně řečeno, nevím jak a kdy.
Návrat nahoru
Zobrazit informace o autorovi Odeslat soukromou zprávu
ST78



Založen: Nov 16, 2009
Příspěvky: 116

PříspěvekZaslal: st únor 19 2025, 18:10    Předmět: Citovat

Zkoušel jsi hledat ten "Nitron", jak jsem psal?
Např. zde:
https://vyvoj.hw.cz/soucastky/nitron-jak-na-nej.html
a pak doporučuji především dole na stránce "janus-um.pdf".
Návrat nahoru
Zobrazit informace o autorovi Odeslat soukromou zprávu
Milan_F



Založen: Oct 03, 2005
Příspěvky: 1765
Bydliště: nedaleko Humpolce

PříspěvekZaslal: čt únor 20 2025, 10:54    Předmět: Citovat

Až sem jsem se zatim neprohrabal. Dík za odkaz. Janus kit není problém splácet dohromady. Jenže soft k němu je k nenalezení. Jediné zkusit vyloudit od Pemicro.

Edit: Asi jsem ho našel... https://pe-ics08gpgtz-in-circuit-simulator.software.informer.com/1.6/


Naposledy upravil Milan_F dne po únor 24 2025, 8:16, celkově upraveno 1 krát.
Návrat nahoru
Zobrazit informace o autorovi Odeslat soukromou zprávu
p32



Založen: Jan 13, 2007
Příspěvky: 16542
Bydliště: Olomouc

PříspěvekZaslal: čt únor 20 2025, 15:38    Předmět: Citovat

Ještě jsem si všimnul jedné věci. Ty tam máš opravdu MC68HC908QY4 (13 pinů) nebo jen MC68HC908QT4 (8 pinů)?
Návrat nahoru
Zobrazit informace o autorovi Odeslat soukromou zprávu
Milan_F



Založen: Oct 03, 2005
Příspěvky: 1765
Bydliště: nedaleko Humpolce

PříspěvekZaslal: čt únor 20 2025, 16:15    Předmět: Citovat

8 pin MC68HC908QT4. Překlep opraven.


202-2791.pdf
 Komentář:
Návod od stavebnice.

Stáhnout
 Soubor:  202-2791.pdf
 Velikost:  102.61 kB
 Staženo:  69 krát



Naposledy upravil Milan_F dne čt únor 20 2025, 19:30, celkově upraveno 1 krát.
Návrat nahoru
Zobrazit informace o autorovi Odeslat soukromou zprávu
Zobrazit příspěvky z předchozích:   
Přidat nové téma   Zaslat odpověď       Obsah fóra Diskuzní fórum Elektro Bastlírny -> Poptávka služeb, nabídky zaměstnání Časy uváděny v GMT + 1 hodina
Jdi na stránku 1, 2  Další
Strana 1 z 2

 
Přejdi na:  
Nemůžete odesílat nové téma do tohoto fóra.
Nemůžete odpovídat na témata v tomto fóru.
Nemůžete upravovat své příspěvky v tomto fóru.
Nemůžete mazat své příspěvky v tomto fóru.
Nemůžete hlasovat v tomto fóru.
Nemůžete připojovat soubory k příspěvkům
Můžete stahovat a prohlížet přiložené soubory

Powered by phpBB © 2001, 2005 phpBB Group
Forums ©
Nuke - Elektro Bastlirna

Informace na portálu Elektro bastlírny jsou prezentovány za účelem vzdělání čtenářů a rozšíření zájmu o elektroniku. Autoři článků na serveru neberou žádnou zodpovědnost za škody vzniklé těmito zapojeními. Rovněž neberou žádnou odpovědnost za případnou újmu na zdraví vzniklou úrazem elektrickým proudem. Autoři a správci těchto stránek nepřejímají záruku za správnost zveřejněných materiálů. Předkládané informace a zapojení jsou zveřejněny bez ohledu na případné patenty třetích osob. Nároky na odškodnění na základě změn, chyb nebo vynechání jsou zásadně vyloučeny. Všechny registrované nebo jiné obchodní známky zde použité jsou majetkem jejich vlastníků. Uvedením nejsou zpochybněna z toho vyplývající vlastnická práva. Použití konstrukcí v rozporu se zákonem je přísně zakázáno. Vzhledem k tomu, že původ předkládaných materiálů nelze žádným způsobem dohledat, nelze je použít pro komerční účely! Tento nekomerční server nemá z uvedených zapojení či konstrukcí žádný zisk. Nezodpovídáme za pravost předkládaných materiálů třetími osobami a jejich původ. V případě, že zjistíte porušení autorského práva či jiné nesrovnalosti, kontaktujte administrátory na diskuzním fóru EB.


PHP-Nuke Copyright © 2005 by Francisco Burzi. This is free software, and you may redistribute it under the GPL. PHP-Nuke comes with absolutely no warranty, for details, see the license.
Čas potřebný ke zpracování stránky 0.38 sekund