Vítejte na Elektro Bastlírn?
Nuke - Elektro Bastlirna
  Vytvořit účet Hlavní · Fórum · DDump · Profil · Zprávy · Hledat na fóru · Příspěvky na provoz EB

Vlákno na téma KORONAVIRUS - nutná registrace


Nuke - Elektro Bastlirna: Diskuzní fórum

 FAQFAQ   HledatHledat   Uživatelské skupinyUživatelské skupiny   ProfilProfil   Soukromé zprávySoukromé zprávy   PřihlášeníPřihlášení 

Schema pro TESLA ARN 400F

 
Přidat nové téma   Zaslat odpověď       Obsah fóra Diskuzní fórum Elektro Bastlírny -> Opravy a restaurování starých elektropřístrojů
Zobrazit předchozí téma :: Zobrazit následující téma  
Autor Zpráva
Dandy87



Založen: Feb 22, 2013
Příspěvky: 109
Bydliště: Mladá Boleslav

PříspěvekZaslal: ne leden 05 2025, 11:34    Předmět: Schema pro TESLA ARN 400F Citovat

Dobrý den, nemáte prosím někdo schema pro tento přístroj?
Návrat nahoru
Zobrazit informace o autorovi Odeslat soukromou zprávu
ferdislav



Založen: Aug 15, 2011
Příspěvky: 1253
Bydliště: Mostecko

PříspěvekZaslal: ne leden 05 2025, 12:41    Předmět: Citovat

Ahoj, nafoť to zevnitř, princip bude asi stejný jako u jiných a starší machři budou vědět co kde změřit...
Návrat nahoru
Zobrazit informace o autorovi Odeslat soukromou zprávu
PavelFF



Založen: Feb 18, 2008
Příspěvky: 5274
Bydliště: Brno

PříspěvekZaslal: ne leden 05 2025, 13:26    Předmět: Citovat

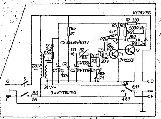
Nebude to úplně primitivní zapojení. Pro zajímavost - v AR3/1981 vyšel test staršího a slabšího stabilizátoru ARN 75. Ten uměl jenom zvýšovat při podpětí. Verze 400W umí i snížit při přepětí. Uvnitř jsou dvě relátka, zatímco v ARN 75 je jen jedno.
Možná vyšel test i 400W verze, ale to nevím.



ARN-75 schéma.jpg
 Komentář:
 Velikost:  65.75 kB
 Zobrazeno:  77 krát

ARN-75 schéma.jpg



ARN 400F.jpg
 Komentář:
 Velikost:  155.89 kB
 Zobrazeno:  86 krát

ARN 400F.jpg


Návrat nahoru
Zobrazit informace o autorovi Odeslat soukromou zprávu
Dandy87



Založen: Feb 22, 2013
Příspěvky: 109
Bydliště: Mladá Boleslav

PříspěvekZaslal: ne leden 05 2025, 14:16    Předmět: Citovat

Dík za reakce. Opravdu je to odlišné schéma od topologie. Jde mi jen o hodnoty součástek, někdy v minulosti to kdosi zapnul bez předchozí kontroly a zadoutnaly. Nejspíš popraskanej hovňák a k tomu další nahlodaný kusy. Tak nějak to do kupy dám, Confused . Nejspíš. Ale o schéma pořád stojím.
Návrat nahoru
Zobrazit informace o autorovi Odeslat soukromou zprávu
barnodaj



Založen: Apr 16, 2011
Příspěvky: 976
Bydliště: Vodňansko

PříspěvekZaslal: ne leden 05 2025, 14:32    Předmět: Citovat

Schéma v AR není, (11/87) pouze popis:


arn.png
 Komentář:
 Velikost:  282.09 kB
 Zobrazeno:  120 krát

arn.png


Návrat nahoru
Zobrazit informace o autorovi Odeslat soukromou zprávu
Dandy87



Založen: Feb 22, 2013
Příspěvky: 109
Bydliště: Mladá Boleslav

PříspěvekZaslal: ne leden 05 2025, 14:45    Předmět: Citovat

Každá informace je dobrá. Dík Agree .
Návrat nahoru
Zobrazit informace o autorovi Odeslat soukromou zprávu
PavelFF



Založen: Feb 18, 2008
Příspěvky: 5274
Bydliště: Brno

PříspěvekZaslal: ne leden 05 2025, 17:13    Předmět: Citovat

Podle hodnocení v Amaru to snad ani nemá cenu opravovat. Funkčnost je problematická a pro dnešní spotřebiče úplně zbytečná. Vlastně už v době kdy to byla novinka to byl zbytečný výrobek.
Taky je tam důvod, proč schéma asi nikde není. Máš možnost to napravit a odvodit zapojení z desky.
Návrat nahoru
Zobrazit informace o autorovi Odeslat soukromou zprávu
Dandy87



Založen: Feb 22, 2013
Příspěvky: 109
Bydliště: Mladá Boleslav

PříspěvekZaslal: ne leden 05 2025, 19:12    Předmět: Citovat

No, normálně to lidi v téhle podobě nevyužívají. Taky by mě asi taky nenapadlo to někde shánět, ale nabídlo se to jako kus po někom. Hlavním důvodem to vytáhnout bylo, že bydlím u trafa a mám tady něco kolem 250V. A to se některým spotřebičům - v mém případě hlavně žárovkám - nelíbí. Většinou už je mám na trafech.
Jinak už to funguje. Neprošlo to zátěžovým testem, ale ze 248V to dělá naprázdno 222V. Tak uvidím, třeba to uplatním. Dík za ochotu a pomoc, pomohlo to. Potlesk
Návrat nahoru
Zobrazit informace o autorovi Odeslat soukromou zprávu
jardafiala



Založen: Jun 20, 2010
Příspěvky: 2441
Bydliště: Česká Lípa

PříspěvekZaslal: út leden 07 2025, 13:32    Předmět: Citovat

Z 220V na 250V je pro některou techniku z 80 let smrtící. V zesilovačích už se občas používaly hybridní IC a napájely se mírně pod maximálními povolenými hodnotami, no a zvednutí napětí o cca 10% (stačí i míň) a špička v síti třeba od motoru výtahu a je hotovo. A sháněj do Technics SU-V570 hybridy SVIxxxx nejisté kvality od druhovýrobce za cca 1500 Kč. Já třeba doma v paneláku mám 236 - 238V. A pár mrtvých hybridů kde je třeba proražena jedna půlka. Na to by se rovna tohle spolu se síťovým filtrem mohlo hodit.
Návrat nahoru
Zobrazit informace o autorovi Odeslat soukromou zprávu Odeslat e-mail
Zobrazit příspěvky z předchozích:   
Přidat nové téma   Zaslat odpověď       Obsah fóra Diskuzní fórum Elektro Bastlírny -> Opravy a restaurování starých elektropřístrojů Časy uváděny v GMT + 1 hodina
Strana 1 z 1

 
Přejdi na:  
Nemůžete odesílat nové téma do tohoto fóra.
Nemůžete odpovídat na témata v tomto fóru.
Nemůžete upravovat své příspěvky v tomto fóru.
Nemůžete mazat své příspěvky v tomto fóru.
Nemůžete hlasovat v tomto fóru.
Nemůžete připojovat soubory k příspěvkům
Můžete stahovat a prohlížet přiložené soubory

Powered by phpBB © 2001, 2005 phpBB Group
Forums ©
Nuke - Elektro Bastlirna

Informace na portálu Elektro bastlírny jsou prezentovány za účelem vzdělání čtenářů a rozšíření zájmu o elektroniku. Autoři článků na serveru neberou žádnou zodpovědnost za škody vzniklé těmito zapojeními. Rovněž neberou žádnou odpovědnost za případnou újmu na zdraví vzniklou úrazem elektrickým proudem. Autoři a správci těchto stránek nepřejímají záruku za správnost zveřejněných materiálů. Předkládané informace a zapojení jsou zveřejněny bez ohledu na případné patenty třetích osob. Nároky na odškodnění na základě změn, chyb nebo vynechání jsou zásadně vyloučeny. Všechny registrované nebo jiné obchodní známky zde použité jsou majetkem jejich vlastníků. Uvedením nejsou zpochybněna z toho vyplývající vlastnická práva. Použití konstrukcí v rozporu se zákonem je přísně zakázáno. Vzhledem k tomu, že původ předkládaných materiálů nelze žádným způsobem dohledat, nelze je použít pro komerční účely! Tento nekomerční server nemá z uvedených zapojení či konstrukcí žádný zisk. Nezodpovídáme za pravost předkládaných materiálů třetími osobami a jejich původ. V případě, že zjistíte porušení autorského práva či jiné nesrovnalosti, kontaktujte administrátory na diskuzním fóru EB.


PHP-Nuke Copyright © 2005 by Francisco Burzi. This is free software, and you may redistribute it under the GPL. PHP-Nuke comes with absolutely no warranty, for details, see the license.
Čas potřebný ke zpracování stránky 0.50 sekund