Vítejte na Elektro Bastlírn?
Nuke - Elektro Bastlirna
  Vytvořit účet Hlavní · Fórum · DDump · Profil · Zprávy · Hledat na fóru · Příspěvky na provoz EB

Vlákno na téma KORONAVIRUS - nutná registrace


Nuke - Elektro Bastlirna: Diskuzní fórum

 FAQFAQ   HledatHledat   Uživatelské skupinyUživatelské skupiny   ProfilProfil   Soukromé zprávySoukromé zprávy   PřihlášeníPřihlášení 

Soprán 635A
Jdi na stránku Předchozí  1, 2, 3, 4, 5, 6, 7, 8  Další
 
Přidat nové téma   Zaslat odpověď       Obsah fóra Diskuzní fórum Elektro Bastlírny -> Opravy a restaurování starých elektropřístrojů
Zobrazit předchozí téma :: Zobrazit následující téma  
Autor Zpráva
EKKAR



Založen: Mar 16, 2005
Příspěvky: 34824
Bydliště: Česká Třebová, JN89FW21

PříspěvekZaslal: út prosinec 31 2024, 11:15    Předmět: Citovat

Na ty MBA810 bacha, musejí mít stejnosměrně uzemněnej vstup! Samotnej oddělovací kondík nestačí, ten sice zajistí, aby přes poťák netekla stejnosměrná složka, ale ten vstup se musí uzavřít nějakým M1 ÷ M5 odporem na společnou zem!
_________________
Nasliněný prst na svorkovnici domovního rozvaděče: Jó, paninko, máte tam ty Voltíky všecky...
A kutilmile - nelituju tě Mr. Green Mr. Green !!!
Návrat nahoru
Zobrazit informace o autorovi Odeslat soukromou zprávu Odeslat e-mail
JirkaZ



Založen: Feb 26, 2021
Příspěvky: 3731

PříspěvekZaslal: út prosinec 31 2024, 13:10    Předmět: Citovat

Celeron napsal(a):
JirkoZ, čím ty dežaví otvíráš? Mám na to DjVu Viewer a ten toho moc neumožňuje. Chtělo by to něco co umí tisknout výřezy. Zkoušel jsem to přes print screen ale nedaří se stejný měřítko těch tří plachet.
Jinak s formátem, souhlas. U nás není moc oblíbenej, nevím proč to spousta lidí považuje za ruskou sračku (asi že to rusáci dost používaj) když to je produkt americký AT&T.


Jak je snad zde známo, používám Linux, takže stručný seznam těch programů, co mám a používám na DjVu:

DjView4 (zdaleka nejlepší, umí toho spoustu)
Okular
Qpdfview

Existuje i plugin pro GIMP, nezkoušel jsem.

Obecně řečeno: pokud chceš tisknout výřezy, je nejlepší djvu nejdřív exportovat do nějakého bezeztrátového formátu v plném rozlišení (to mj. umí onen DjView4) a teprve pak si s tím nejrůznějším způsobem "hrát" třeba v GIMPu. Tím formátem ideálně je *.png.

No a naopak, pokud třeba schéma je rozděleno na více stran dokumentu a já ho chci komplet jako "plachtu", lze ke složení opět použít GIMP (strany importovat jako vrstvy, nakonec je sloučit) a k tisku pak nějaký program, co umí ten obří obrázek rozdělit na více dostupných formátů (obvykle A4 nebo A3). U mě je to PosteRazor.

Vytváření DjVu: některé možnosti jsou popsány zde. Tam uvedený DjVu Solo je pro nekomerční použití free, je fakt dobrý, má spoustu možností a nastavení a krásně běhá v Linuxu pod Wine. Tu a tam ho ještě lze různě nalézt, úmyslně neuvádím linky, protože mám po léta pocit, že právě tento sw je kýmsi (?) z internetu důsledně odstraňován...

Spousta dalších informací o DjVu je třeba i tady.

A ano, *.dvu pochází od AT&T. Podrobně o něm viz třeba odkazovaný web pro DjView4. Mimochodem Rusové nejsou nutně špatní jako lidi, špatné jsou jejich vlády a s nimi spojené další subjekty.

Jinak tady máš servisní dokumentaci pro Synkopu (vychází z 5 let starého zdejšího příspěvku).

_________________
Kdo chce, hledá způsob;
kdo ne - hledá důvod.

Ze dvou možností často volím tu třetí.


Naposledy upravil JirkaZ dne út prosinec 31 2024, 17:55, celkově upraveno 4 krát.
Návrat nahoru
Zobrazit informace o autorovi Odeslat soukromou zprávu
Hill
Administrátor


Založen: Sep 10, 2004
Příspěvky: 20922
Bydliště: Jičín, Český ráj

PříspěvekZaslal: út prosinec 31 2024, 17:11    Předmět: Citovat

Kluci, držte se tématu aspoň na Silvestra, prosím. Ať nemusím pořád promazávat.
Díky.
Návrat nahoru
Zobrazit informace o autorovi Odeslat soukromou zprávu
lubos1961



Založen: Jul 20, 2010
Příspěvky: 446
Bydliště: Nový Jičín

PříspěvekZaslal: út prosinec 31 2024, 17:54    Předmět: Citovat

Tady to máte seskládané


Alegro.png
 Komentář:
 Velikost:  287.19 kB
 Zobrazeno:  128 krát

Alegro.png


Návrat nahoru
Zobrazit informace o autorovi Odeslat soukromou zprávu
JirkaZ



Založen: Feb 26, 2021
Příspěvky: 3731

PříspěvekZaslal: út prosinec 31 2024, 18:02    Předmět: Citovat

No vidíš, pěkná práce.

Zkusíš případně heslovitě popsat svůj postup?

_________________
Kdo chce, hledá způsob;
kdo ne - hledá důvod.

Ze dvou možností často volím tu třetí.
Návrat nahoru
Zobrazit informace o autorovi Odeslat soukromou zprávu
lubos1961



Založen: Jul 20, 2010
Příspěvky: 446
Bydliště: Nový Jičín

PříspěvekZaslal: út prosinec 31 2024, 18:07    Předmět: Citovat

Ještě z toho djvu


Soprán sch.png
 Komentář:
 Velikost:  292.92 kB
 Zobrazeno:  113 krát

Soprán sch.png


Návrat nahoru
Zobrazit informace o autorovi Odeslat soukromou zprávu
lubos1961



Založen: Jul 20, 2010
Příspěvky: 446
Bydliště: Nový Jičín

PříspěvekZaslal: út prosinec 31 2024, 18:40    Předmět: Citovat

JirkaZ napsal(a):

Zkusíš případně heslovitě popsat postup?


Z PDFEdit popř SumatraPDF který umí i to djvu, kopíruji jednotlivé listy do Corel Photo Paintu, tam nejprve jednotlivé listy natočím do přesné roviny (většinou jsou různě úhlově natočeny). Poté u prvního zvětším formát papíru aby se mohly přidávat další části sestavy. Ty další části vkládám jako nové objekty. Ty se dají ještě eventuálně upravovat (zvětšovat, zmenšovat, natáčet, ořezávat) a až to do sebe sedí, se objekt sloučí s pozadím. Pokud je původní sken ve špatné kvalitě, dá se to poté ještě částečně různýma filtrama doupravit.
Návrat nahoru
Zobrazit informace o autorovi Odeslat soukromou zprávu
JirkaZ



Založen: Feb 26, 2021
Příspěvky: 3731

PříspěvekZaslal: út prosinec 31 2024, 22:19    Předmět: Citovat

No takže analogie s tím, co jsem popsal výše.

P.F. 2025

_________________
Kdo chce, hledá způsob;
kdo ne - hledá důvod.

Ze dvou možností často volím tu třetí.
Návrat nahoru
Zobrazit informace o autorovi Odeslat soukromou zprávu
Celeron



Založen: Apr 02, 2011
Příspěvky: 20140
Bydliště: Nový Bydžov

PříspěvekZaslal: st leden 01 2025, 12:00    Předmět: Citovat

Díky za poskládaný schema. Vytisknul jsem ho přibližně ve stejným měřítku co měly ty tři plachty od JirkyZ. Návaznosti sedí ale jeden problémek je. Je to těma úpravama a spojením trochu míň čitelný než původní dežaví. Takže pro rychlej přehled dobrý, ale na detaily a hodnoty je ten původní čitelnější.
_________________
Jirka

Proč mi nemůže všechno chodit hned ?!!
Návrat nahoru
Zobrazit informace o autorovi Odeslat soukromou zprávu
Celeron



Založen: Apr 02, 2011
Příspěvky: 20140
Bydliště: Nový Bydžov

PříspěvekZaslal: st leden 01 2025, 13:21    Předmět: Citovat

Chvíli jsem koukal do schematu a desky Soprána. A je tam kupa nesrovnalostí jak v číslování tak hodnot součástek. Třeba ta fyziologie navíc a taky tam je na pin4 gramce zavedený přes odpor a elyt napětí asi pro napájení předzesilovače magnetodynamiky. Ale to původní zapojení s KF520 na přizpůsobení krystalky přenosky tam zůstalo beze změny. Vypadá to na kutila. Rolling Eyes
_________________
Jirka

Proč mi nemůže všechno chodit hned ?!!
Návrat nahoru
Zobrazit informace o autorovi Odeslat soukromou zprávu
lubos1961



Založen: Jul 20, 2010
Příspěvky: 446
Bydliště: Nový Jičín

PříspěvekZaslal: čt leden 02 2025, 22:18    Předmět: Citovat

Ještě osazovák plošného spoje. Nejhorší na těchto podkladech je, že skoro nikdy nesedí soutisk plošného spoje a součástek. U tohoto jsem to také dorovnával, i když to nebylo až tak tragické. Mírně zhoršená kvalita je zapříčiněná omezenou velikostí zde vkládaných souborů, a bohužel tyto konkrétní PNG soubory již hezčeji do 300kb nedostanu.


ploš spoj 1032A.png
 Komentář:
 Velikost:  252.09 kB
 Zobrazeno:  74 krát

ploš spoj 1032A.png


Návrat nahoru
Zobrazit informace o autorovi Odeslat soukromou zprávu
masar



Založen: Dec 03, 2005
Příspěvky: 13895

PříspěvekZaslal: čt leden 02 2025, 22:28    Předmět: Citovat

I tak jsi položil laťku vysoko.
Wink
Návrat nahoru
Zobrazit informace o autorovi Odeslat soukromou zprávu Odeslat e-mail
Celeron



Založen: Apr 02, 2011
Příspěvky: 20140
Bydliště: Nový Bydžov

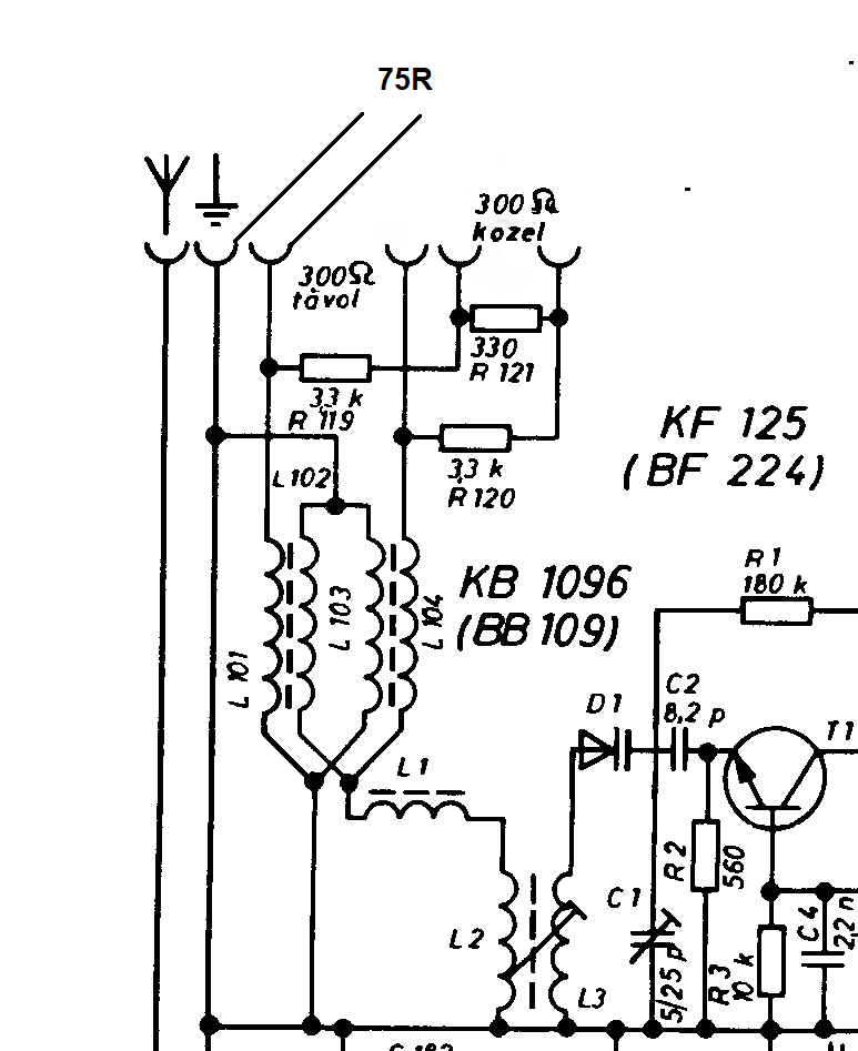
PříspěvekZaslal: čt leden 02 2025, 22:59    Předmět: Citovat

Přemejšlím, jak předělat symetrickej vstup VKV Soprána na nesymerickej. Předpokládám vyhodit konektor na "místní příjem" a místo něj osadit IEC konektor. V baráku, kde by měl Soprán hrát je v STA VKV CCIR osazený. Takže klasika účastnickej kabel jako na TV, jen otočenej o 180°. To znamená, že na rádio dát IEC samce. Je to správně? Doufám, že ho v místním antéňáckým SEPO seženu, když né, tak rozkuchám nějakej starej komponent na TV rozvod.
No a pak vyhodit feritovej symerák a živej z IEC zapojit přímo do vstupu VKV dílu. Nebo se může symetrák nechat a IEC připojit až za něj "paralelně"?
Díky.

_________________
Jirka

Proč mi nemůže všechno chodit hned ?!!
Návrat nahoru
Zobrazit informace o autorovi Odeslat soukromou zprávu
sis2



Založen: Oct 07, 2012
Příspěvky: 1462
Bydliště: JN89GF

PříspěvekZaslal: pá leden 03 2025, 8:27    Předmět: Citovat

Symetrák tam může zůstat a vstup za ním...
Návrat nahoru
Zobrazit informace o autorovi Odeslat soukromou zprávu
patrikvarga



Založen: Apr 24, 2007
Příspěvky: 1272

PříspěvekZaslal: pá leden 03 2025, 9:26    Předmět: Citovat

Takto:


75.png
 Komentář:
 Velikost:  30.73 kB
 Zobrazeno:  25 krát

75.png


Návrat nahoru
Zobrazit informace o autorovi Odeslat soukromou zprávu
Zobrazit příspěvky z předchozích:   
Přidat nové téma   Zaslat odpověď       Obsah fóra Diskuzní fórum Elektro Bastlírny -> Opravy a restaurování starých elektropřístrojů Časy uváděny v GMT + 1 hodina
Jdi na stránku Předchozí  1, 2, 3, 4, 5, 6, 7, 8  Další
Strana 2 z 8

 
Přejdi na:  
Nemůžete odesílat nové téma do tohoto fóra.
Nemůžete odpovídat na témata v tomto fóru.
Nemůžete upravovat své příspěvky v tomto fóru.
Nemůžete mazat své příspěvky v tomto fóru.
Nemůžete hlasovat v tomto fóru.
Nemůžete připojovat soubory k příspěvkům
Můžete stahovat a prohlížet přiložené soubory

Powered by phpBB © 2001, 2005 phpBB Group
Forums ©
Nuke - Elektro Bastlirna

Informace na portálu Elektro bastlírny jsou prezentovány za účelem vzdělání čtenářů a rozšíření zájmu o elektroniku. Autoři článků na serveru neberou žádnou zodpovědnost za škody vzniklé těmito zapojeními. Rovněž neberou žádnou odpovědnost za případnou újmu na zdraví vzniklou úrazem elektrickým proudem. Autoři a správci těchto stránek nepřejímají záruku za správnost zveřejněných materiálů. Předkládané informace a zapojení jsou zveřejněny bez ohledu na případné patenty třetích osob. Nároky na odškodnění na základě změn, chyb nebo vynechání jsou zásadně vyloučeny. Všechny registrované nebo jiné obchodní známky zde použité jsou majetkem jejich vlastníků. Uvedením nejsou zpochybněna z toho vyplývající vlastnická práva. Použití konstrukcí v rozporu se zákonem je přísně zakázáno. Vzhledem k tomu, že původ předkládaných materiálů nelze žádným způsobem dohledat, nelze je použít pro komerční účely! Tento nekomerční server nemá z uvedených zapojení či konstrukcí žádný zisk. Nezodpovídáme za pravost předkládaných materiálů třetími osobami a jejich původ. V případě, že zjistíte porušení autorského práva či jiné nesrovnalosti, kontaktujte administrátory na diskuzním fóru EB.


PHP-Nuke Copyright © 2005 by Francisco Burzi. This is free software, and you may redistribute it under the GPL. PHP-Nuke comes with absolutely no warranty, for details, see the license.
Čas potřebný ke zpracování stránky 0.50 sekund