Vítejte na Elektro Bastlírn?
Nuke - Elektro Bastlirna
  Vytvořit účet Hlavní · Fórum · DDump · Profil · Zprávy · Hledat na fóru · Příspěvky na provoz EB

Vlákno na téma KORONAVIRUS - nutná registrace


Nuke - Elektro Bastlirna: Diskuzní fórum

 FAQFAQ   HledatHledat   Uživatelské skupinyUživatelské skupiny   ProfilProfil   Soukromé zprávySoukromé zprávy   PřihlášeníPřihlášení 

Odsávačka pro THT-nějaké zkušenosti?
Jdi na stránku 1, 2  Další
 
Přidat nové téma   Zaslat odpověď       Obsah fóra Diskuzní fórum Elektro Bastlírny -> Dílenské vybavení, nářadí, pomůcky, přípravky
Zobrazit předchozí téma :: Zobrazit následující téma  
Autor Zpráva
ondraN



Založen: Aug 16, 2022
Příspěvky: 804
Bydliště: Roztoky

PříspěvekZaslal: po červenec 15 2024, 10:53    Předmět: Odsávačka pro THT-nějaké zkušenosti? Citovat

Ahoj,
protože poslední dobou potřebuji pro opravy měnit THT součástky z desek s prokovy, přemýšlím o pořízení odsávačky z obrázku. Máte někdo zkušenosti s tím, jak dobře odsaje tenhle typ odsávačky pájku z méně i více těsných prokovů?
Díky.



Screenshot 2024-07-15 at 11-44-21 SP-1010DR SOLDER PEAK - Odpájecí stanice Výkon stanice 140W 160÷480°C 240VAC ESD TME Czech Republic s.r.o. - Elektronické součástky.jpg
 Komentář:
 Velikost:  92 kB
 Zobrazeno:  75 krát

Screenshot 2024-07-15 at 11-44-21 SP-1010DR SOLDER PEAK - Odpájecí stanice Výkon stanice 140W 160÷480°C 240VAC ESD TME Czech Republic s.r.o. - Elektronické součástky.jpg


Návrat nahoru
Zobrazit informace o autorovi Odeslat soukromou zprávu Odeslat e-mail
jenicek



Založen: Dec 28, 2022
Příspěvky: 695
Bydliště: Krakonošovo

PříspěvekZaslal: po červenec 15 2024, 11:51    Předmět: Citovat

Ahoj, odsaje to dobře, jen to chce jistej grif.
Základ je používat kvalitní tavidlo. Pokud chceš odsávat bezolovnatej cín, tak je někdy třeba přidat klasickej cín s olovem, aby to šlo odsát. Ucpávání filtrů a vyndávání nádobky s odsátým cínem je kapitola sama pro sebe, ale jde to. Pokud to potřebuješ parkrát za tejden, tak se to dá. Pokud bys to měl mít v ruce každej den několik hodin, tak s tím praštíš o zem. Mám už asi třetí kus (doma, v práci...) a za ty peníze to ujde. Profipřístroje nepořídíš ani za desetinásobek ceny.
Návrat nahoru
Zobrazit informace o autorovi Odeslat soukromou zprávu
Milan_F



Založen: Oct 03, 2005
Příspěvky: 1765
Bydliště: nedaleko Humpolce

PříspěvekZaslal: po červenec 15 2024, 12:28    Předmět: Citovat

Jestli to finance dovolí, kup Denona. Tohle je sráč i na občasný použití. Máme to v práci, jen v jiný barvě.
Návrat nahoru
Zobrazit informace o autorovi Odeslat soukromou zprávu
Valdano



Založen: Jan 01, 2023
Příspěvky: 2803
Bydliště: Česká Lípa

PříspěvekZaslal: po červenec 15 2024, 14:58    Předmět: Citovat

Co třeba odpájecí stanice na THT HAKKO FR-400. (video)
Návrat nahoru
Zobrazit informace o autorovi Odeslat soukromou zprávu
Celeron



Založen: Apr 02, 2011
Příspěvky: 20135
Bydliště: Nový Bydžov

PříspěvekZaslal: po červenec 15 2024, 15:31    Předmět: Citovat

Než odsávačku, tak na prokovy horkovzduch vyfukovačku s jehlovou tryskou a tlakem tak 1 bar. Mám obojí a než s odsávačkou Ersa VAC40, tak radši tu home made vyfukovačkou.
_________________
Jirka

Proč mi nemůže všechno chodit hned ?!!
Návrat nahoru
Zobrazit informace o autorovi Odeslat soukromou zprávu
taz



Založen: May 16, 2007
Příspěvky: 363
Bydliště: Ostrava

PříspěvekZaslal: po červenec 15 2024, 16:37    Předmět: Citovat

Milan_F napsal(a):
Jestli to finance dovolí, kup Denona. Tohle je sráč i na občasný použití. Máme to v práci, jen v jiný barvě.

DENNON se měl, saje méně než tendle SOLDER..... Měl sem verzi , šedou z HAdexu a není to stejný jako ten SOLDER..... sice vypadaj stejně, ale stejné nejsou. Tudle černou používám už asi 6 let a je dobrá, jen se s tím musí umět, když se člověk kouká na videa, jak si to všichni pořizujou a neumí s tím dělat je k pláči....
Návrat nahoru
Zobrazit informace o autorovi Odeslat soukromou zprávu Odeslat e-mail
taz



Založen: May 16, 2007
Příspěvky: 363
Bydliště: Ostrava

PříspěvekZaslal: po červenec 15 2024, 16:38    Předmět: Citovat

Valdano napsal(a):
Co třeba odpájecí stanice na THT HAKKO FR-400. (video)

TA je super, ale úplně jiný cenový level...
Návrat nahoru
Zobrazit informace o autorovi Odeslat soukromou zprávu Odeslat e-mail
ondraN



Založen: Aug 16, 2022
Příspěvky: 804
Bydliště: Roztoky

PříspěvekZaslal: po červenec 15 2024, 16:49    Předmět: Citovat

Díky všem. Je mi jasné, že za dva tisíce to bude dost klump, ale vzhledem k omezenému použití do toho nechci nasypat moc peněz a smířim se s horším výkonem a komplikovanějším čištěním.
O ubastlení vyfukovačky jsem už taky přemýšlel, ale na těch deskách je nejprve nutné pájku odsát a pak až použít vyfukovačku, nebo bude cínový bordel všude Evil or Very Mad Ale vadné IO stejně dělám tak, že jim nejdřív amputuji nožičky a pak to už je po jedné v pohodě
Návrat nahoru
Zobrazit informace o autorovi Odeslat soukromou zprávu Odeslat e-mail
Celeron



Založen: Apr 02, 2011
Příspěvky: 20135
Bydliště: Nový Bydžov

PříspěvekZaslal: po červenec 15 2024, 16:59    Předmět: Citovat

ondraN napsal(a):

O ubastlení vyfukovačky jsem už taky přemýšlel, ale na těch deskách je nejprve nutné pájku odsát a pak až použít vyfukovačku, nebo bude cínový bordel všude Evil or Very Mad Ale vadné IO stejně dělám tak, že jim nejdřív amputuji nožičky a pak to už je po jedné v pohodě

Na to je finta jménem Silkal. Po ní se kuličky nikam nepřilepěj. Ale když taháš jednotlivý nohy, tak na to nemusíš mít žádný strojovny, na to ti stačí kloudná ruční odsávačka a mikropájka. Wink

_________________
Jirka

Proč mi nemůže všechno chodit hned ?!!
Návrat nahoru
Zobrazit informace o autorovi Odeslat soukromou zprávu
Milan_F



Založen: Oct 03, 2005
Příspěvky: 1765
Bydliště: nedaleko Humpolce

PříspěvekZaslal: út červenec 16 2024, 9:17    Předmět: Citovat

DENON saje dostatečně. Měl jsem ho několik let k dispozici a nebyl problém. Na co je nutný dát pozor, jsou lakovaný desky a tavidlo. To ucpe drahou trysku tak, že je na výměnu. Někdo ho tu prodával myslím za 5 nebo 7 litrů. Což není taková řacha proti tomu co stával novej před 25ti lety.
Návrat nahoru
Zobrazit informace o autorovi Odeslat soukromou zprávu
alxa



Založen: Aug 02, 2010
Příspěvky: 315
Bydliště: kousek od Brna

PříspěvekZaslal: út červenec 16 2024, 9:37    Předmět: Citovat

Ondra N, tu odsávačku jsem měl a byl to hrozný krám. Rušila při provozu,nedalo se při ní dělat citlivější měřeni, byla hlučná, a moc neodsávala. Ucpávala se tryska. Byl to starší typ, možná se dnes polepšili. Prodává se pod mnoha značkami. Nyní mám Quick 201B a jsem spokojen, odsává jak má, dizajn má sice trochu garážový. Tady je test pár odsávaček https://www.youtube.com/watch?v=FvOkDO-XrtU&t=2s
Návrat nahoru
Zobrazit informace o autorovi Odeslat soukromou zprávu
kokun



Založen: Jun 21, 2008
Příspěvky: 9173
Bydliště: Valachy

PříspěvekZaslal: út červenec 16 2024, 10:15    Předmět: Citovat

A třeba SC 7000Z DEN-ON s profukem znáš?
Končím s činností, mohu poskytnout (zachovalou).



sc7000z-odsavacka-s-profukem.jpg
 Komentář:
SC 7000Z DEN-ON odsávačka s profukem
 Velikost:  18.05 kB
 Zobrazeno:  66 krát

sc7000z-odsavacka-s-profukem.jpg



_________________
Honza - kokúň
__________________________
Žádný učený z nebe nespadl, ale pitomce jako by shazovali
Návrat nahoru
Zobrazit informace o autorovi Odeslat soukromou zprávu Odeslat e-mail
AdamVarga



Založen: Nov 04, 2018
Příspěvky: 473

PříspěvekZaslal: út červenec 16 2024, 17:24    Předmět: Citovat

Hlavne nie Wellera jo Very Happy

Tieto spotrebkové odsávače sú na dve veci. Pre domáce účely nahovno lebo nedokáže to nič urobiť s vrabčákom, a na plošáky je to moc necitlivé a sací výkon stojí tak za dve hovná a na prekované plošáky odsať maximum a teplovzduška. Tá HAKO stanica je super, mal som ju skúšanú funguje parádne krásne. Aj obdoby HAKO 701 474 470 sú super.

Ja vlastním aktuálne Weller DS80 rukovať a je to naj tragickejšia vec na svete. Ergonómia používania je oukej na plošáky aj do vrabčáku sa s ním dostať lahko, ale každý jeho spotrebný komponent je extrémne drahý.

V originále so stanicou k tomu stanica saje akceptovatelne ale slabo, čistiť pri starom cíne treba strašne často, hrot sa rád upcháva a velakrát neostane nič iné ako z neho bordel odvrtať..je to proste tragédia odsávačky, ale na mikro elektriku, s vlastným odsávacím motorom, aj prekované diery jemne a dokonale odsaje, toto je odsávačka na drobnosti, citlivé veci.
Návrat nahoru
Zobrazit informace o autorovi Odeslat soukromou zprávu
ondraN



Založen: Aug 16, 2022
Příspěvky: 804
Bydliště: Roztoky

PříspěvekZaslal: út červenec 16 2024, 19:05    Předmět: Citovat

Díky všem. Už jsem se dohodl s předchozím přispěvatelem na koupi použitého DEN-ONa za rozumnou cenu, takže se nebudu muset rozčilovat s laciným klumpem Very Happy
Návrat nahoru
Zobrazit informace o autorovi Odeslat soukromou zprávu Odeslat e-mail
Milan_F



Založen: Oct 03, 2005
Příspěvky: 1765
Bydliště: nedaleko Humpolce

PříspěvekZaslal: út červenec 16 2024, 19:43    Předmět: Citovat

Za ty prachy luxusní věc. Uvidíš sám.
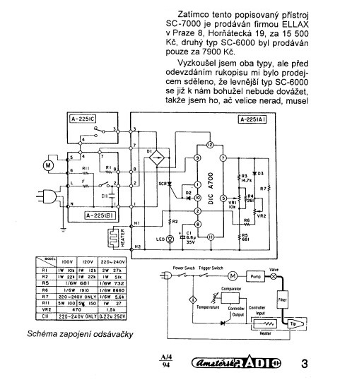
V roce 1994 se prodávala za 15,5 tisíce.



Screen_2.jpg
 Komentář:
 Velikost:  81.08 kB
 Zobrazeno:  84 krát

Screen_2.jpg


Návrat nahoru
Zobrazit informace o autorovi Odeslat soukromou zprávu
Zobrazit příspěvky z předchozích:   
Přidat nové téma   Zaslat odpověď       Obsah fóra Diskuzní fórum Elektro Bastlírny -> Dílenské vybavení, nářadí, pomůcky, přípravky Časy uváděny v GMT + 1 hodina
Jdi na stránku 1, 2  Další
Strana 1 z 2

 
Přejdi na:  
Nemůžete odesílat nové téma do tohoto fóra.
Nemůžete odpovídat na témata v tomto fóru.
Nemůžete upravovat své příspěvky v tomto fóru.
Nemůžete mazat své příspěvky v tomto fóru.
Nemůžete hlasovat v tomto fóru.
Nemůžete připojovat soubory k příspěvkům
Můžete stahovat a prohlížet přiložené soubory

Powered by phpBB © 2001, 2005 phpBB Group
Forums ©
Nuke - Elektro Bastlirna

Informace na portálu Elektro bastlírny jsou prezentovány za účelem vzdělání čtenářů a rozšíření zájmu o elektroniku. Autoři článků na serveru neberou žádnou zodpovědnost za škody vzniklé těmito zapojeními. Rovněž neberou žádnou odpovědnost za případnou újmu na zdraví vzniklou úrazem elektrickým proudem. Autoři a správci těchto stránek nepřejímají záruku za správnost zveřejněných materiálů. Předkládané informace a zapojení jsou zveřejněny bez ohledu na případné patenty třetích osob. Nároky na odškodnění na základě změn, chyb nebo vynechání jsou zásadně vyloučeny. Všechny registrované nebo jiné obchodní známky zde použité jsou majetkem jejich vlastníků. Uvedením nejsou zpochybněna z toho vyplývající vlastnická práva. Použití konstrukcí v rozporu se zákonem je přísně zakázáno. Vzhledem k tomu, že původ předkládaných materiálů nelze žádným způsobem dohledat, nelze je použít pro komerční účely! Tento nekomerční server nemá z uvedených zapojení či konstrukcí žádný zisk. Nezodpovídáme za pravost předkládaných materiálů třetími osobami a jejich původ. V případě, že zjistíte porušení autorského práva či jiné nesrovnalosti, kontaktujte administrátory na diskuzním fóru EB.


PHP-Nuke Copyright © 2005 by Francisco Burzi. This is free software, and you may redistribute it under the GPL. PHP-Nuke comes with absolutely no warranty, for details, see the license.
Čas potřebný ke zpracování stránky 0.16 sekund