Vítejte na Elektro Bastlírn?
Nuke - Elektro Bastlirna
  Vytvořit účet Hlavní · Fórum · DDump · Profil · Zprávy · Hledat na fóru · Příspěvky na provoz EB

Vlákno na téma KORONAVIRUS - nutná registrace


Nuke - Elektro Bastlirna: Diskuzní fórum

 FAQFAQ   HledatHledat   Uživatelské skupinyUživatelské skupiny   ProfilProfil   Soukromé zprávySoukromé zprávy   PřihlášeníPřihlášení 

Samokmit 5,5/6,5

 
Přidat nové téma   Zaslat odpověď       Obsah fóra Diskuzní fórum Elektro Bastlírny -> Televizory, monitory a projektory - PORADNA pro amatéry a začátečníky
Zobrazit předchozí téma :: Zobrazit následující téma  
Autor Zpráva
Celeron



Založen: Apr 02, 2011
Příspěvky: 20146
Bydliště: Nový Bydžov

PříspěvekZaslal: so srpen 05 2023, 14:39    Předmět: Samokmit 5,5/6,5 Citovat

Vážení, nemáte někdo zapojení vývodů těhle samokmitů na obrázku?
Nikde od toho nemůžu nic nalýzt. A propo, je to samokmit 1 nebo 12 MHz? Napájení kolik voltíků?
Jde to odzkoušet na stole jestli a kde kmitá, nebo potřebuje vstupní signál?
Díky!



samokmit TV.jpg
 Komentář:
 Velikost:  298.41 kB
 Zobrazeno:  131 krát

samokmit TV.jpg



_________________
Jirka

Proč mi nemůže všechno chodit hned ?!!
Návrat nahoru
Zobrazit informace o autorovi Odeslat soukromou zprávu
Hill
Administrátor


Založen: Sep 10, 2004
Příspěvky: 20926
Bydliště: Jičín, Český ráj

PříspěvekZaslal: so srpen 05 2023, 17:32    Předmět: Citovat

Schéma se nebude nijak výrazně lišit oz zapojení konvertorů osazovaných od roku asi 1966 do televizorů Tesla (podle přílohy už to dohledáš) v pohraničí, kde zprostředkovaly zvuk německých a rakouských programů. Začátkem devadesátek se jich vyrojila řada modelů (převážně z Polska, nabízel je Atol, Hadex a pár dalších, i tuzemských, ty dělal například TES - v jenom Amáru vyšla schémata celé řady, kterou TES dělal, ale nemůžu to najít).
Teto jednoduché směšovače se dávaly do ruských televizí (měly jen 6,5 MHz zvukový díl, ale "širší" OMF, než bylo potřeba pro západní normu, takže nosná zvuku na 5,5 MHz procházela prakticky nezeslabená.), aby na nich hrálo video nebo kabelovka, tam se nosná zvuku 5,5 MHz vyskytovala často. A byly převážně s oscilátorem 12 MHz, ty 1 MHz byly taky, ale způsobovaly často rušení v obrazu, dost rychle z nabídek zmizely.
V televizích dovezených ze západu moc uspokojivě nefungovaly, protože v nich byl náš zvuk 6,5 MHz nadměrně potlačený už v obrazové mezifrekvenci odlaďovačem nosné obrazu sousedního kanálu (7 MHz). V normě CCIR B byly kanály 5 -12 v rastru 7 MHz, teprve v pásmu UHF byl rastr 8 MHz v normách CCIR-G i -K. Ale ten odlaďovač 7 MHz se nepřelaďoval.


Prostě to zapoj na 12 V a na emitor tranzistoru koukni osciloskopem.



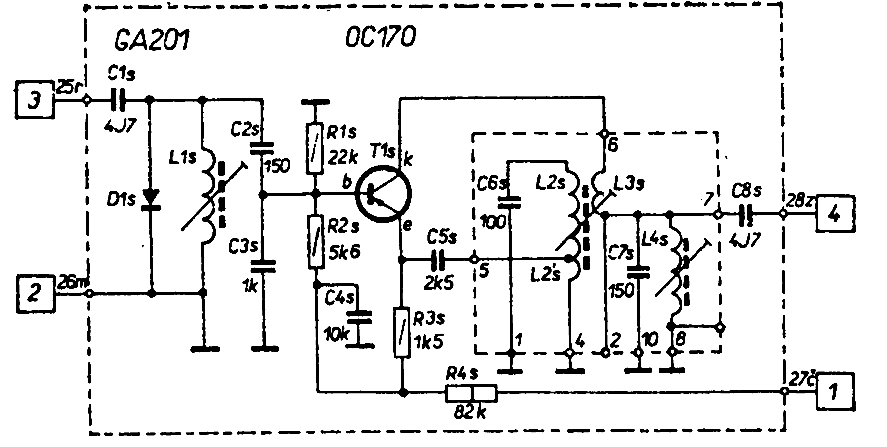
smesovac_K-G_Tesla.png
 Komentář:
Směšovač ZMF 5,5/6,5 MHz Tesla s oscilátorem 12 MHz
 Velikost:  37.07 kB
 Zobrazeno:  105 krát

smesovac_K-G_Tesla.png


Návrat nahoru
Zobrazit informace o autorovi Odeslat soukromou zprávu
sambiliong



Založen: Apr 13, 2005
Příspěvky: 720
Bydliště: Praha

PříspěvekZaslal: so srpen 05 2023, 18:23    Předmět: Citovat

Tumáš.


1.jpg
 Komentář:
 Velikost:  294.58 kB
 Zobrazeno:  111 krát

1.jpg



2.jpg
 Komentář:
 Velikost:  102.25 kB
 Zobrazeno:  136 krát

2.jpg



3.jpg
 Komentář:
 Velikost:  91.37 kB
 Zobrazeno:  121 krát

3.jpg


Návrat nahoru
Zobrazit informace o autorovi Odeslat soukromou zprávu Odeslat e-mail
Crifodo



Založen: Oct 11, 2005
Příspěvky: 15004

PříspěvekZaslal: so srpen 05 2023, 18:41    Předmět: Citovat

to je tohle?
https://www.neon-el.cz/smesovac-5.5/6.5
Návrat nahoru
Zobrazit informace o autorovi Odeslat soukromou zprávu Odeslat e-mail
sambiliong



Založen: Apr 13, 2005
Příspěvky: 720
Bydliště: Praha

PříspěvekZaslal: so srpen 05 2023, 18:49    Předmět: Citovat

Je to z Avexu VM 6465 nebo VM 6570.
Návrat nahoru
Zobrazit informace o autorovi Odeslat soukromou zprávu Odeslat e-mail
Celeron



Založen: Apr 02, 2011
Příspěvky: 20146
Bydliště: Nový Bydžov

PříspěvekZaslal: so srpen 05 2023, 21:14    Předmět: Citovat

Máš pravdu, je to na 99% z VM6570. Jeden samokmit je dokonce přidrátovanej k destičce asi 60x60 mm s TDA2546 a TDA3541. Uprostřed desky je tlumivka, na jedný straně vypájená a v sérii s ní je zapojenej vstup a výstup toho samokmitu.
Zítra zkusím, jestli jedou.
Díky všem kdo přispěli.

_________________
Jirka

Proč mi nemůže všechno chodit hned ?!!
Návrat nahoru
Zobrazit informace o autorovi Odeslat soukromou zprávu
Celeron



Založen: Apr 02, 2011
Příspěvky: 20146
Bydliště: Nový Bydžov

PříspěvekZaslal: ne srpen 06 2023, 15:17    Předmět: Citovat

Samokmity odzkoušený, všechny kmitaj těsně pod a nebo nad 1MHz. Dal jsem je mezi "uleženiny" který nemaj moc šancí, že budou ještě někdy potřeba. Ale jeden nikdy neví.
_________________
Jirka

Proč mi nemůže všechno chodit hned ?!!
Návrat nahoru
Zobrazit informace o autorovi Odeslat soukromou zprávu
monterjirka



Založen: Jun 14, 2003
Příspěvky: 2866
Bydliště: Blížejov

PříspěvekZaslal: ne srpen 06 2023, 19:32    Předmět: Citovat

oscilátor 12 MHz neměl správnou stabilitu, takže se tam dávaly krystaly, bez krystalů byly zpravidla 1MHz
Ale jak už bylo naznačeno, ty s frekvencí 1 MHz nebylo vždy jednoduché navázat do zapojení tak, aby to měl správnou účinnost pro zvuk a nerušilo to obraz
Návrat nahoru
Zobrazit informace o autorovi Odeslat soukromou zprávu Odeslat e-mail
Crifodo



Založen: Oct 11, 2005
Příspěvky: 15004

PříspěvekZaslal: po srpen 07 2023, 7:04    Předmět: Citovat

Celeron napsal(a):
Dal jsem je mezi "uleženiny"

Tenhle proces bobtná dokud je prostor k expanzi. V případě destičky s jedním tranzistorem to celkem jde. Horší je taková padesátikilová CRT televize Panasonic, funkční, s plochou pravoúhlou obrazovkou, kdysi pýcha obýváku, dneska dokonale zbytečný předmět.
Návrat nahoru
Zobrazit informace o autorovi Odeslat soukromou zprávu Odeslat e-mail
Zobrazit příspěvky z předchozích:   
Přidat nové téma   Zaslat odpověď       Obsah fóra Diskuzní fórum Elektro Bastlírny -> Televizory, monitory a projektory - PORADNA pro amatéry a začátečníky Časy uváděny v GMT + 1 hodina
Strana 1 z 1

 
Přejdi na:  
Nemůžete odesílat nové téma do tohoto fóra.
Nemůžete odpovídat na témata v tomto fóru.
Nemůžete upravovat své příspěvky v tomto fóru.
Nemůžete mazat své příspěvky v tomto fóru.
Nemůžete hlasovat v tomto fóru.
Nemůžete připojovat soubory k příspěvkům
Můžete stahovat a prohlížet přiložené soubory

Powered by phpBB © 2001, 2005 phpBB Group
Forums ©
Nuke - Elektro Bastlirna

Informace na portálu Elektro bastlírny jsou prezentovány za účelem vzdělání čtenářů a rozšíření zájmu o elektroniku. Autoři článků na serveru neberou žádnou zodpovědnost za škody vzniklé těmito zapojeními. Rovněž neberou žádnou odpovědnost za případnou újmu na zdraví vzniklou úrazem elektrickým proudem. Autoři a správci těchto stránek nepřejímají záruku za správnost zveřejněných materiálů. Předkládané informace a zapojení jsou zveřejněny bez ohledu na případné patenty třetích osob. Nároky na odškodnění na základě změn, chyb nebo vynechání jsou zásadně vyloučeny. Všechny registrované nebo jiné obchodní známky zde použité jsou majetkem jejich vlastníků. Uvedením nejsou zpochybněna z toho vyplývající vlastnická práva. Použití konstrukcí v rozporu se zákonem je přísně zakázáno. Vzhledem k tomu, že původ předkládaných materiálů nelze žádným způsobem dohledat, nelze je použít pro komerční účely! Tento nekomerční server nemá z uvedených zapojení či konstrukcí žádný zisk. Nezodpovídáme za pravost předkládaných materiálů třetími osobami a jejich původ. V případě, že zjistíte porušení autorského práva či jiné nesrovnalosti, kontaktujte administrátory na diskuzním fóru EB.


PHP-Nuke Copyright © 2005 by Francisco Burzi. This is free software, and you may redistribute it under the GPL. PHP-Nuke comes with absolutely no warranty, for details, see the license.
Čas potřebný ke zpracování stránky 0.15 sekund