Vítejte na Elektro Bastlírn?
Nuke - Elektro Bastlirna
  Vytvořit účet Hlavní · Fórum · DDump · Profil · Zprávy · Hledat na fóru · Příspěvky na provoz EB

Vlákno na téma KORONAVIRUS - nutná registrace


Nuke - Elektro Bastlirna: Diskuzní fórum

 FAQFAQ   HledatHledat   Uživatelské skupinyUživatelské skupiny   ProfilProfil   Soukromé zprávySoukromé zprávy   PřihlášeníPřihlášení 

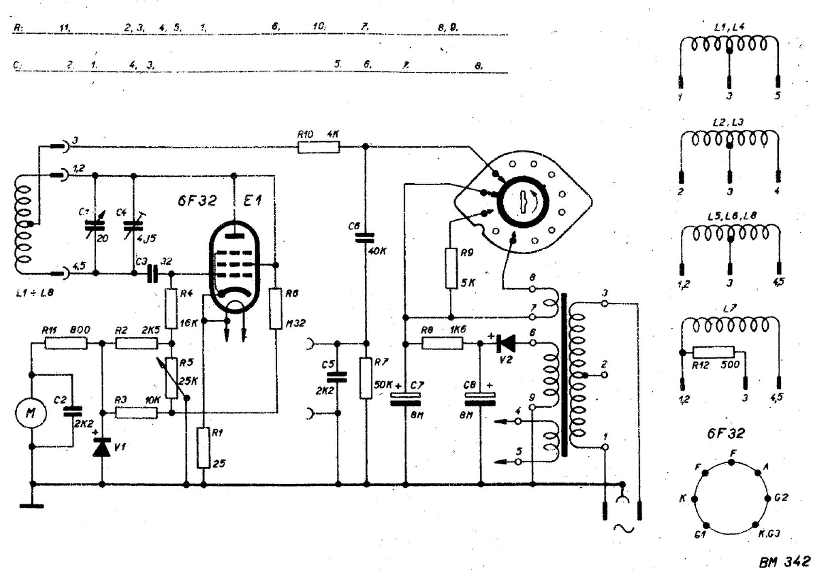
Cievky pre BM342

 
Přidat nové téma   Zaslat odpověď       Obsah fóra Diskuzní fórum Elektro Bastlírny -> Měřící přístroje, detektory fyzikálních veličin
Zobrazit předchozí téma :: Zobrazit následující téma  
Autor Zpráva
MrWifiHifi



Založen: Oct 04, 2019
Příspěvky: 64

PříspěvekZaslal: čt květen 12 2022, 10:39    Předmět: Cievky pre BM342 Citovat

Zdravím

Zháňam cievky pre tento merací prístroj, chcel by som sa opýtať či niekto nemá len samotné cievky, poprípade či sa nedajú zohnať alebo vyrobiť.
Návrat nahoru
Zobrazit informace o autorovi Odeslat soukromou zprávu
ok1hga



Založen: Nov 28, 2006
Příspěvky: 12589
Bydliště: Česká Třebová

PříspěvekZaslal: čt květen 12 2022, 16:12    Předmět: Citovat

MrWifiHifi napsal(a):
poprípade či sa nedajú zohnať alebo vyrobiť.

sehnat samostatné cívky k BM342 bude nejspíš problém,
ale vyrobit to jde.
Jen bude asi trochu složitější GDO nacejchovat, budeš si muset pořídit, nebo alespoň půjčit čítač.



BM342_schema_civky.jpg
 Komentář:
 Velikost:  168.96 kB
 Zobrazeno:  237 krát

BM342_schema_civky.jpg


Návrat nahoru
Zobrazit informace o autorovi Odeslat soukromou zprávu
kulikus



Založen: Dec 10, 2009
Příspěvky: 3099

PříspěvekZaslal: pá květen 13 2022, 7:05    Předmět: Citovat

Navrhoval jsem k tomu kostřičku pro 3D tisk. Pošli mail adresu do SZ. Příští týden se po tom podívám.
_________________
pro mládež - Hamíkův koutek
Návrat nahoru
Zobrazit informace o autorovi Odeslat soukromou zprávu Zobrazit autorovy WWW stránky
kondik2



Založen: Jan 04, 2009
Příspěvky: 4
Bydliště: Jablonec n. N.

PříspěvekZaslal: po květen 16 2022, 8:10    Předmět: Citovat

Máš SZ

Franta
Návrat nahoru
Zobrazit informace o autorovi Odeslat soukromou zprávu
Habesan



Založen: Jan 12, 2009
Příspěvky: 7329
Bydliště: Plzeňsko

PříspěvekZaslal: ne červenec 31 2022, 14:41    Předmět: Citovat

Ten konektor, kterým se připojují cívky, to je něco standartního, co se používalo i jinde, nebo je to specialita jenom pro tenhle přístroj ???
_________________
Sháním hasičák s CO2 "sněhový", raději funkční.
(Nemusí mít platnou revizi.)
(Celkově budu raději, když se to obejde bez papírů.)
Návrat nahoru
Zobrazit informace o autorovi Odeslat soukromou zprávu Zobrazit autorovy WWW stránky
ok1hga



Založen: Nov 28, 2006
Příspěvky: 12589
Bydliště: Česká Třebová

PříspěvekZaslal: ne červenec 31 2022, 17:30    Předmět: Citovat

nejspíš specialita . . .
nikde jinde jsem přesně takový neviděl . . .
. . . ale mohu se plést.
tady jsou nějaké detailní fotky i se zajímavými poznámkami . . .
https://ok2aqa.rajce.idnes.cz/Meric_rezonance_TESLA_BM342



tesla-bm342a.jpg
 Komentář:
 Velikost:  168.24 kB
 Zobrazeno:  139 krát

tesla-bm342a.jpg


Návrat nahoru
Zobrazit informace o autorovi Odeslat soukromou zprávu
Zobrazit příspěvky z předchozích:   
Přidat nové téma   Zaslat odpověď       Obsah fóra Diskuzní fórum Elektro Bastlírny -> Měřící přístroje, detektory fyzikálních veličin Časy uváděny v GMT + 1 hodina
Strana 1 z 1

 
Přejdi na:  
Nemůžete odesílat nové téma do tohoto fóra.
Nemůžete odpovídat na témata v tomto fóru.
Nemůžete upravovat své příspěvky v tomto fóru.
Nemůžete mazat své příspěvky v tomto fóru.
Nemůžete hlasovat v tomto fóru.
Nemůžete připojovat soubory k příspěvkům
Můžete stahovat a prohlížet přiložené soubory

Powered by phpBB © 2001, 2005 phpBB Group
Forums ©
Nuke - Elektro Bastlirna

Informace na portálu Elektro bastlírny jsou prezentovány za účelem vzdělání čtenářů a rozšíření zájmu o elektroniku. Autoři článků na serveru neberou žádnou zodpovědnost za škody vzniklé těmito zapojeními. Rovněž neberou žádnou odpovědnost za případnou újmu na zdraví vzniklou úrazem elektrickým proudem. Autoři a správci těchto stránek nepřejímají záruku za správnost zveřejněných materiálů. Předkládané informace a zapojení jsou zveřejněny bez ohledu na případné patenty třetích osob. Nároky na odškodnění na základě změn, chyb nebo vynechání jsou zásadně vyloučeny. Všechny registrované nebo jiné obchodní známky zde použité jsou majetkem jejich vlastníků. Uvedením nejsou zpochybněna z toho vyplývající vlastnická práva. Použití konstrukcí v rozporu se zákonem je přísně zakázáno. Vzhledem k tomu, že původ předkládaných materiálů nelze žádným způsobem dohledat, nelze je použít pro komerční účely! Tento nekomerční server nemá z uvedených zapojení či konstrukcí žádný zisk. Nezodpovídáme za pravost předkládaných materiálů třetími osobami a jejich původ. V případě, že zjistíte porušení autorského práva či jiné nesrovnalosti, kontaktujte administrátory na diskuzním fóru EB.


PHP-Nuke Copyright © 2005 by Francisco Burzi. This is free software, and you may redistribute it under the GPL. PHP-Nuke comes with absolutely no warranty, for details, see the license.
Čas potřebný ke zpracování stránky 0.15 sekund