Vítejte na Elektro Bastlírn?
Nuke - Elektro Bastlirna
  Vytvořit účet
Hlavní · Fórum · DDump · Profil · Zprávy · Hledat na fóru


Nuke - Elektro Bastlirna: Diskuzní fórum

 FAQFAQ   HledatHledat   Uživatelské skupinyUživatelské skupiny   ProfilProfil   Soukromé zprávySoukromé zprávy   PřihlášeníPřihlášení 

Zesilovač s MBA810
Jdi na stránku Předchozí  1, 2, 3
 
Přidat nové téma   Zaslat odpověď       Obsah fóra Diskuzní fórum Elektro Bastlírny -> Poradna
Zobrazit předchozí téma :: Zobrazit následující téma  
Autor Zpráva
Bastlfanda



Založen: Jul 11, 2012
Příspěvky: 301
Bydliště: za Prahó

PříspěvekZaslal: so červenec 14 2012, 7:53    Předmět: Citovat

Děkuju za popis i za link (na podobnej název souboru - podle desky - už jsem někde na fóru narazil, ale s neplatnym linkem a na downloadu jsem to nemohl najít, teď už tam toho najdu snad víc Wink ), s tim už to snad oživim ... nejde mi ani tak přímo o tenhle zesilovač, jako o (aspoň částečný) pochopení různejch obvodů a porovnání s ostatníma, mam tu ještě pár dalších (ať už s A2030V+MDA4290V nebo novější, např. z TV Grundig s 2*TDA2040 nebo ze Sony s TDA7495S - pro ně už jsem si schéma/popis zapojení/datasheety zjistil/našel) ...
Návrat nahoru
Zobrazit informace o autorovi Odeslat soukromou zprávu
weed_smoker



Založen: Dec 02, 2011
Příspěvky: 2676
Bydliště: Jaroměř

PříspěvekZaslal: ne červenec 15 2012, 16:29    Předmět: Citovat

Ten 15W modul Z s A2030 a korekcema MDA4290 tady na EB někde byl,akorát si nevzpomenu kde.Pak bylo dost modulů s TBA120 a TDA 2030(/40/50) a tam je to malinko složitější(povybírat nepotřebný součástky okolo TBA120).
Modulů s MBA810/A210K bylo dost,ale to je tak na zvonek,případně PC chrastítka k NTB.
Návrat nahoru
Zobrazit informace o autorovi Odeslat soukromou zprávu
pajap



Založen: Mar 16, 2007
Příspěvky: 238
Bydliště: Kousek od Plzně

PříspěvekZaslal: pá říjen 09 2020, 9:13    Předmět: Citovat

Škoda, že odkazy již nejsou funkční (na up-load mimo provoz)...
_________________
Zdraví Pája...
Návrat nahoru
Zobrazit informace o autorovi Odeslat soukromou zprávu Odeslat e-mail
Hill
Administrátor


Založen: Sep 10, 2004
Příspěvky: 21322
Bydliště: Jičín, Český ráj

PříspěvekZaslal: pá říjen 09 2020, 13:48    Předmět: Citovat

Myslíš modul Z do řady C416?
Ten má jen koncák a napětím řízený předzesilovač s A4290. Zvuková mezifrekvence je na stejném modulu s obrazovou.
Jinak ZMF byla na jedno desce s koncákem v C110, Mánesu, Oravanu a dalších.



modul_Z.jpg
 Komentář:
Toto je v řadě C416
 Velikost:  39.45 kB
 Zobrazeno:  164 krát

modul_Z.jpg


Návrat nahoru
Zobrazit informace o autorovi Odeslat soukromou zprávu
pajap



Založen: Mar 16, 2007
Příspěvky: 238
Bydliště: Kousek od Plzně

PříspěvekZaslal: pá říjen 09 2020, 14:42    Předmět: Citovat

Hill napsal(a):
Označení 6PB.... se týká jen holého plošňáku, na kterém mohlo být osazeno několik různých zesilovačů.
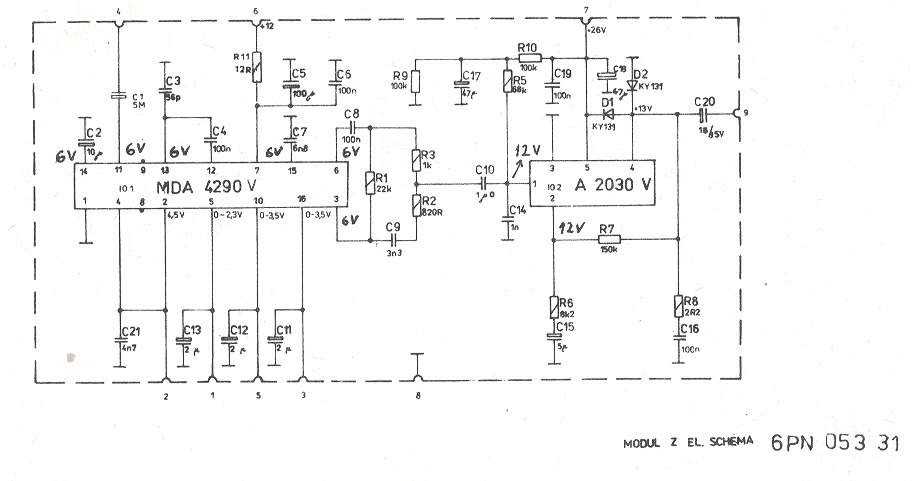
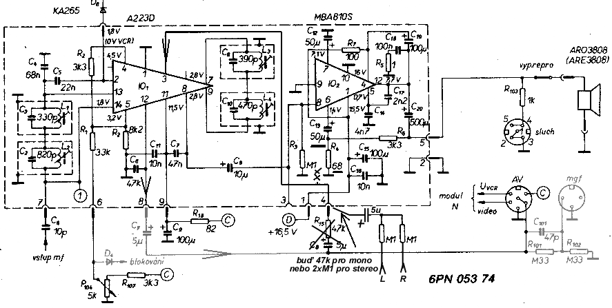
Osazený má označení třeba 6PN053 74, ten má zpětnovazební člen na desce, zatěžovací odpor vstupu taky, a jeho úprava včetně využití A223 k dálkově ovládanému řízení hlasitosti je ke stažení tady:
6PN053_31uprav.zip.
Pokud by to byla deska 6PN053 14, tak na ní RC člen chybí, stejně jako na 6PN052 87 (na té je tuším ještě A220D, bez možnosti řídit hlasitost napětím, k vyhození), tak ta úprava je tady:
6PN053 14uprav.tif

Měl jsem na mysli ty úpravy...

_________________
Zdraví Pája...
Návrat nahoru
Zobrazit informace o autorovi Odeslat soukromou zprávu Odeslat e-mail
Hill
Administrátor


Založen: Sep 10, 2004
Příspěvky: 21322
Bydliště: Jičín, Český ráj

PříspěvekZaslal: pá říjen 09 2020, 15:38    Předmět: Citovat

Jo, tak ty jsem ještě nesmazal, na záložním disku ještě byly.


6PN053 14.png
 Komentář:
 Velikost:  53.66 kB
 Zobrazeno:  240 krát

6PN053 14.png



6PN053_31upr.png
 Komentář:
 Velikost:  75.31 kB
 Zobrazeno:  211 krát

6PN053_31upr.png



6PN053 74u.png
 Komentář:
 Velikost:  52.06 kB
 Zobrazeno:  231 krát

6PN053 74u.png


Návrat nahoru
Zobrazit informace o autorovi Odeslat soukromou zprávu
pajap



Založen: Mar 16, 2007
Příspěvky: 238
Bydliště: Kousek od Plzně

PříspěvekZaslal: po říjen 12 2020, 5:59    Předmět: Citovat

To je ono, díky.
_________________
Zdraví Pája...
Návrat nahoru
Zobrazit informace o autorovi Odeslat soukromou zprávu Odeslat e-mail
Zobrazit příspěvky z předchozích:   
Přidat nové téma   Zaslat odpověď       Obsah fóra Diskuzní fórum Elektro Bastlírny -> Poradna Časy uváděny v GMT + 1 hodina
Jdi na stránku Předchozí  1, 2, 3
Strana 3 z 3

 
Přejdi na:  
Nemůžete odesílat nové téma do tohoto fóra.
Nemůžete odpovídat na témata v tomto fóru.
Nemůžete upravovat své příspěvky v tomto fóru.
Nemůžete mazat své příspěvky v tomto fóru.
Nemůžete hlasovat v tomto fóru.
Nemůžete připojovat soubory k příspěvkům
Můžete stahovat a prohlížet přiložené soubory

Powered by phpBB © 2001, 2005 phpBB Group
Forums ©
Nuke - Elektro Bastlirna

Informace na portálu Elektro bastlírny jsou prezentovány za účelem vzdělání čtenářů a rozšíření zájmu o elektroniku. Autoři článků na serveru neberou žádnou zodpovědnost za škody vzniklé těmito zapojeními. Rovněž neberou žádnou odpovědnost za případnou újmu na zdraví vzniklou úrazem elektrickým proudem. Autoři a správci těchto stránek nepřejímají záruku za správnost zveřejněných materiálů. Předkládané informace a zapojení jsou zveřejněny bez ohledu na případné patenty třetích osob. Nároky na odškodnění na základě změn, chyb nebo vynechání jsou zásadně vyloučeny. Všechny registrované nebo jiné obchodní známky zde použité jsou majetkem jejich vlastníků. Uvedením nejsou zpochybněna z toho vyplývající vlastnická práva. Použití konstrukcí v rozporu se zákonem je přísně zakázáno. Vzhledem k tomu, že původ předkládaných materiálů nelze žádným způsobem dohledat, nelze je použít pro komerční účely! Tento nekomerční server nemá z uvedených zapojení či konstrukcí žádný zisk. Nezodpovídáme za pravost předkládaných materiálů třetími osobami a jejich původ. V případě, že zjistíte porušení autorského práva či jiné nesrovnalosti, kontaktujte administrátory na diskuzním fóru EB.


PHP-Nuke Copyright © 2005 by Francisco Burzi. This is free software, and you may redistribute it under the GPL. PHP-Nuke comes with absolutely no warranty, for details, see the license.
Čas potřebný ke zpracování stránky 0.59 sekund